Качественные детали и логистика
Оригинальные и аналоговые запчасти с доставкой по России, Казахстану и Беларуси
©2022 PartSell ООО "Система" ИНН 2463123282 ОГРН 1212400004838
Центральный офис: г. Красноярск, Академика Киренского, д.87, пом.4
Телефон: 8 (800) 777-65-74 Email: zakaz@partsell.ru
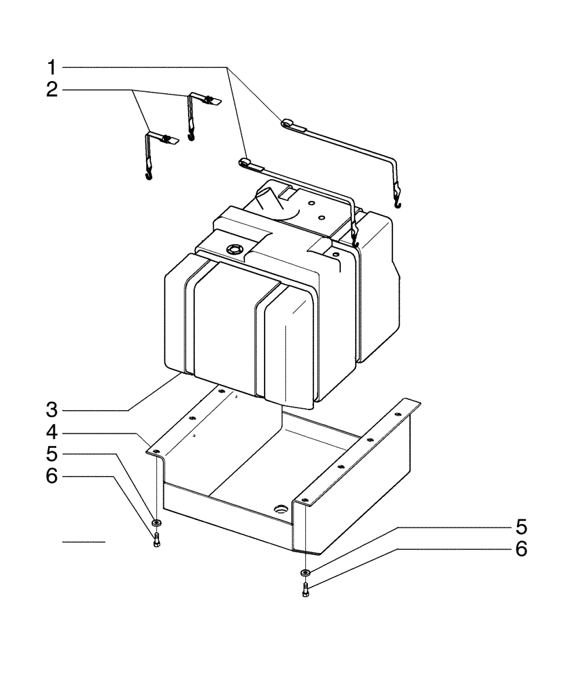
(03-03[01]) - FUEL TANK
№
Артикул
Название
Примечание
Количество
1
84275608
STRAP
2шт.
2
366905A1
SECURING STRAP
3
75249917
FUEL TANK
1шт.
4
84319542
SUPPORT
5
70930850
WASHER,0.53" ID x 1.5" OD x 0.25" Thk
8шт.
6
86637974
BOLT,Hex, M12 x 1.25 x 25mm, Cl 8.8, Full Thd
Выбрано товаров: 0