Запчасти Case 621 (6-032) - TRANSMISSION ASSEMBLY, CONTROL VALVE ASSEMBLY, PRIOR TO P.I.N. JAK0020901 (06) - POWER TRAIN

Схема запчастей Case 621 - (6-032) - TRANSMISSION ASSEMBLY, CONTROL VALVE ASSEMBLY, PRIOR TO P.I.N. JAK0020901 (06) - POWER TRAIN
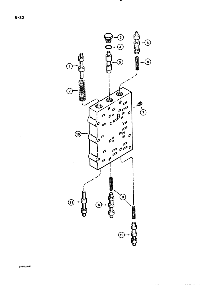
5
11
7
8
3
9
2
12
1
6
4
9
10
FIT
1:1
100%

Артикул

Название

Примечание

Количество

S300056

VALVE

ASSEMBLY - control

1шт.

1

S300082

SPOOL

- control valve, reverse

1шт.

2

S300083

SPRING

- forward and reverse spool

1шт.

S300084

PLUG

ASSEMBLY - control valve

6шт.

3

NSS

NOT SOLD SEPARAT

PLUG - special, spool stop

1шт.

4

S300062

O-RING,0.087" Thk x 0.644" ID, -908, Cl 8, 90 Duro

- plug, spool stop

1шт.

5

S300085

SPOOL

- control valve, neutral

1шт.

6

S300086

SPOOL

- control valve, first

1шт.

7

221-849

PLUG,Hex Soc, 1/8"-27

- hex socket head, 1/8" NPT

1шт.

8

S300087

SPOOL

- control valve, second speed

1шт.

9

S300088

SPRING

- spool, first, second, and fourth

3шт.

10

NSS

NOT SOLD SEPARAT

BODY - control valve

1шт.

11

S300082

SPOOL

- control valve, forward

1шт.

12

S300086

SPOOL

- control valve, third and fourth speed

1шт.

Выбрано товаров: 14