Запчасти Case 621 (8-58) - REMOTE LOADER CONTROL CIRCUIT, DUAL LEVER WITH TWO SPOOL VALVE (08) - HYDRAULICS

Схема запчастей Case 621 - (8-58) - REMOTE LOADER CONTROL CIRCUIT, DUAL LEVER WITH TWO SPOOL VALVE (08) - HYDRAULICS
12
11
1
12
9
10
13
3
6
5
7
11
6
6
15
4
11
11
14
6
4
6
5
8
2
8
9
7
7
12
7
FIT
1:1
100%

Артикул

Название

Примечание

Количество

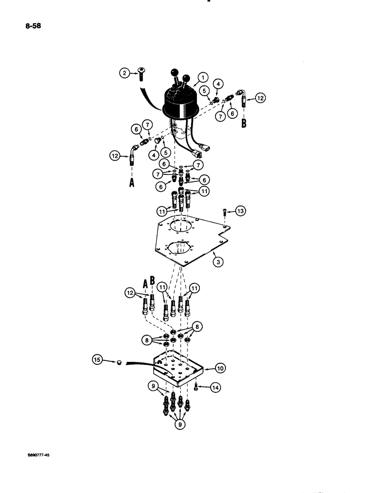
1

L118040

VALVE

ASSEMBLY - control, remote, dual lever, parts list Figure 8-80

1шт.

2

140-114

SCREW,Cross Pan Hd, 1/4" - 20 x 1"

Cross Pan Hd, 1/4"-20 NC x 1"

4шт.

3

1339947C1

LARGE PLATE

PLATE - mounting, remote control

1шт.

4

76349

PLUG,9/16" - 18 ORB

2шт.

6

218-5057

HYD CONNECTOR,9/16" - 18 JIC x 9/16" - 18 ORB

ADAPTER - straight, 9/16-18 inch flare x O-ring boss

6шт.

8

218-1254

LOCK NUT,Blkhd, 9/16"-18

NUT, LOCK, Blkhd, 9/16"-18

6шт.

9

218-673

FITTING,Blkhd, 9/16"-18, 37 Degree x 9/16"-18, 37 Degree

FIT STL BULKHD .375MJ .375MJ

6шт.

10

1339969C1

LARGE PLATE

SEPARATOR - hose, loader control

1шт.

11

1339965C1

HOSE,9.53mm ID x 419.1mm L, SAE 100R1

- 419 mm long, remote control to hose separator

4шт.

12

1339964C1

HOSE,9.53mm ID x 501.7mm L, SAE 100R1

- 502 mm long, remote control to hydraulic reservoir and pressure reducing valve

2шт.

13

43-12512

SCREW,Cross Flat Hd, 1/4"-20 x 3/4"

- machine, flat head Phillips, 1/4 NC x 3/4 inch

6шт.

14

113-4

BOLT,Hex, 1/4" - 20 x 1", Gr 5

3шт.

15

353-406

PLUG,Dome, .625" hole, Nylon

- nylon, 5/8 inch

4шт.

5

237-6006

O-RING,0.078" Thk x 0.468" ID, -906, Cl 6, 90 Duro

6-1, 90 Duro, .468" ID x .078" Thk

1шт.

7

237-6006

O-RING,0.078" Thk x 0.468" ID, -906, Cl 6, 90 Duro

6-1, 90 Duro, .468" ID x .078" Thk

1шт.

Выбрано товаров: 15