Запчасти Case 621 (9-024) - COUNTERWEIGHTS, PRIOR TO P.I.N. JAK0020901 (09) - CHASSIS/ATTACHMENTS

Схема запчастей Case 621 - (9-024) - COUNTERWEIGHTS, PRIOR TO P.I.N. JAK0020901 (09) - CHASSIS/ATTACHMENTS
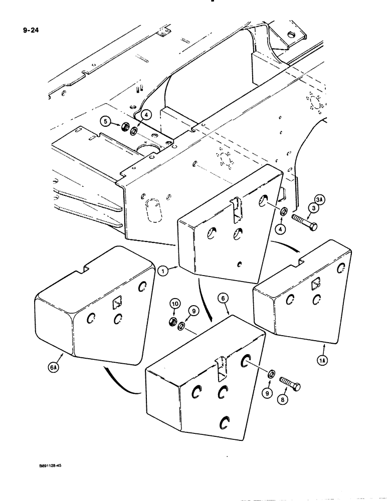
8
3a
4
5
3
9
10
1
1a
9
6a
6
4
FIT
1:1
100%

Артикул

Название

Примечание

Количество

1

L119300

WEIGHT

COUNTERWEIGHT - 500 pound, right-hand rear, no longer available, order L125468, 1000 total

1шт.

1a

L125468

BALANCER

COUNTERWEIGHT - 500 pound, right-hand rear, 1000 total

1шт.

2

L119301

WEIGHT

COUNTERWEIGHT - 500 pound, left-hand rear, not shown, no longer available, order L125469, 1000 total

1шт.

2a

L125469

BALANCER

COUNTERWEIGHT - 500 pound, left-hand rear, not shown, 1000 total

1шт.

3

113-927

BOLT,Hex, 1" - 8 x 5-1/2", Gr 5

- hex head, 1" - 8 NC x 5-1/2", plated, use with L119300 and L119301 counterweights, 1000 pound total weight

6шт.

3a

113-918

BOLT,Hex, 1" - 8 x 5", Gr 5

- hex, 1 NC x 5 inch, use with L125468 and L125469 counterweights, 1000 pound total

6шт.

4

D36505

WASHER,26.99mm ID x 47.63mm OD x 2.38mm Thk

- flat, 1", hardened, 1000 pound total weight

12шт.

5

25-1016

NUT,1"-8, G5

1000 pound total weight 1"-8, G5

6шт.

6

L119311

WEIGHT

COUNTERWEIGHT - 1000 pound, right-hand rear, no longer available, order L125466, 2000 pound total

1шт.

6a

L125466

BALANCER

COUNTERWEIGHT - 1000 pound, right-hand rear, 2000 pound total

1шт.

7

L119312

WEIGHT

COUNTERWEIGHT - 1000 pound, left-hand rear, not shown, no longer available, order L125467, 2000 total

1шт.

7a

L125467

BALANCER

COUNTERWEIGHT - 1000 pound, left-hand rear, not shown, 2000 total

1шт.

8

113-903

BOLT,Hex, 1" - 8 x 4-1/2", Gr 5

2000 pound total weight Hex, 1"-8 x 4 1/2", G5

6шт.

9

D36505

WASHER,26.99mm ID x 47.63mm OD x 2.38mm Thk

- flat, 1", hardened, 2000 pound total weight

12шт.

10

25-1016

NUT,1"-8, G5

2000 pound total weight 1"-8, G5

6шт.

Выбрано товаров: 15