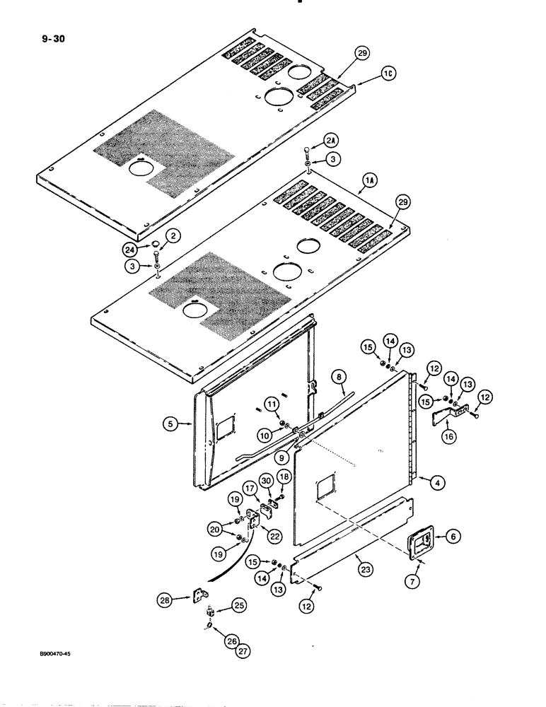
Запчасти Case 621 (9-030) - HOOD AND SIDE DOORS (09) - CHASSIS/ATTACHMENTS

Схема запчастей Case 621 - (9-030) - HOOD AND SIDE DOORS (09) - CHASSIS/ATTACHMENTS
12
30
14
15
3
17
8
15
29
29
1a
5
26
6
3
12
13
2
27
12
19
18
23
19
1c
10
25
2a
15
20
28
22
14
9
13
11
24
16
13
4
14
7
FIT
1:1
100%

Артикул

Название

Примечание

Количество

1

L126458

TOP

HOOD - engine top, without perforations, not shown, models without air conditioning, no longer available, order L128266, item 1A

1шт.

1a

L128266

TOP

HOOD - engine top, with perforations, models without air conditioning

1шт.

1b

L126460

HOOD ASSY.

HOOD - engine top, without perforations, not shown, models with air conditioning, no longer available, order L128268, item 1C

1шт.

1c

L128268

HOOD ASSY.

HOOD - engine top, with perforations, models with air conditioning, uses items 2, 3, and 24 hardware

1шт.

2

113-2262

BOLT,Hex, 3/8" - 16 x 1-1/2", Gr 5

BOLT - hex, 3/8 NC x 1-1/2 inch, full thread, models without air conditioning

2шт.

2a

113-250

BOLT,Hex, 3/8" - 16 x 2-1/2", Gr 5, Full Thd

6шт.

3

496-81003

WASHER,10.31mm ID x 26.98mm OD x 3.07mm Thk

- flat, 3/8", hardened, zinc plated

6-8шт.

4

L119260

DOOR

- hood side, right-hand

1шт.

5

L119277

DOOR

- hood side, left-hand

1шт.

6

L118999

HANDLE

RETAINER - door rod

2шт.

7

151-558

RIVET,Pop, 3/16" x .450"

- pop, 3/16" x 1/2"

8шт.

8

L118908

ROD

- door latching

2шт.

9

S95569

WASHER

- flat, hardened, special, used as a spacer

4шт.

10

D41740

WASHER

- flat, 3/8 x 1 x 1/8 inch, hardened

4шт.

11

131-218

LOCK NUT,3/8"-16, GB

NUT, LOCK, 3/8"-16, GB

4шт.

12

111-320

CARRIAGE BOLT,Short NK, 3/8"-16 x 1 1/4", G5

BOLT, CARRIAGE, Short NK, 3/8"-16 x 1 1/4", G5

16шт.

13

495-21044

WASHER,3/8"

16шт.

14

492-11038

LOCK WASHER,3/8"

16шт.

15

425-106

NUT,3/8"-16, Cl 5

16шт.

16

L126518

SUPPORT

BRACKET - door retainer

2шт.

17

L126920

LATCH

CATCH - lever, door

2шт.

18

413-624

BOLT,Hex, 3/8" - 16 x 1-1/2", Gr 5

- hex, 3/8"-16 NC x 1-1/2", zinc plated

4шт.

19

D41740

WASHER

- flat, 3/8 x 1 x 1/8 inch, hardened

8шт.

20

131-218

LOCK NUT,3/8"-16, GB

NUT, LOCK, 3/8"-16, GB

8шт.

22

L118904

SUPPORT

BRACKET - catch

2шт.

23

L119282

COVER

PANEL - lower

2шт.

24

353-413

PLUG,Dome, 1.187" hole, Nylon

- nylon, 1-3/16"

4-8шт.

25

D93753

PADLOCK

- includes keys, if used

2шт.

26

D93751

SET OF 2 KEYS

KEY - for Yale padlock only, if used

2шт.

27

R29555

KEY

- for Master padlock only, if used

2шт.

28

L126782

ANGLE BAR

BAR - lockup, door

2шт.

29

D55216

PAD,2" x 9"

PAD - non-skid, upper hood, front

8-10шт.

30

L126841

LARGE PLATE

PLATE - support, lever catch

2шт.

Выбрано товаров: 33