Запчасти Case 621 (2-26) - CYLINDER BLOCK, 6T-590 ENGINE (02) - ENGINE

Схема запчастей Case 621 - (2-26) - CYLINDER BLOCK, 6T-590 ENGINE (02) - ENGINE
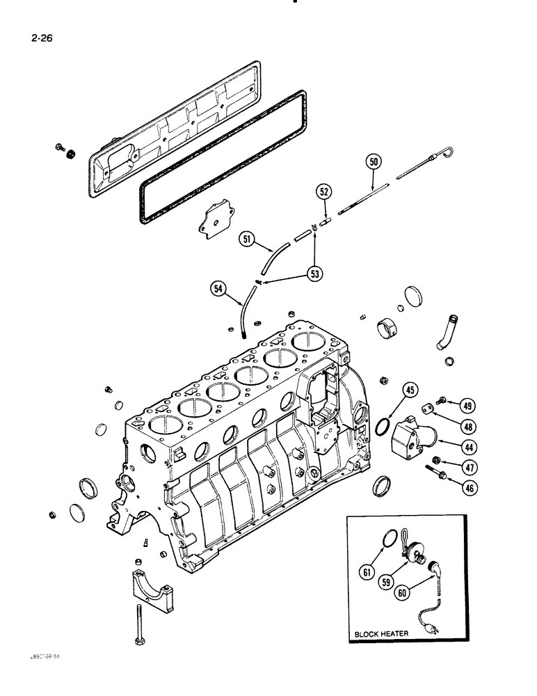
51
47
50
53
61
54
44
52
45
60
48
46
49
59
FIT
1:1
100%

Артикул

Название

Примечание

Количество

44

J903103

MANIFOLD

CONNECTION - water inlet

1шт.

45

J906697

SEAL,Square, 5.16mm Thk x 50.17mm ID

O-RING - sealing, 50 mm ID

1шт.

46

845-8060

BOLT,Hvy Hex, M8 x 60mm, Cl 8.8

- hex flange, 10 - 1.50 x 75 mm

3шт.

47

A77429

PLUG

- hex socket pipe, 1/2-14 PT

1шт.

48

J903089

SUPPORT

BRACE - alternator mounting

1шт.

49

813-8020

BOLT,Hex, M8 x 1.25 x 20mm, Cl 8.8, Full Thd

- hex, 8 mm - 1.25 x 20 mm

1шт.

50

J914923

DIPSTICK,678.8mm L

- oil

1шт.

51

J910120

TUBE

- oil dipstick

1шт.

52

J905802

FITTING,9.53 mm OD x 39 mm L

END - oil dipstick tube

1шт.

53

214-103

HOSE CLAMP,#8, 1/2", Spring

CLAMP - hose

2шт.

54

J905128

TUBE,9.52 mm OD x 153, 75.9 mm L

- oil dipstick, block

1шт.

A77634

KIT

HEATER KIT - engine block

1шт.

59

NSS

NOT SOLD SEPARAT

ELEMENT - heater (Order A77634), block

1шт.

60

J905113

CABLE

- engine block heater

1шт.

61

J910517

O-RING

- heater sealing, block

1шт.

Выбрано товаров: 15