Запчасти Case 621 (6-42) - TRANSMISSION ASSEMBLY, VALVE PLATES AND HYDRAULICS, P.I.N. JAK0027512 AND AFTER (06) - POWER TRAIN

Схема запчастей Case 621 - (6-42) - TRANSMISSION ASSEMBLY, VALVE PLATES AND HYDRAULICS, P.I.N. JAK0027512 AND AFTER (06) - POWER TRAIN
17
1
16
17
9
12
13
10
2
7
15
4
3
6
14
5
11
8
FIT
1:1
100%

Артикул

Название

Примечание

Количество

REF

INSTRUCTION

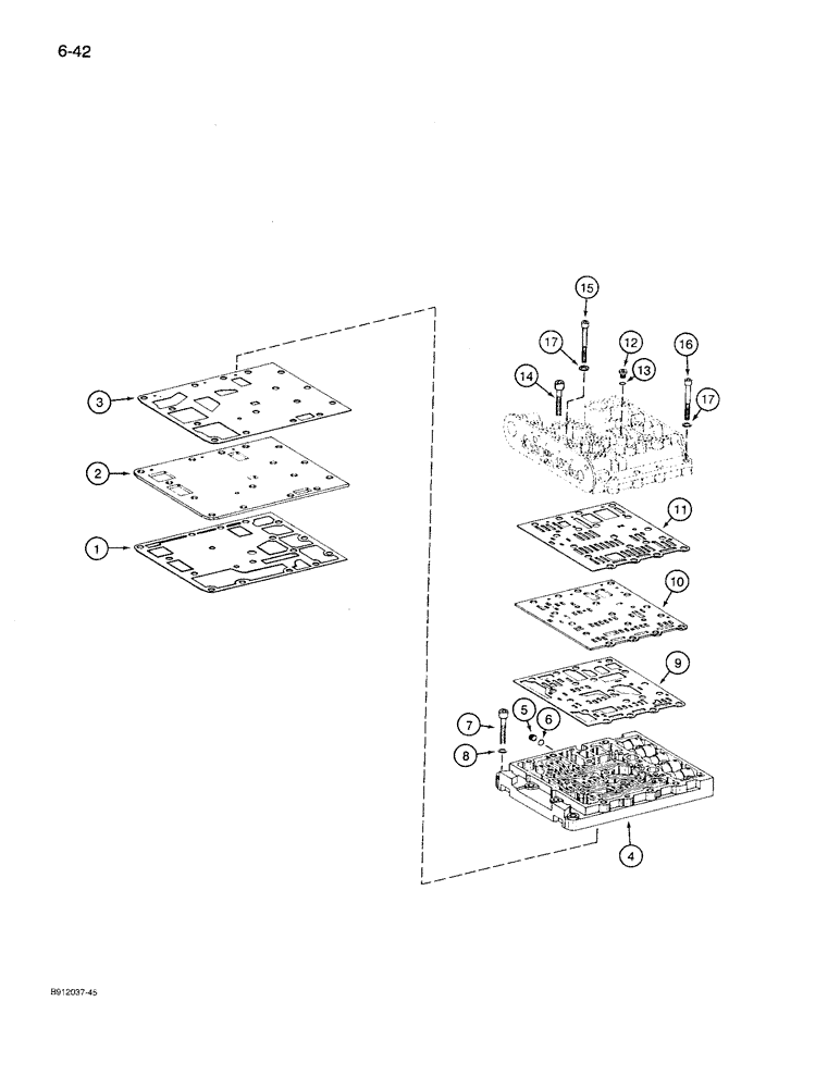
TRANSMISSION ASSEMBLY - see Figure 6-04 for correct assembly and parts list information, Includes: Ref. 1 - 17

1шт.

1

103610A1

GASKET,0.35mm Thk

- plate, at transmission housing

1шт.

2

103611A1

LARGE PLATE

PLATE - valve, transmission housing to channel plate

1шт.

3

103612A1

GASKET,0.35mm Thk

- valve plate to channel plate

1шт.

4

103613A1

LARGE PLATE

PLATE - hydraulic, Serial Range: channel,-valve

1шт.

5

A52230

PLUG

- hex socket, 10 mm - 1

1шт.

6

S300491

O-RING,8mm ID x 1.5mm Width

- plug

1шт.

7

864-8035

HEX SOC SCREW,M8 x 35mm, Cl 8.8

- hex socket, 8 - 1.25 x 35 mm, 8.8

11шт.

8

934033R1

WASHER,M8 x 15 x 2

- flat, special

11шт.

9

103614A1

GASKET

- at channel plate to valve plate

1шт.

10

103615A1

LARGE PLATE

PLATE - valve, channel plate to control valve

1шт.

11

103616A1

GASKET,0.35mm Thk

- at control valve to valve plate

1шт.

12

A52230

PLUG

- hex socket, 10 mm - 1

1шт.

13

S300491

O-RING,8mm ID x 1.5mm Width

- plug

1шт.

14

864-8035

HEX SOC SCREW,M8 x 35mm, Cl 8.8

- hex socket, 8 - 1.25 x 35 mm, 8.8

11шт.

15

100332A1

SCREW

BOLT - hex socket, 8 - 1.25 x 60 mm, special

1шт.

16

100331A1

SCREW

BOLT - hex socket, 8 - 1.25 x 65 mm, special

5шт.

17

934033R1

WASHER,M8 x 15 x 2

- flat, special

6шт.

Выбрано товаров: 18