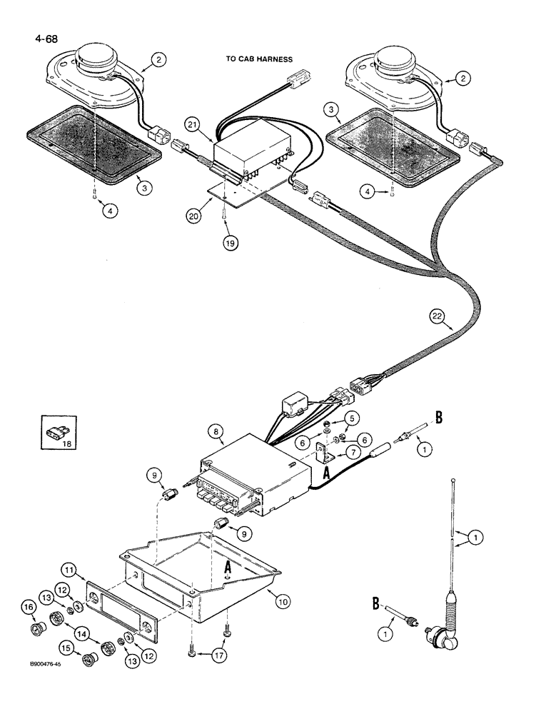
Запчасти Case 621 (4-68) - RADIO AND MOUNTING PARTS (04) - ELECTRICAL SYSTEMS

Схема запчастей Case 621 - (4-68) - RADIO AND MOUNTING PARTS (04) - ELECTRICAL SYSTEMS
8
17
6
22
12
3
21
19
10
20
1
6
1
4
14
18
4
9
9
15
13
13
5
16
1
7
2
2
11
12
3
FIT
1:1
100%

Артикул

Название

Примечание

Количество

L36340

KIT

- radio installation, Includes: Ref. 1 - 22 & instructions

1шт.

1

1983571C1

ANTENNA

- AM/FM radio

1шт.

2

245343C2

SPEAKER

- radio, 5 x 7 inch, 4 ohm

2шт.

3

245806C1

PANEL

- speaker grille

2шт.

4

179-163

SCREW,Cross Oval Hd, #10 - 24 x 1"

- machine, oval Phillips head, No. 10 NC x 1 inch

8шт.

5

425-104

NUT,1/4"-20, Cl 5

- hex, 1/4 inch NC

2шт.

6

495-21031

WASHER,1/4"

- flat, 5/16 x 47/64 x 1/16 inch

2шт.

7

1977478C1

SUPPORT

BRACKET - support, radio

1шт.

8

245160C91

RADIO

- AM/FM stereo

1шт.

9

84240C1

SPACER

- radio

2шт.

10

1339570C3

COVER

- radio

1шт.

11

84103C1

PANEL

- radio trim highlight

1шт.

12

142920C1

WASHER

- special, flat

2шт.

13

142921C1

NUT

- special, hex

2шт.

14

385532C1

KNOB

- tone and balance

2шт.

15

111382C1

KNOB

- tuning

1шт.

16

111381C1

KNOB

- volume control

1шт.

17

140-112

SCREW,Cross Pan Hd, 1/4" - 20 x 3/4"

5шт.

18

A149798

FUSE

- 5 amp

1шт.

19

187-1724

SELF-TAP SCREW,Slotted Pan Hd, #8 x 5/8"

SCREW - self-tapping, pan, Phillips, No. 8 NC x 5/8 inch

3шт.

20

1983657C1

LARGE PLATE

PLATE - mounting, converter

1шт.

21

1983628C1

TRANSFORMER

CONVERTER - 24V to 12V DC

1шт.

22

A187669

HARNESS

- radio

1шт.

Выбрано товаров: 23