Запчасти Case 721 (7-50) - BRAKE CALIPER - L127645, PRIOR TO P.I.N. JAK0022628 (07) - BRAKES

Схема запчастей Case 721 - (7-50) - BRAKE CALIPER - L127645, PRIOR TO P.I.N. JAK0022628 (07) - BRAKES
1
15
6
7
5
8
13
10
14
9
6
13
11
2
12
4
14
10
3
FIT
1:1
100%

Артикул

Название

Примечание

Количество

L127645

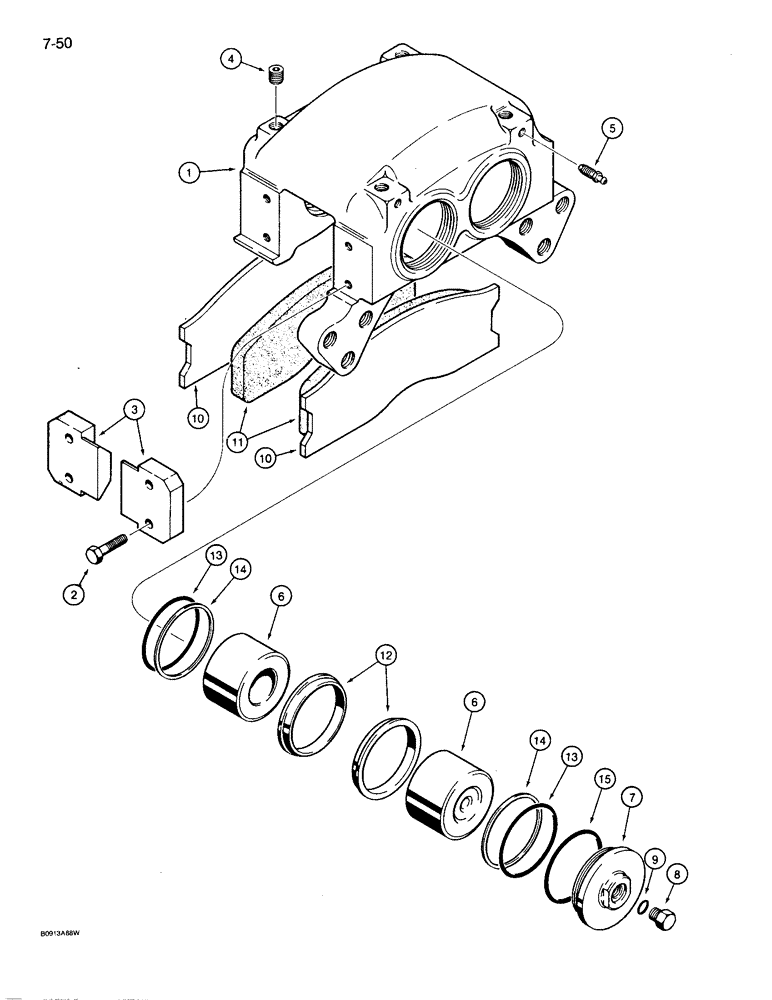
BRAKE CALIPER

CALIPER - brake, Includes: Ref. 1 - 15

4шт.

L127645R

REMAN-BRAKE ASSY.

721 Prior To P.I.N. JAK0022628

4шт.

L127645C

CORE-BRAKE ASSY.

Return Number

4шт.

1

NSS

NOT SOLD SEPARAT

BODY - caliper

1шт.

2

113-2618

BOLT,Hex, 5/8" - 11 x 1-1/2", Gr 8, Full Thd

- hex, 3/8 NC x 1/1/2 inch, Grade 2

8шт.

3

N7962

PLATE

- lining retaining

4шт.

4

221-841

PLUG

- 1/4 inch PT

4шт.

5

N7966

BLEEDER

VALVE - bleeder

2шт.

6

N7963

PISTON

- brake

4шт.

7

N7965

COVER

HEAD - piston

2шт.

8

129998

PLUG,1/2" - 20 ORB

Piston, Incl. Ref. 9 Hex Hd, 1/2"-20 ORB

2шт.

S300718

SET

KIT - brake shoe and lining, Includes: Ref. 10 and 11

1шт.

10

NSS

NOT SOLD SEPARAT

SHOE - brake

2шт.

11

NSS

NOT SOLD SEPARAT

LINING - brake

2шт.

N7964

SEAL KIT

KIT - seal, brake caliper, Includes: Ref. 12 - 15

1шт.

12

NSS

NOT SOLD SEPARAT

WIPER - piston

4шт.

13

NSS

NOT SOLD SEPARAT

O-RING - piston

4шт.

14

NSS

NOT SOLD SEPARAT

RING - backup, piston O-ring

4шт.

15

NSS

NOT SOLD SEPARAT

O-RING - head

2шт.

Title of this Figure should include (Rockwell)

1шт.

9

218-5004

O-RING,0.072" Thk x 0.414" ID, -905, Cl 6, 90 Duro

5-1, 90 Duro, .414" ID x .072" Thk, 5/16 inch OD tube

1шт.

Выбрано товаров: 21