Запчасти Case 821 (9-018) - REAR FRAME AND PIVOT (09) - CHASSIS/ATTACHMENTS

Схема запчастей Case 821 - (9-018) - REAR FRAME AND PIVOT (09) - CHASSIS/ATTACHMENTS
5
13
9
31
21
34
6
28
23
6
18
7
4
29
3
10
22
30
38
24
32
1
14
25
12
8
37
2
11
15
36
19
16
33
27
26
20
35
3
17
FIT
1:1
100%

Артикул

Название

Примечание

Количество

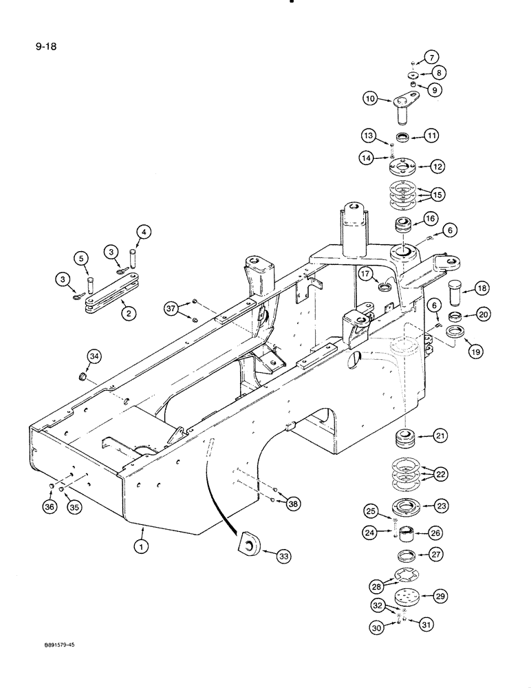
1

L125246

FRAME

- rear, includes fuel tank, Serial Range: -JAK0024165

1шт.

1a

L129971

CHASSIS

FRAME - rear, includes fuel tank, not shown, Start Serial: JAK0024165

1шт.

2

L125219

ROD

LINK - transport/service

1шт.

3

A30338

PIN

- klik

2шт.

4

L125221

LOCK PIN,31.75mm OD x 144.75mm L

PIN - lock, transport/service link, front

1шт.

5

A164277

PIN,31.75mm OD x 107.95mm L

- lock, transport/service link, rear

1шт.

6

219-55

LUBE NIPPLE,90 Degree Elbow, 1/8" - 27 NPTF

NIPPLE, LUBE, 90º, 1/8" NPT x .84" lg

2шт.

Weldment part under Ref. 6, is p/n: L125108.. 1 pc per side.

1шт.

7

413-1024

BOLT,Hex, 5/8" - 11 x 1-1/2", Gr 5

1шт.

8

D35009

WASHER

- flat, 21/32 x 2-1/2 x 11/64 inch, hardened

1шт.

9

L125100

SPACER,17.48mm ID x 31.75mm OD x 14.3mm Thk

- upper pin

1шт.

10

L125271

PIVOT PIN,63.49mm OD x 198mm L

PIN - upper pivot

1шт.

11

L125008

SEAL,63.5mm ID x 98.58mm OD x 11.89mm Thk

SEAL - upper, upper articulation plate

1шт.

12

L125225

COLLAR

RETAINER - upper pivot

1шт.

13

326-1056

BOLT,Hex, 5/8" - 11 x 3-1/2", Gr 8

BOLT, Hex, 5/8"-11 x 3 1/2", G8

4шт.

14

NLS

NO LONGER SERVICED

- flat, 21/32 x 1-5/16 x 9/64 inch, hardened

4шт.

15

L125231

SHIM,114mm ID x 195mm OD x 0.11mm Thk

- upper pivot, 0.1 mm thick

1шт.

15

L125232

SHIM,114mm ID x 195mm OD x 0.28mm Thk

- upper pivot, 0.25 mm thick

1шт.

15

L125233

SHIM,114mm ID x 195mm OD x 0.54mm Thk

- upper pivot, 0.5 mm thick

1шт.

16

L125006

BEARING ASSY,63.5mm ID x 112.71mm OD x 60.33mm W

BEARING - upper pivot

1шт.

17

L125561

SEAL,63.5mm ID x 98.58mm OD x 11.89mm Thk

- lower, upper articulation plate

1шт.

18

L125226

PIVOT PIN,96mm OD x 197mm L

PIN - lower pivot

1шт.

19

L125009

SEAL,92.08mm ID x 123.98mm OD x 15.88mm Thk

SEAL - lower, upper articulation plate

1шт.

20

L125227

SPACER

- upper, lower pivot bearing

1шт.

21

L125007

BEARING ASSY,76.2mm ID x 139.99mm OD x 73.03mm W

BEARING - lower pivot

1шт.

22

L125234

SHIM,141mm ID x 215mm OD x 0.11mm Thk

- lower pivot, 0.1 mm thick

1шт.

22

L125235

SHIM,141mm ID x 215mm OD x 0.28mm Thk

- lower pivot, 0.25 mm thick

1шт.

22

L125236

SHIM,141mm ID x 215mm OD x 0.54mm Thk

- lower pivot, 0.5 mm thick

1шт.

23

L125228

COLLAR

RETAINER - lower pivot

1шт.

24

326-1072

BOLT,Hex, 5/8" - 11 x 4-1/2", Gr 8

4шт.

25

D43266

WASHER

- flat, 21/32 x 1-5/16 x 9/64 inch, hardened

4шт.

26

L125229

SPACER,76.22mm ID x 92.16mm OD x 64.52mm L

- lower, lower pivot bearing

1шт.

27

L125562

SEAL,92.08mm ID x 123.98mm OD x 15.88mm Thk

SEAL - lower, lower pivot

1шт.

28

L125237

SHIM,100mm ID x 178mm OD x 0.11mm Thk

- lower plate, 0.1 mm thick

1шт.

28

L125238

SHIM

- lower plate, 0.25 mm thick

1шт.

28

L125239

SHIM,100mm ID x 178mm OD x 0.54mm Thk

- lower plate, 0.5 mm thick

1шт.

28

L125970

SHIM,100mm ID x 178mm OD x 1.05mm Thk

- lower plate, 1 mm thick

1шт.

29

L125230

LARGE PLATE

PLATE - lower pin

1шт.

30

326-1028

BOLT,Hex, 5/8" - 11 x 1-3/4", Gr 8

6шт.

31

326-1056

BOLT,Hex, 5/8" - 11 x 3-1/2", Gr 8

BOLT, Hex, 5/8"-11 x 3 1/2", G8

3шт.

32

NLS

NO LONGER SERVICED

- flat, 21/32 x 1-5/16 x 9/64 inch, hardened

9шт.

33

NSS

NOT SOLD SEPARAT

BRACKET - lift and tie down, welded to rear frame

2шт.

34

353-417

PLUG,Dome, 2.000" hole, Nylon

- nylon, 2 inch

1шт.

35

353-408

PLUG,Dome, .750" hole, Nylon

- nylon, 3/4 inch, models without clevis or pintle hitch assemblies

2шт.

36

353-411

PLUG,Dome, 1.000" hole, Nylon

Models without clevis or pintle hitch assemblies Dome, 1.000" hole, Nylon

2шт.

37

353-405

PLUG,Dome, .562" hole, Nylon

- nylon, 9/16 inch

2шт.

38

353-404

PLUG,Dome, .500" hole, Nylon

2шт.

Выбрано товаров: 47