Запчасти Case 821 (4-084) - RADIO AND MOUNTING PARTS (04) - ELECTRICAL SYSTEMS

Схема запчастей Case 821 - (4-084) - RADIO AND MOUNTING PARTS (04) - ELECTRICAL SYSTEMS
3
5
13
19
1
2
4
3
20
12
9
11
21
18
15
14
24
3
4
17
1
16
22
10
7
25
1
13
2
6
9
6
12
8
FIT
1:1
100%

Артикул

Название

Примечание

Количество

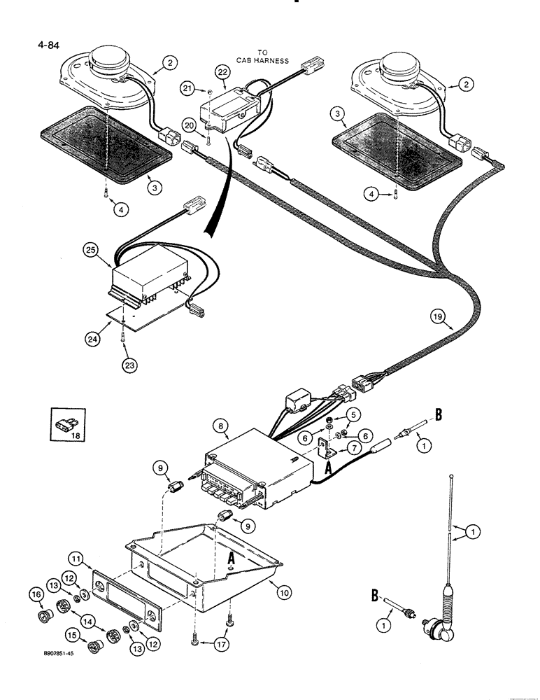
L36316

RADIO

KIT - radio installation, includes instructions, no longer used, order L36340 kit, Includes: Ref. 1 - 25

1шт.

L36340

KIT

- radio installation, includes instructions, Includes: Ref. 1 - 25

1шт.

1

97080C1

ANTENNA

- radio, L36316 kit

1шт.

1

1983571C1

ANTENNA

- radio, L36340 kit

1шт.

2

245343C2

SPEAKER

- radio

2шт.

3

245806C1

PANEL

- speaker grille

2шт.

4

179-163

SCREW,Cross Oval Hd, #10 - 24 x 1"

- machine, oval Phillips head, No. 10 NC x 1 inch

8шт.

5

425-104

NUT,1/4"-20, Cl 5

- hex, 1/4 inch NC

2шт.

6

495-21031

WASHER,1/4"

- flat, 5/16 x 47/64 x .065 inch

2шт.

7

1977478C1

SUPPORT

BRACKET - support, radio

1шт.

8

245160C91

RADIO

- AM-FM stereo

1шт.

9

84240C1

SPACER

- 3/8 x 5/8 inch x 19 mm

2шт.

10

1339570C3

COVER

- radio

1шт.

11

84103C1

PANEL

- radio trim highlight

1шт.

12

142920C1

WASHER

- flat, 3/8 x 19/32 x 1/64 inch

2шт.

13

142921C1

NUT

- hex, 3/8 inch - 32

2шт.

14

385532C1

KNOB

- tone and balance

2шт.

15

111382C1

KNOB

- tuning

1шт.

16

111381C1

KNOB

- volume control

1шт.

17

140-112

SCREW,Cross Pan Hd, 1/4" - 20 x 3/4"

5шт.

18

A149798

FUSE

- 5 ampere (Tan)

1шт.

19

A187669

HARNESS

- radio

1шт.

20

171-212

SCREW,Sl Flat Hd, #10 - 24 x 5/8"

- machine, flat head slotted, No. 10 NC x 5/8 inch, if used

2шт.

21

129-17

NUT,Hex, #10 - 24

NUT - hex, No. 10 NC, if used

2шт.

22

A187690

TRANSFORMER

CONVERTER - 24V to 12V DC, L36316 kit, no longer used, order 1983628C1 converter, 1983657C1 plate and three 187-1724 screws, Refs. 23 - 25

1шт.

23

187-1724

SELF-TAP SCREW,Slotted Pan Hd, #8 x 5/8"

SCREW - self-tapping, slotted, No. 8 NC x 5/8 inch, if used

3шт.

24

1983657C1

LARGE PLATE

PLATE - mounting, 1983628C1 converter, L36340 kit, if used

1шт.

25

1983628C1

TRANSFORMER

CONVERTER - 24V to 12V DC, L36340 kit

1шт.

Выбрано товаров: 28