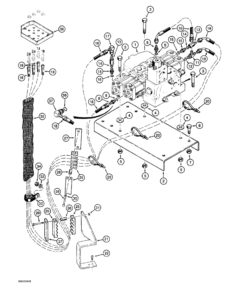
Запчасти Case 921 (8-062) - REMOTE LOADER CONTROL CIRCUIT, HOSE SEPARATOR TO TWO-SPOOL VALVE (08) - HYDRAULICS

Схема запчастей Case 921 - (8-062) - REMOTE LOADER CONTROL CIRCUIT, HOSE SEPARATOR TO TWO-SPOOL VALVE (08) - HYDRAULICS
13
21
25
37
5
2
12
34
5
8
6
7
36
19
16
4
31
35
18
38
18
18
14
29
27
18
32
22
19
11
26
28
4
9
33
3
27
20
3
8
15
13
2
16
5
20
18
25
19
14
6
20
17
9
1
30
10
3
4
15
FIT
1:1
100%

Артикул

Название

Примечание

Количество

1

L127713

VALVE

ASSY., control, two-spool, see Figure 8-020, no longer available, order 136966A1, Serial Range: -JEE0040188

1шт.

1

136966A1

VALVE

ASSY., control, two-spool, see Figure 8-032, Start Serial: JEE0040188

1шт.

2

L129610

SUPPORT

BRACKET mounting, loader control valve

1шт.

3

413-1056

BOLT,Hex, 5/8" - 11 x 3-1/2", Gr 5

3шт.

4

495-21069

WASHER,5/8"

flat, 11/16 x 1-3/4 x 1/8 inch

3шт.

5

232-14110

LOCK NUT,5/8"-11, GC

3шт.

6

413-1028

BOLT,Hex, 5/8" - 11 x 1-3/4", Gr 5

hex, 5/8 NC x 1-3/4 inch

4шт.

7

232-14110

LOCK NUT,5/8"-11, GC

4шт.

8

218-5057

HYD CONNECTOR,9/16" - 18 JIC x 9/16" - 18 ORB

If used, Incl. Ref. 9

1-2шт.

10

1339964C1

HOSE,9.53mm ID x 501.7mm L, SAE 100R1

19-7/8 inch (502 mm) long, inlet and outlet section to tee at port 1A

1шт.

11

218-5243

TEE,9/16" - 18 Male JIC x 9/16" - 18 Male JIC x 9/16" - 18 Male ORB

Includes: Ref. 12

1шт.

L110143

VALVE

check, loader lift, at ports 2A and 2B, Includes: Ref. 13 - 16

2шт.

13

NSS

NOT SOLD SEPARAT

BODY check valve

1шт.

15

218-5057

HYD CONNECTOR,9/16" - 18 JIC x 9/16" - 18 ORB

Incl. Ref. 16

1шт.

17

218-980

ELBOW,90 Degree, 9/16"-18, 37 Degree x 9/16"-18, 37 Degree Fem Sw

1шт.

18

L129590

HOSE ASSY.

114-3/16 inch (2900 mm) long, hose separator to ports 1B and 2B

2шт.

19

L129587

HOSE ASSY.

135-7/8 inch (3450 mm) long, hose separator to ports 1A and 2A

2шт.

20

L18337

CABLE TIE,9.95"-12.1" lg

CABLE STRAP tie, retaining

3шт.

21

107426A1

SUPPORT

BRACKET mounting, clamp

1шт.

22

61-45016

SCREW,1/2" - 13 x 1"

hex socket, 1/2 NC x 1 inch

2шт.

25

L124271

FIXING BRACKET

CLAMP rubber, hose retaining

4шт.

26

L126936

SPACER

34 mm long, hose clamp

4шт.

27

L124270

LARGE PLATE

PLATE, LARGE mounting, hose clamp

2шт.

28

413-640

BOLT,Hex, 3/8" - 16 x 2-1/2", Gr 5

2шт.

29

413-644

BOLT,Hex, 3/8" - 16 x 2-3/4", Gr 5

2шт.

30

492-11038

LOCK WASHER,3/8"

2шт.

31

231-1446

NUT,3/8" - 16, Gr 5

2шт.

32

S98801

CLAMP

hose

1шт.

33

495-21044

WASHER,3/8"

(flat, 7/16 x 1 x 5/64 inch)

1шт.

34

231-1446

NUT,3/8" - 16, Gr 5

1шт.

35

S120426

TUBE

GUARD hose protector

1шт.

36

1339969C1

LARGE PLATE

PLATE, LARGE SEPARATOR hose, loader control

1шт.

37

218-5105

ELBOW,90 Degree Elbow, 9/16" - 18 Male JIC x 9/16" - 18 Male ORB

90°, 9/16-18 inch flare x adj O-ring boss, if used, Includes: Ref. 38

1шт.

9

237-6006

O-RING,0.078" Thk x 0.468" ID, -906, Cl 6, 90 Duro

1шт.

12

237-6006

O-RING,0.078" Thk x 0.468" ID, -906, Cl 6, 90 Duro

1шт.

14

237-6006

O-RING,0.078" Thk x 0.468" ID, -906, Cl 6, 90 Duro

1шт.

16

237-6006

O-RING,0.078" Thk x 0.468" ID, -906, Cl 6, 90 Duro

1шт.

38

237-6006

O-RING,0.078" Thk x 0.468" ID, -906, Cl 6, 90 Duro

1шт.

Выбрано товаров: 38