Запчасти Case 921 (8-098) - RIDE CONTROL HYDRAULIC CIRCUIT, DIRECTIONAL VALVES TO MASTER VALVE AND ACCUMULATORS (08) - HYDRAULICS

Схема запчастей Case 921 - (8-098) - RIDE CONTROL HYDRAULIC CIRCUIT, DIRECTIONAL VALVES TO MASTER VALVE AND ACCUMULATORS (08) - HYDRAULICS
28
25
22
5
18
32
12
15
10
19
17
15
20
31
12
18
2
26
14
20
1
21
3
9
16
4
17
13
8
19
8
6
31
7
28
27
29
6
1
33
21
30
11
16
9
23
24
7
11
FIT
1:1
100%

Артикул

Название

Примечание

Количество

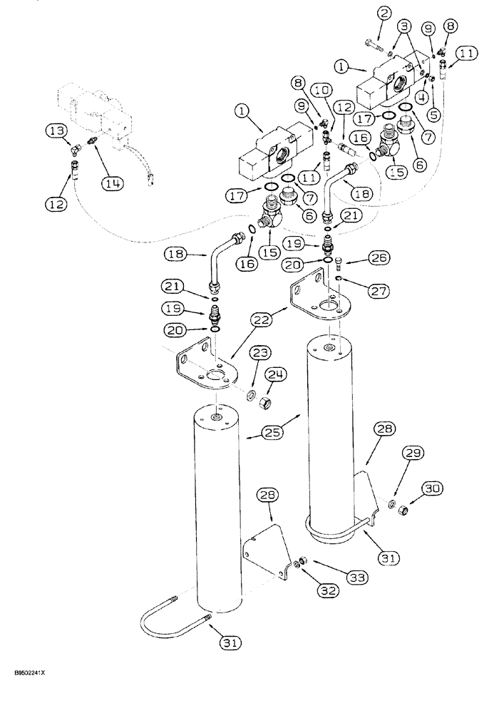
1

106488A1

VALVE

ASSY., directional control, see Figure 8-104

2шт.

2

426-640

BOLT,Hex, 3/8" - 16 x 2-1/2", Gr 8

4шт.

3

496-21041

WASHER,13/32" x 13/16" x .089", HDN

8шт.

4

492-11038

LOCK WASHER,3/8"

4шт.

5

425-106

NUT,3/8"-16, Cl 5

4шт.

6

218-5158

PLUG,Hex Hd, 1 1/16"-12 ORB

Includes: Ref. 7

2шт.

7

237-6012

O-RING,0.116" Thk x 0.924" ID, -912, Cl 6, 90 Duro

1шт.

8

218-5278

ELBOW,9/16" - 18 JIC x 7/16" - 20 ORB

Adj. O-ring boss, Incl. Ref 9

2шт.

9

237-6002

O-RING,0.064" Thk x 0.239" ID, -902, Cl 6, 90 Duro

1шт.

10

218-5222

TEE,37 Degree, 9/16"-18, x 9/16"-18, Fem Sw Run

1шт.

11

107821A1

HOSE ASSY.

23-11/16 inch (600 mm) long, directional valve to directional valve

1шт.

12

131423A1

HOSE ASSY.

36 inch (914 mm) long, rear directional valve to master valve

1шт.

13

218-980

ELBOW,90 Degree, 9/16"-18, 37 Degree x 9/16"-18, 37 Degree Fem Sw

1шт.

14

218-453

HYD CONNECTOR,9/16" - 18 Male JIC x 1/8" - 27 Male NPTF

Adapter, Straight

1шт.

15

201-307

ELBOW,90 Degree Elbow, 1-3/16" - 12 Male ORFS x 1-1/16" - 12 Male ORB

90°, 1-3/16-12 face seal x 1-1/6-12 inch adj O-ring boss, Includes: Ref. 16, 17

2шт.

16

238-6018

O-RING,0.07" Thk x 0.739" ID, -18, Cl 6, 90 Duro

Face seal end

1шт.

17

237-6012

O-RING,0.116" Thk x 0.924" ID, -912, Cl 6, 90 Duro

Boss end

1шт.

18

131906A1

TUBE,19.04 mm OD, 159, 134 mm Length

TUBE directional valve to accumulator

2шт.

19

201-141

HYD CONNECTOR,1 3/16"-12 ORFS x 3/4"-16 ORB

ADAPTER straight, 1-3/16-12 face seal x 3/4-16 inch O-ring boss, Includes: Ref. 20, 21

2шт.

20

238-6018

O-RING,0.07" Thk x 0.739" ID, -18, Cl 6, 90 Duro

Face seal end

1шт.

21

237-6008

O-RING,0.087" Thk x 0.644" ID, -908, Cl 6, 90 Duro

Boss end

1шт.

22

130133A1

SUPPORT

BRACKET mounting, accumulator, upper

2шт.

23

496-21053

WASHER,17/32" x 1 1/16" x .134"

Hardened

4шт.

24

231-1448

NUT,1/2"-13, GB

hex, self-locking, NC

4шт.

25

130354A1

ACCUMULATOR

ASSY., ride control, see Figure 8-106

2шт.

26

414-814

BOLT,Hex, 1/2" - 20 x 7/8", Gr 5

6шт.

27

80679

LOCK WASHER,1/20.507 CST ZND

6шт.

28

130134A1

SUPPORT

BRACKET mounting, accumulator, lower

2шт.

29

496-21053

WASHER,17/32" x 1 1/16" x .134"

Hardened

4шт.

30

231-1448

NUT,1/2"-13, GB

hex, self-locking, NC

4шт.

31

L128472

U-BOLT

special, accumulator mounting

2шт.

32

496-21041

WASHER,13/32" x 13/16" x .089", HDN

4шт.

33

231-1446

NUT,3/8" - 16, Gr 5

4шт.

Выбрано товаров: 33