Запчасти Case 621B (4-60) - COLD WEATHER STARTING SYSTEM (04) - ELECTRICAL SYSTEMS

Схема запчастей Case 621B - (4-60) - COLD WEATHER STARTING SYSTEM (04) - ELECTRICAL SYSTEMS
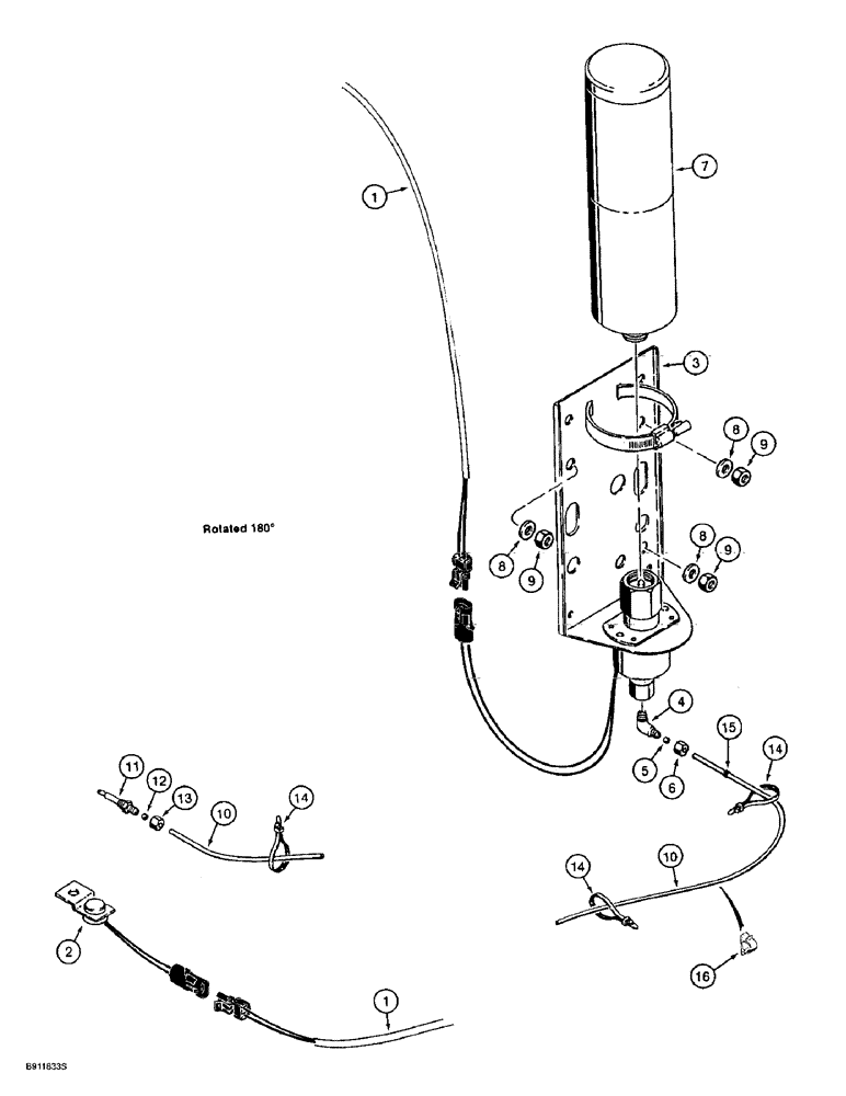
16
14
8
10
9
12
6
2
15
14
11
8
9
1
9
5
7
1
10
14
8
4
3
13
FIT
1:1
100%

Артикул

Название

Примечание

Количество

1

REF

INSTRUCTION

HARNESS, See Figure 4-28 - 4-33C For Correct Harness

1шт.

2

L126191

THERMOSTATIC SWITCH

circuit breaking, includes lead wires, use existing engine hardware

1шт.

L126094

VALVE

ASSEMBLY solenoid, Includes: Ref. 3 - 6

1шт.

3

NSS

NOT SOLD SEPARAT

Valve, components Not Serviced Separately

1шт.

222-615

ELBOW,90 Degree, 5/16"-24 x 1/8" NPT, Comp

1/8 tube OD, Incl. Ref 4 - 6

1шт.

4

NSS

NOT SOLD SEPARAT

BODY elbow

1шт.

5

222-650

SLEEVE,1/8" Tube, Comp

Tapered

1шт.

6

222-660

FLANGE NUT,5/16"-24, 45 Degree Fl, Comp

hex, 1/8" tube OD

1шт.

7

A171940

CYLINDER

starting fluid, Order 3833593A from ship direct central or obtain locally from Phillips-Temro 8200327.

1шт.

8

S95569

WASHER

flat, special, 1/2 inch

3шт.

9

231-1446

NUT,3/8" - 16, Gr 5

3шт.

10

A172361

TUBE

1829 mm (72 inch) long, cut from L60539X bulk tube, see below

1шт.

A172900

NOZZLE CAP

ASSEMBLY atomizer, Includes: Ref. 11 - 13

1шт.

11

NSS

NOT SOLD SEPARAT

BODY nozzle

1шт.

12

222-650

SLEEVE,1/8" Tube, Comp

Tapered

1шт.

13

222-660

FLANGE NUT,5/16"-24, 45 Degree Fl, Comp

hex, 1/8" tube OD

1шт.

14

L18337

CABLE TIE,9.95"-12.1" lg

CABLE STRAP tie, 15 inch, nylon

1шт.

15

L77834

GROMMET

rubber, nylon tube

1шт.

16

L100659

CLIP

tube

1шт.

L60539X

TUBE

bulk, nylon, 3 (1/8) ID x 4267 mm (168 inch) long

1шт.

Выбрано товаров: 20