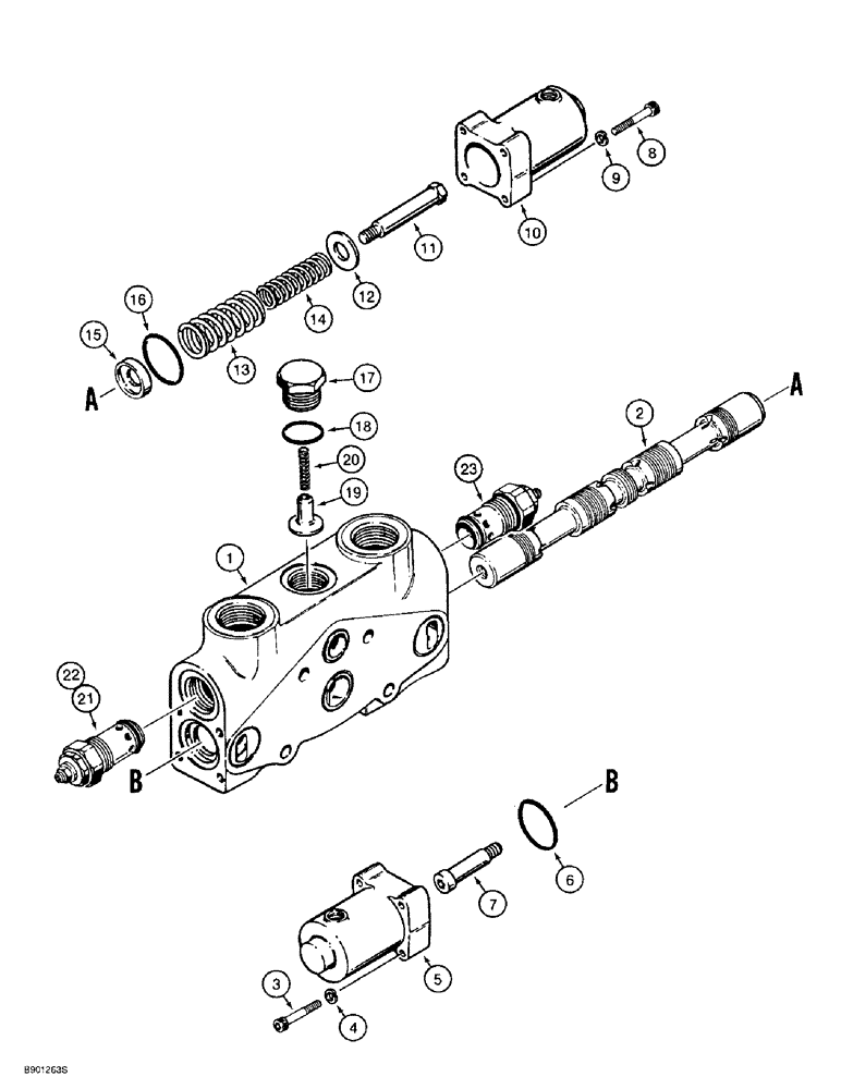
Запчасти Case 621B (8-40) - LOADER BUCKET TILT SECTION, 1978296C1 (08) - HYDRAULICS

Схема запчастей Case 621B - (8-40) - LOADER BUCKET TILT SECTION, 1978296C1 (08) - HYDRAULICS
4
15
10
16
7
1
14
11
2
5
17
6
21
22
13
19
18
23
9
20
8
12
3
FIT
1:1
100%

Артикул

Название

Примечание

Количество

1978296C1

VALVE

Section Assy, bucket tilt, Includes: Ref. 1 - 23

1шт.

1

NSS

NOT SOLD SEPARAT

HOUSING - bucket section

1шт.

2

NSS

NOT SOLD SEPARAT

SPOOL - bucket section

1шт.

190016A1

TAPPET

Kit, spool positioner, spool end, Includes: Ref. 3 - 7, replaces 1978284C2 kit

1шт.

3

326-424

BOLT,Hex, 1/4" - 20 x 1-1/2", Gr 8

4шт.

4

92-61025

LOCK WASHER,1/4"

Hi-Collar lock, 1/4 inch

4шт.

5

NSS

NOT SOLD SEPARAT

CAP - spring

1шт.

6

238-5128

O-RING,0.103" Thk x 1.487" ID, -128, Cl 5, 75 Duro

Cap

1шт.

7

NSS

NOT SOLD SEPARAT

BOLT - spool guide

1шт.

190017A1

TAPPET

Kit, spool positioner, spring end, Includes: Ref. 8 - 16, replaces 1978288C2 kit

1шт.

8

326-424

BOLT,Hex, 1/4" - 20 x 1-1/2", Gr 8

4шт.

9

92-61025

LOCK WASHER,1/4"

Hi-Collar lock, 1/4 inch

4шт.

10

NSS

NOT SOLD SEPARAT

CAP - spring

1шт.

11

NSS

NOT SOLD SEPARAT

BOLT - spool positioner

1шт.

12

NSS

NOT SOLD SEPARAT

SPACER - spring retainer

1шт.

13

NSS

NOT SOLD SEPARAT

SPRING - spool positioner, large

1шт.

14

NSS

NOT SOLD SEPARAT

SPRING - spool positioner, small

1шт.

15

NSS

NOT SOLD SEPARAT

SPACER - spring

1шт.

16

238-5128

O-RING,0.103" Thk x 1.487" ID, -128, Cl 5, 75 Duro

Cap

1шт.

102204A1

SET

Kit, plug, load check, Includes: Ref. 17 - 20

1шт.

17

NSS

NOT SOLD SEPARAT

PLUG - load check

1шт.

18

237-6014

O-RING,0.116" Thk x 1.048" ID, -914, Cl 6, 90 Duro

1шт.

19

NSS

NOT SOLD SEPARAT

POPPET - load check

1шт.

20

NSS

NOT SOLD SEPARAT

SPRING - load check

1шт.

21

102211A1

VALVE

ASSEMBLY circuit relief and anticavitation, with flat screen on poppet, production only, for service order 102210A1 valve, Ref. 22

1шт.

22

102210A1

VALVE

ASSEMBLY relief, with flat screen on poppet, circuit relief and anticavitation, service replacement, see Figure 8-46, see your service manual for proper pressure setting

1шт.

23

1978297C2

VALVE

ASSEMBLY circuit relief, see Figure 8-48, no longer available, order 121005A1 valve assembly

1шт.

23

121005A1

VALVE

ASSEMBLY circuit relief, see Figure 8-49A

1шт.

Выбрано товаров: 0