Запчасти Case 621B (8-58) - MALE MASTER COUPLER (08) - HYDRAULICS

Схема запчастей Case 621B - (8-58) - MALE MASTER COUPLER (08) - HYDRAULICS
12
16
6
5
11
3
1
7
10
4
7
13
15
19
2
6
8
10
9
11
5
20
18
17
14
15
FIT
1:1
100%

Артикул

Название

Примечание

Количество

114513A1

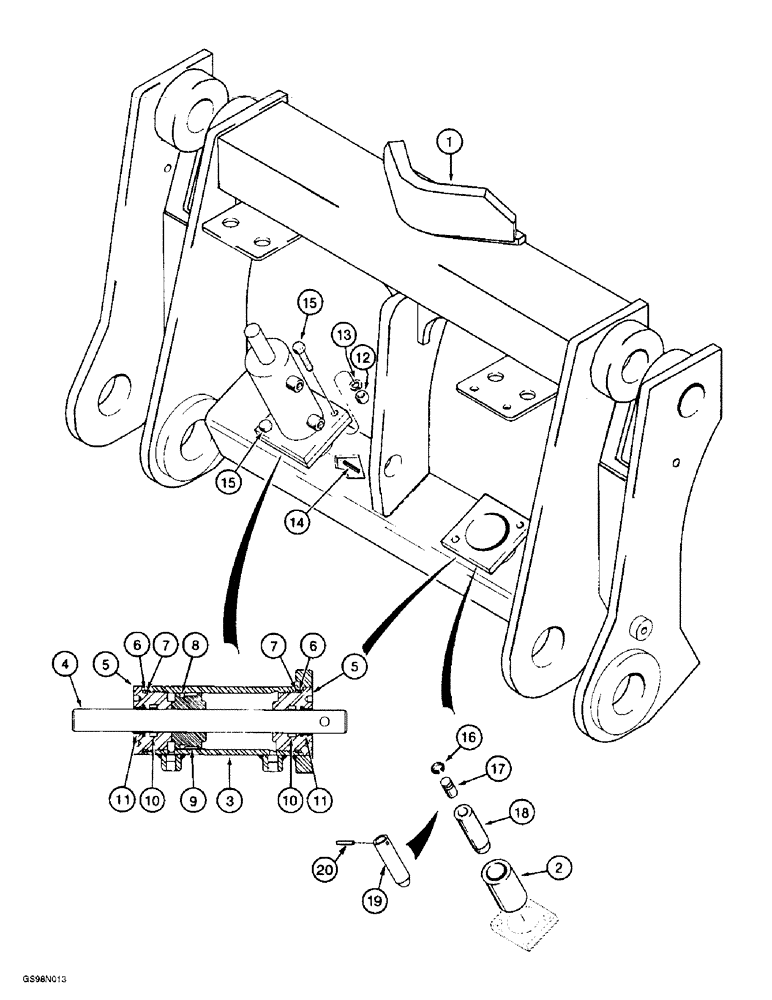
COUPLING

ASSEMBLY male master, Includes: Ref. 1 - 20

1шт.

The complete assembly is available from the supplier through your local dealer. Component parts listed are available at your local dealer.

1шт.

1

NSS

NOT SOLD SEPARAT

FRAME ASSEMBLY coupler, Includes: Ref. 2

1шт.

2

120827A1

BUSHING

frame

2шт.

120828A1

CYLINDER

ASSEMBLY auxiliary bucket, Includes: Ref. 3 - 11

2шт.

3

NSS

NOT SOLD SEPARAT

TUBE - cylinder

1шт.

4

120829A1

ROD

ASSEMBLY includes piston

1шт.

5

120830A1

GLAND

cylinder

1шт.

120831A1

SEAL KIT

KIT, Includes: Ref. 6 - 11

1шт.

6

NSS

NOT SOLD SEPARAT

RING - backup

2шт.

7

NSS

NOT SOLD SEPARAT

O-RING - gland

2шт.

8

NSS

NOT SOLD SEPARAT

SEAL - piston

1шт.

9

NSS

NOT SOLD SEPARAT

RING - piston

1шт.

10

NSS

NOT SOLD SEPARAT

SEAL - rod

2шт.

11

NSS

NOT SOLD SEPARAT

WIPER - rod

2шт.

12

425-108

NUT,1/2" - 13, Gr 5

4шт.

13

80679

LOCK WASHER,1/20.507 CST ZND

4шт.

14

249144A1

PIN

roll

2шт.

15

326-832

BOLT,Hex, 1/2" - 13 x 2", Gr 8

4шт.

16

100-21150

SNAP RING,1.50", Int, #150

2шт.

17

120832A1

COLLAR

Cylinder Rod, Used with 120833A1 Pin

2шт.

18

120833A1

PIN

Coupler, No Longer Used, Order 249145A1 and 249144A1 Pins, Ref. 19 and 20

2шт.

19

249145A1

PIN

PIN - coupler

2шт.

20

249144A1

PIN

Roll, Used With 249145A1

2шт.

Выбрано товаров: 24