Запчасти Case 621B (8-94) - RIDE CONTROL HYDRAULIC CIRCUIT, MASTER VALVE TO CAB AND RETURN MANIFOLD (08) - HYDRAULICS

Схема запчастей Case 621B - (8-94) - RIDE CONTROL HYDRAULIC CIRCUIT, MASTER VALVE TO CAB AND RETURN MANIFOLD (08) - HYDRAULICS
18
13
3
17
19
12
2
9
10
20
3
10
11
18
8
16
19
5
4
11
19
14
1
7
21
15
20
17
18
6
FIT
1:1
100%

Артикул

Название

Примечание

Количество

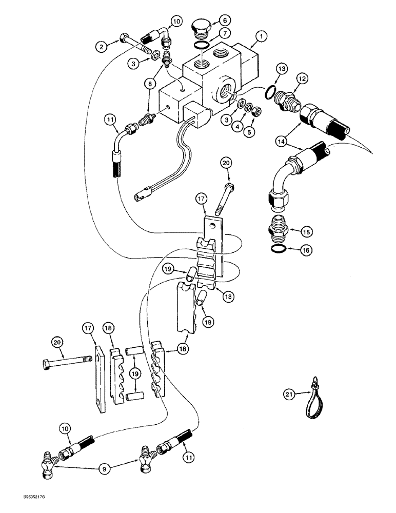
1

107866A1

VALVE

ASSEMBLY master directional, with electrical connector, see Figure 8-99

1шт.

2

326-644

BOLT,Hex, 3/8" - 16 x 2-3/4", Gr 8

2шт.

3

496-21041

WASHER,13/32" x 13/16" x .089", HDN

4шт.

4

492-11038

LOCK WASHER,3/8"

2шт.

5

425-106

NUT,3/8"-16, Cl 5

2шт.

6

218-5158

PLUG,Hex Hd, 1 1/16"-12 ORB

Includes: Ref. 7

1шт.

7

237-6012

O-RING,0.116" Thk x 0.924" ID, -912, Cl 6, 90 Duro

1шт.

8

218-453

HYD CONNECTOR,9/16" - 18 Male JIC x 1/8" - 27 Male NPTF

Straight

2шт.

9

218-5222

TEE,37 Degree, 9/16"-18, x 9/16"-18, Fem Sw Run

2шт.

10

L124308

HOSE,9.53mm ID x 2210mm L, SAE 100R3

2210 mm (87 in) long, To Pilot Controller and Pressure Reducing Sequence Valve

1шт.

11

131674A1

HOSE ASSY.

2785 mm (109-5/8 in) long, To Hydraulic Controller Return Line

1шт.

12

218-5064

HYD CONNECTOR,1-1/16" - 12 Male JIC x 1-1/16" - 12 Male ORB

Straight, O-Ring boss, Incl. Ref. 13

1шт.

13

237-6012

O-RING,0.116" Thk x 0.924" ID, -912, Cl 6, 90 Duro

1шт.

14

132978A1

HOSE ASSY.

550 mm (21-3/4 in) long, master valve to loader control valve and cover, see Figure 8-30 - 8-35A for end cover

1шт.

15

218-5065

HYD CONNECTOR,1-1/16" - 12 Male JIC x 7/8" - 14 Male ORB

Straight, O-Ring boss, Includes: Ref. 16

1шт.

16

237-6010

O-RING,0.097" Thk x 0.755" ID, -910, Cl 6, 90 Duro

1шт.

17

L124270

LARGE PLATE

PLATE, LARGE Ride Control Hydraulic Hoses

2шт.

Refs. 17 - 21 are used only with two or four spool valves. Hoses for three spool valves are mounted in clamps with standard hoses from the remote controller.

1шт.

18

L124271

FIXING BRACKET

CLAMP rubber

4шт.

Refs. 17 - 21 are used only with two or four spool valves. Hoses for three spool valves are mounted in clamps with standard hoses from the remote controller.

1шт.

19

L126936

SPACER

34 mm long

4шт.

Refs. 17 - 21 are used only with two or four spool valves. Hoses for three spool valves are mounted in clamps with standard hoses from the remote controller.

1шт.

20

426-680

BOLT,Hex, 3/8" - 16 x 5", Gr 8

3/8 NC x 5 in

4шт.

Refs. 17 - 21 are used only with two or four spool valves. Hoses for three spool valves are mounted in clamps with standard hoses from the remote controller.

1шт.

21

L18337

CABLE TIE,9.95"-12.1" lg

CABLE STRAP 15 inch, nylon

1шт.

Refs. 17 - 21 are used only with two or four spool valves. Hoses for three spool valves are mounted in clamps with standard hoses from the remote controller.

1шт.

22

218-5108

ELBOW,90 Degree Elbow, 1-1/16" - 12 Male JIC x 1-1/16" - 12 Male ORB

Not Illustrated

2шт.

Выбрано товаров: 27