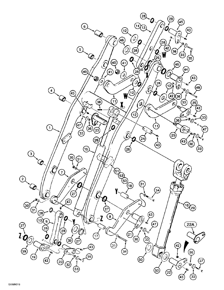
Запчасти Case 621B (9-012) - LOADER LIFT FRAME AND LINKAGE, XT LOADER (09) - CHASSIS/ATTACHMENTS

Схема запчастей Case 621B - (9-012) - LOADER LIFT FRAME AND LINKAGE, XT LOADER (09) - CHASSIS/ATTACHMENTS
28
28
33
36
22
40
33
31
28
7
29
39
27
27
8
33
26
35
32
33
46
14
50
39
43
41
35
50
12
31
28
40
47
20
43
26
26
33
2
42
41
44
1
25
46
43
13
11
3
38
12
36
18
43
27
36
9
47
25
43
21
43
28
30
5
43
34
6
16
36
33
36
11
43
28
36
53
26
19
12
27
22a
4
47
51
23
26
42
24
43
49
45
10
33
17
37
15
52
28
31
36
12
43
43
42
34
33
31
30
FIT
1:1
100%

Артикул

Название

Примечание

Количество

111724A1

ROCKER ARM

FRAME ASSEMBLY loader lift, Includes: Ref. 1 - 6

1шт.

1

NSS

NOT SOLD SEPARAT

FRAME - loader lift

1шт.

2

L127014

BUSHING,82.73mm ID x 95.38mm OD x 82mm L

loader lift frame, at chassis

2шт.

3

111721A1

BUSHING

loader lift frame

2шт.

4

125306A1

BUSHING

tube

2шт.

5

111722A1

BUSHING,63.7mm ID x 76.33mm OD x 47mm L

loader lift frame, replaces 116975A1 bushing

2шт.

6

111723A1

BUSHING,76.38mm ID x 89.03mm OD x 50mm L

loader lift frame

4шт.

7

112263A1

LINK

BELLCRANK - left-hand

2шт.

8

112542A1

LINK

BELLCRANK - right-hand

2шт.

112337A1

LINK,614.15mm L

ASSEMBLY anchor, Includes: Ref. 9 and 10

2шт.

9

NSS

NOT SOLD SEPARAT

LINK - anchor

1шт.

10

111722A1

BUSHING,63.7mm ID x 76.33mm OD x 47mm L

loader lift frame, replaces 116975A1 bushing

2шт.

11

116985A1

LOWER LINK

guide, left-hand and right-hand

4шт.

12

116893A1

WASHER,65mm ID x 152mm OD x 3.5mm Thk

hardened

8шт.

116973A1

LINK ASSY.

bucket dump, Includes: Ref. 13 and 14

2шт.

13

NSS

NOT SOLD SEPARAT

LINK bucket dump

1шт.

14

111722A1

BUSHING,63.7mm ID x 76.33mm OD x 47mm L

loader lift frame, replaces 116975A1 bushing

3шт.

15

112551A1

JACK BODY

CYLINDER ASSEMBLY, 114 (4-1/2) ID x 1001 mm (39-13/32 inch) stroke, bucket tilt, see Figure 8-54

2шт.

16

REF

INSTRUCTION

CYLINDER ASSEMBLY, 127 (5) ID x 834 mm (32-13/16 inch) stroke, right-hand lift, see Figure 8-10 for correct cylinder

1шт.

17

L104342

PIN

bellcrank

2шт.

18

112600A1

PIVOT PIN

Anchor link

2шт.

19

L118674

PIVOT PIN

pivot, 255 mm long, lift arm

2шт.

20

112596A1

PIVOT PIN

Anchor link

2шт.

21

112604A1

PIVOT PIN

bellcrank

2шт.

22

L128351

PIVOT PIN

pivot, 249 mm long, lift cylinder, no longer available, use pin 225775A1, Ref. 22A

2шт.

22a

225775A1

PIVOT PIN

pivot, lift cylinder

2шт.

23

L127118

HANDLED SHAFT

PIN pivot, 229 mm long, lift arm

2шт.

24

118563A1

PIN,63.34mm OD x 174mm L

Tilt cylinder

2шт.

25

116954A1

HANDLED SHAFT

PIN guide link

4шт.

26

L128724

SEAL

pin

8шт.

27

L128725

SEAL,82.55mm ID x 95.38mm OD x 7.9mm Thk

pin

8шт.

28

113624A1

SEAL,63.5mm ID x 76.2mm OD x 7.9mm Thk

pin

24шт.

29

REF

INSTRUCTION

CYLINDER ASSEMBLY, 127 (5) ID x 834 mm (32-13/16 inch) stroke, left-hand lift, see Figures 8-50 and 8-51A for correct cylinder

1шт.

30

425-1612

NUT,3/4"-10, G5, Hvy

4шт.

31

D34666

WASHER,33.34mm ID x 63.5mm OD x 2.38mm Thk

flat, special, 3/4 inch

8шт.

32

122297A1

SPACER

pin mounting

2шт.

33

496-81025

WASHER,21/32" x 2 1/2" x .188", HDN

Replaces D35009 washer

16шт.

34

426-12120

BOLT,Hex, 3/4" - 10 x 7-1/2", Gr 8

4шт.

35

426-1040

BOLT,Hex, 5/8" - 11 x 2-1/2", Gr 8

4шт.

36

L125100

SPACER,17.48mm ID x 31.75mm OD x 14.3mm Thk

14.3 mm (9/16 inch)

14шт.

37

426-1036

BOLT,Hex, 5/8" - 11 x 2-1/4", Gr 8

2шт.

38

38-33264

PIN,12.7mm OD x 101.6mm L, Coiled

2шт.

39

L129131

WASHER,83.8mm ID x 152mm OD x 3.02mm Thk

flat, special

4шт.

40

131-53

NUT,1 1/2"-12

4шт.

41

117025A1

WASHER,40mm ID x 127mm OD x 6.35mm Thk

hardened

4шт.

42

231-14410

NUT,5/8"-11, GB

6шт.

43

219-1

LUBE NIPPLE,1/8" - 27 NPTF

22шт.

44

113893A1

PIN,76.05mm OD x 246mm L

Lift arm tip

2шт.

45

113952A1

PIN,63.34mm OD x 203mm L

Dump link tip

2шт.

46

L118835

WASHER,77.5mm ID x 152mm OD x 3.5mm Thk

77.5 x 152 x 3.5 mm

4шт.

47

426-1024

BOLT,Hex, 5/8" - 11 x 1-1/2", Gr 8

8шт.

49

426-1052

BOLT,Hex, 5/8" - 11 x 3-1/4", Gr 8

2шт.

50

L127108

WASHER,77.5mm ID x 152mm OD x 2.5mm Thk

77.5 x 152 x 2.5 mm

4шт.

51

L126511

SUPPORT

BRACKET mounting, hose and tube

1шт.

52

426-616

BOLT,Hex, 3/8" - 16 x 1", Gr 8

2шт.

53

492-11038

LOCK WASHER,3/8"

2шт.

Выбрано товаров: 56