Запчасти Case 621B (9-019A) - LOADER BUCKETS AND CUTTING EDGES, 2.50 CUBIC YARD (1.9 CUBIC METER) BUCKET, Z-BAR LOADER (09) - CHASSIS/ATTACHMENTS

Схема запчастей Case 621B - (9-019A) - LOADER BUCKETS AND CUTTING EDGES, 2.50 CUBIC YARD (1.9 CUBIC METER) BUCKET, Z-BAR LOADER (09) - CHASSIS/ATTACHMENTS
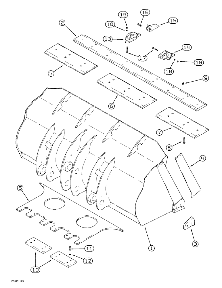
18
3
9
17
8
16
4
2
7
15
19
6
1
10
18
19
14
5
11
7
13
12
FIT
1:1
100%

Артикул

Название

Примечание

Количество

130257A1

BUCKET

ASSEMBLY loader, Includes: Ref. 1 - 5, order from Machinery Price List, 1.9 cubic meter (2.50 cubic yard)

1шт.

1

NSS

NOT SOLD SEPARAT

BUCKET - loader

1шт.

2

L127427

EDGE, CUTTING

bucket, weld-on

1шт.

3

115620A1

EDGE

cutting, bucket corner, weld-on

2шт.

4

130253A1

EDGE

cutting, bucket side, weld-on

2шт.

5

130256A1

PLATE

wear

1шт.

6

L127038

EDGE, CUTTING

center, bolt-on

1шт.

7

L127429

EDGE, CUTTING

bucket corner, bolt-on

2шт.

8

L127054

PLOW BOLT,#3, Dome Hd, 3/4" - 10 x 3", Gr 8

plow, 3/4 NC x 3 inch, grade 8, bolt-on cutting edge

16шт.

9

429-1012

NUT,3/4"-10, G8

hex, NC, bolt-on cutting edge

16шт.

10

131994A1

PLATE

wear, bolt-on cutting edge

2шт.

11

426-1024

BOLT,Hex, 5/8" - 11 x 1-1/2", Gr 8

Bolt-on cutting edge

8шт.

12

T53567

BEARING WASHER,16.66mm ID x 33.33mm OD x 3.43mm Thk

flat, special, hardened, bolt-on cutting edge

8шт.

L129666

TOOTH

ASSEMBLY bucket, center, Includes: Ref. 13, 15, 16, marked H and L, if used

7шт.

For ESCO teeth, see Figure 9-21A. ESCO teeth and H and L teeth should not be mixed on the same bucket.

1шт.

L126938

TOOTH

ASSEMBLY bucket, corner, Includes: Ref. 14, 15, 16, marked H and L, if used

2шт.

For ESCO teeth, see Figure 9-21A. ESCO teeth and H and L teeth should not be mixed on the same bucket.

1шт.

13

NSS

NOT SOLD SEPARAT

SHANK - bucket, center, L129666 tooth assembly

1шт.

14

NSS

NOT SOLD SEPARAT

SHANK - bucket, corner, L126938 tooth assembly

1шт.

15

D55468

TOOTH

tooth, standard forged, bucket

1шт.

16

L32090

PIN

PIN - flex, point retaining

1шт.

17

326-1256

BOLT,Hex, 3/4" - 10 x 3-1/2", Gr 8

Bucket teeth

18шт.

18

496-11081

WASHER,13/16" x 1 1/2" x .134", HDN

Bucket teeth

18шт.

19

129-593

NUT,Hvy Hex, 3/4" - 10, Gr 5

Bucket teeth

18шт.

Выбрано товаров: 0