Запчасти Case 721B (8-040) - LOADER BUCKET TILT SECTION - 1978296C1 (08) - HYDRAULICS

Схема запчастей Case 721B - (8-040) - LOADER BUCKET TILT SECTION - 1978296C1 (08) - HYDRAULICS
11
19
12
14
6
18
9
7
3
2
15
4
17
16
1
22
13
8
20
23
21
10
5
FIT
1:1
100%

Артикул

Название

Примечание

Количество

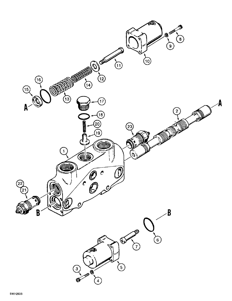
1978296C1

VALVE

SECTION ASSEMBLY - bucket tilt, Includes: Ref. 1 - 23

1шт.

1

NSS

NOT SOLD SEPARAT

HOUSING - bucket section

1шт.

2

NSS

NOT SOLD SEPARAT

SPOOL - bucket section

1шт.

190016A1

TAPPET

KIT - spool positioner, spool end, replaces 1978284C2, Includes: Ref. 3 - 7

1шт.

3

326-424

BOLT,Hex, 1/4" - 20 x 1-1/2", Gr 8

4шт.

4

92-61025

LOCK WASHER,1/4"

WASHER - Hi-Collar lock, 1/4 inch

4шт.

5

NSS

NOT SOLD SEPARAT

CAP - spring

1шт.

6

238-5128

O-RING,0.103" Thk x 1.487" ID, -128, Cl 5, 75 Duro

Cap -128, 70 Duro, 1.487" ID x .103" Thk

1шт.

7

NSS

NOT SOLD SEPARAT

BOLT - spool guide

1шт.

190017A1

TAPPET

KIT - spool positioner, spring end, replaces 1978288C2, Includes: Ref. 8 - 16

1шт.

8

326-424

BOLT,Hex, 1/4" - 20 x 1-1/2", Gr 8

4шт.

9

92-61025

LOCK WASHER,1/4"

WASHER - Hi-Collar lock, 1/4 inch

4шт.

10

NSS

NOT SOLD SEPARAT

CAP - spring

1шт.

11

NSS

NOT SOLD SEPARAT

BOLT - spool positioner

1шт.

12

NSS

NOT SOLD SEPARAT

SPACER - spring retainer

1шт.

13

NSS

NOT SOLD SEPARAT

SPRING - spool positioner, large

1шт.

14

NSS

NOT SOLD SEPARAT

SPRING - spool positioner, small

1шт.

15

NSS

NOT SOLD SEPARAT

SPACER - spring

1шт.

16

238-5128

O-RING,0.103" Thk x 1.487" ID, -128, Cl 5, 75 Duro

Cap -128, 70 Duro, 1.487" ID x .103" Thk

1шт.

102204A1

SET

KIT - plug, load check, Includes: Ref. 17 - 20

1шт.

17

NSS

NOT SOLD SEPARAT

PLUG - load check

1шт.

18

237-6014

O-RING,0.116" Thk x 1.048" ID, -914, Cl 6, 90 Duro

14-1, 90 Duro, 1.048" ID x .116" Thk

1шт.

19

NSS

NOT SOLD SEPARAT

POPPET - load check

1шт.

20

NSS

NOT SOLD SEPARAT

SPRING - load check

1шт.

21

102211A1

VALVE

ASSEMBLY - circuit relief and anticavitation, with flat screen on poppet, production only, for service order 102210A1 valve, Ref. 22, no longer available

1шт.

22

102210A1

VALVE

ASSEMBLY - relief, with flat screen on poppet, circuit relief and anticavitation, service replacement, parts list figure 8-46, see your service manual for proper pressure setting

1шт.

23

1978297C2

VALVE

ASSEMBLY - circuit relief, parts list figure 8-48

1шт.

23

121005A1

VALVE

ASSEMBLY - circuit relief, parts list figure 8-49A

1шт.

Выбрано товаров: 28