Запчасти Case 721B (8-074) - REMOTE LOADER CONTROL CIRCUIT, TWO LEVERS WITH FOUR SPOOL VALVE (08) - HYDRAULICS

Схема запчастей Case 721B - (8-074) - REMOTE LOADER CONTROL CIRCUIT, TWO LEVERS WITH FOUR SPOOL VALVE (08) - HYDRAULICS
10
10
7
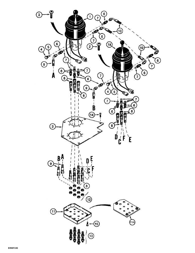
1a
7
6
12
9
7
6
8
11a
7
4
5
8
7
7
7
2
6
9
6
13
6
8
6
14
6
4
6
8
6
7
9
5
1
11
7
3
8
15
2
FIT
1:1
100%

Артикул

Название

Примечание

Количество

1

109508A1

VALVE

ASSEMBLY - control, single lever remote, with feel, parts list figures 8-80 and 8-82

1шт.

1

109508A1R

REMAN-HYD VALVE

Reman ASSEMBLY - control, single lever remote, with feel, parts list figures 8-80 and 8-82

1шт.

1

109508A1C

CORE-VALVE HYD

Return number

1шт.

1a

117919A1

VALVE

ASSEMBLY - control, single lever remote, parts list figure 8-90

1шт.

2

140-114

SCREW,Cross Pan Hd, 1/4" - 20 x 1"

Cross Pan Hd, 1/4"-20 NC x 1"

8шт.

3

1339947C1

LARGE PLATE

PLATE - mounting, remote control

1шт.

4

76349

PLUG,9/16" - 18 ORB

Incl. Ref. 5 Hex Hd, 9/16"-18 ORB

2шт.

6

218-5057

HYD CONNECTOR,9/16" - 18 JIC x 9/16" - 18 ORB

ADAPTER - straight, 9/16-18 inch flare x O-ring boss, Incl. Ref. 7

14шт.

8

1339965C1

HOSE,9.53mm ID x 419.1mm L, SAE 100R1

- 419 mm (16-1/2 inch) long, remote control to hose separator

8шт.

9

1339964C1

HOSE,9.53mm ID x 501.7mm L, SAE 100R1

- 502 mm (19-7/8 inch) long, remote control to pressure regulating valve and hydraulic reservoir

2шт.

10

L126988

HOSE ASSY.

HOSE - 162 mm (6-3/8 inch) long, remote control crossover

2шт.

11

1339969C1

LARGE PLATE

SEPARATOR - hose, loader control, if used

1шт.

11a

137716A2

LARGE PLATE

SEPARATOR - hose, loader control, if used

1шт.

12

218-1254

LOCK NUT,Blkhd, 9/16"-18

NUT - hex, lock, bulkhead, 9/16 inch NF

10шт.

13

218-673

FITTING,Blkhd, 9/16"-18, 37 Degree x 9/16"-18, 37 Degree

FIT STL BULKHD .375MJ .375MJ

10шт.

14

43-12512

SCREW,Cross Flat Hd, 1/4"-20 x 3/4"

- machine, flat Phillips, 1/4 NC x 3/4 inch

6шт.

15

614-6025

BOLT,Hex, M6 x 1 x 25mm, Cl 8.8, Full Thd

- hex, full threads, 6 - 1.0 x 25 mm

3шт.

5

237-6006

O-RING,0.078" Thk x 0.468" ID, -906, Cl 6, 90 Duro

6-1, 90 Duro, .468" ID x .078" Thk

1шт.

7

237-6006

O-RING,0.078" Thk x 0.468" ID, -906, Cl 6, 90 Duro

6-1, 90 Duro, .468" ID x .078" Thk

1шт.

Выбрано товаров: 19