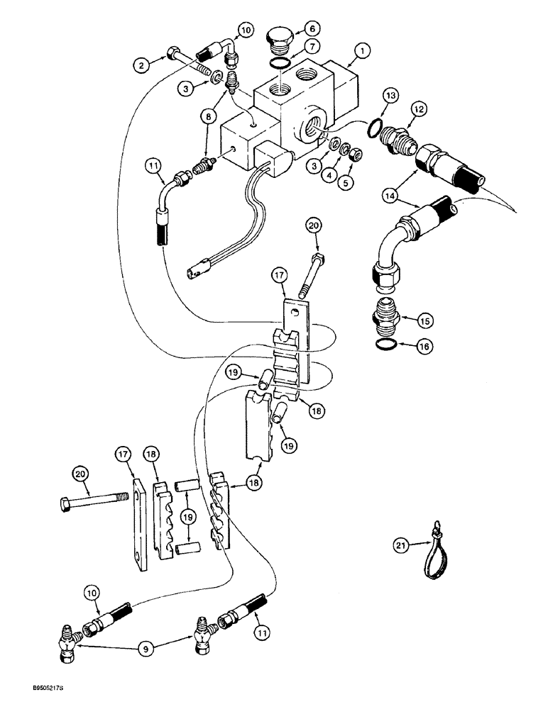
Запчасти Case 721B (8-094) - RIDE CONTROL HYDRAULIC CIRCUIT, MASTER VALVE TO CAB & RETURN MANIFOLD (08) - HYDRAULICS

Схема запчастей Case 721B - (8-094) - RIDE CONTROL HYDRAULIC CIRCUIT, MASTER VALVE TO CAB & RETURN MANIFOLD (08) - HYDRAULICS
10
1
19
18
5
17
11
14
18
2
19
20
18
16
20
7
4
21
17
3
19
9
8
15
11
10
6
13
3
12
FIT
1:1
100%

Артикул

Название

Примечание

Количество

1

107866A1

VALVE

ASSEMBLY - master directional, with electrical connector, parts list figure 8-100

1шт.

2

326-644

BOLT,Hex, 3/8" - 16 x 2-3/4", Gr 8

2шт.

3

496-21041

WASHER,13/32" x 13/16" x .089", HDN

- flat, 13/32 x 13/16 x 3/32", hardened

4шт.

4

492-11038

LOCK WASHER,3/8"

2шт.

5

425-106

NUT,3/8"-16, Cl 5

2шт.

6

218-5158

PLUG,Hex Hd, 1 1/16"-12 ORB

- hex, 1-1/16-12 inch O-ring boss, Includes: Ref. 7

1шт.

7

237-6012

O-RING,0.116" Thk x 0.924" ID, -912, Cl 6, 90 Duro

12-1, 90 Duro, .924 ID x .116" Thk

1шт.

8

218-453

HYD CONNECTOR,9/16" - 18 Male JIC x 1/8" - 27 Male NPTF

CONNECTOR, HYD., , Adapter, Straight 9/16"-18, 37º x 1/8"-27, NPTF

2шт.

9

218-5222

TEE,37 Degree, 9/16"-18, x 9/16"-18, Fem Sw Run

- swivel, 9/16-18 inch flare branch x flare x swivel

2шт.

10

L124308

HOSE,9.53mm ID x 2210mm L, SAE 100R3

- 2210 mm (87 inch) long, to pilot controller and pressure reducing sequence valve

1шт.

11

131674A1

HOSE ASSY.

HOSE - 2785 mm (109-5/8 inch) long, to hydraulic controller return line

1шт.

12

218-5064

HYD CONNECTOR,1-1/16" - 12 Male JIC x 1-1/16" - 12 Male ORB

ADAPTER - straight, 1-1/16-12 inch flare x O-ring boss, Incl. Ref. 13

1шт.

13

237-6012

O-RING,0.116" Thk x 0.924" ID, -912, Cl 6, 90 Duro

12-1, 90 Duro, .924 ID x .116" Thk

1шт.

14

132978A1

HOSE ASSY.

HOSE - 550 mm (21-3/4 inch) long, master valve to loader control valve end cover, see figures 8-30 - 8-35A for end cover

1шт.

15

218-5065

HYD CONNECTOR,1-1/16" - 12 Male JIC x 7/8" - 14 Male ORB

ADAPTER - straight, 1-1/16-12 flare x 7/8-14 inch O-ring boss, Includes: Ref. 16

1шт.

16

237-6010

O-RING,0.097" Thk x 0.755" ID, -910, Cl 6, 90 Duro

10-1, 90 Duro, .755" ID x .097" Thk

1шт.

17

L124270

LARGE PLATE

PLATE - mounting, ride control hydraulic hoses

2шт.

Used only with two or four spool valves. Hoses for three spool valves are mounted in clamps with standard hoses from the remote controller.

1шт.

18

L124271

FIXING BRACKET

CLAMP - rubber

4шт.

Used only with two or four spool valves. Hoses for three spool valves are mounted in clamps with standard hoses from the remote controller.

1шт.

19

L126936

SPACER

- 34 mm long

4шт.

Used only with two or four spool valves. Hoses for three spool valves are mounted in clamps with standard hoses from the remote controller.

1шт.

20

426-680

BOLT,Hex, 3/8" - 16 x 5", Gr 8

- hex, 3/8 NC x 5 inch, grade 8

4шт.

Used only with two or four spool valves. Hoses for three spool valves are mounted in clamps with standard hoses from the remote controller.

1шт.

21

L18337

CABLE TIE,9.95"-12.1" lg

STRAP - tie, 15 inch, nylon

1шт.

Used only with two or four spool valves. Hoses for three spool valves are mounted in clamps with standard hoses from the remote controller.

1шт.

Выбрано товаров: 26