Запчасти Case 721B (9-004) - LOADER BUCKET RETURN-TO-DIG, XT LOADER (09) - CHASSIS/ATTACHMENTS

Схема запчастей Case 721B - (9-004) - LOADER BUCKET RETURN-TO-DIG, XT LOADER (09) - CHASSIS/ATTACHMENTS
3
7
5
6
8
2
10
1
5
4
9
8
11
9
2
9
FIT
1:1
100%

Артикул

Название

Примечание

Количество

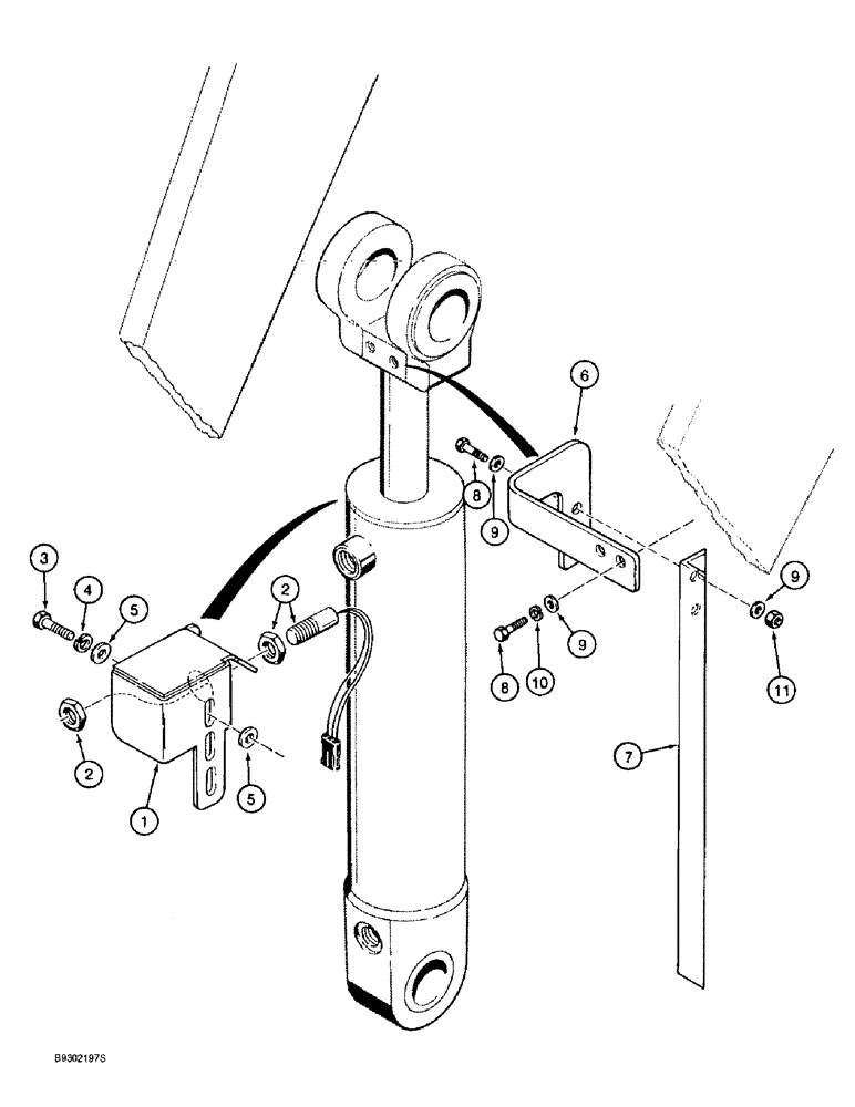
1

346342A1

SUPPORT

BRACKET - mounting, replaces 114525A1

1шт.

2

1546498C1

SWITCH

- proximity, return-to-dig

1шт.

3

426-616

BOLT,Hex, 3/8" - 16 x 1", Gr 8

2шт.

4

492-11038

LOCK WASHER,3/8"

2шт.

5

496-21041

WASHER,13/32" x 13/16" x .089", HDN

- flat, 13/32 x 13/16 x 3/32", hardened

4шт.

6

346310A1

POWER ARM

BRACKET - formed, mounting

1шт.

7

346338A1

ANGLE BAR

ANGLE - mounting bracket, replaces 116334A1

1шт.

8

426-620

BOLT,Hex, 3/8" - 16 x 1-1/4", Gr 8

4шт.

9

495-21044

WASHER,3/8"

(flat, 7/16 x 1 x 5/64 inch) 3/8"

6шт.

10

492-11038

LOCK WASHER,3/8"

2шт.

11

231-1446

NUT,3/8" - 16, Gr 5

NUT - hex, self-locking, 3/8 inch NC

2шт.

Выбрано товаров: 11