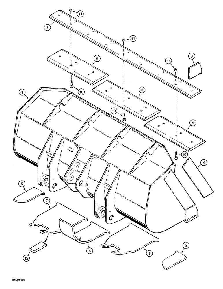
Запчасти Case 721B (9-018) - LOADER BUCKET AND CUTTING EDGES, Z-BAR LOADER, 2.5 CUBIC METER (3.25 CUBIC YARD) BUCKET (09) - CHASSIS/ATTACHMENTS

Схема запчастей Case 721B - (9-018) - LOADER BUCKET AND CUTTING EDGES, Z-BAR LOADER, 2.5 CUBIC METER (3.25 CUBIC YARD) BUCKET (09) - CHASSIS/ATTACHMENTS
11
11
4
5
12
5
2
7
3
9
7
9
11
6
1
10
10
10
8
FIT
1:1
100%

Артикул

Название

Примечание

Количество

L127542

BUCKET

ASSEMBLY loader, 2.5 cubic meter (3.25 cubic yard), order from Machinery Price List, no longer available, order 131739A1 bucket assembly on Figure 9-19A.

1шт.

Bucket teeth are not supplied for the 3.25 cubic yard bucket.

1шт.

1

NSS

NOT SOLD SEPARAT

BUCKET - loader

1шт.

2

L127427

EDGE, CUTTING

EDGE - cutting, bucket, weld-on

1шт.

3

L126115

EDGE, CUTTING

EDGE - cutting, bucket corner, weld-on

2шт.

4

L127617

EDGE, CUTTING

EDGE - cutting, bucket side, weld-on

2шт.

5

L125741

LARGE PLATE

PLATE - wear, outer

2шт.

6

L127614

STIFFENER

PLATE - wear, center

1шт.

7

L127615

LARGE PLATE

PLATE - wear, bucket ear

2шт.

8

L127038

EDGE, CUTTING

EDGE - cutting, center, bolt-on L127542 bucket

1шт.

9

L127429

EDGE, CUTTING

EDGE - cutting, bolt-on cutting egde L127542 bucket

2шт.

10

L127054

PLOW BOLT,#3, Dome Hd, 3/4" - 10 x 3", Gr 8

BOLT - plow, 3/34 NC x 3 inch, grade 8, bolt-on cutting egde L127542 bucket

16шт.

11

429-1012

NUT,3/4"-10, G8

- hex, 3/4 inch NC, grade 8, bolt-on cutting egde L127542 bucket

16шт.

12

L128081

LARGE PLATE

PLATE - wear, bolt-on cutting egde L127542 bucket

6шт.

Выбрано товаров: 0