Запчасти Case 721B (9-019A) - LOADER BUCKET AND CUTTING EDGES, Z-BAR LOADER, 2.5 CUBIC METER (3.25 CUBIC YARD) BUCKET (09) - CHASSIS/ATTACHMENTS

Схема запчастей Case 721B - (9-019A) - LOADER BUCKET AND CUTTING EDGES, Z-BAR LOADER, 2.5 CUBIC METER (3.25 CUBIC YARD) BUCKET (09) - CHASSIS/ATTACHMENTS
7
9
12
7
6
1
11
5
3
4
2
10
8
FIT
1:1
100%

Артикул

Название

Примечание

Количество

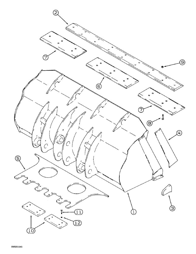
131739A1

BUCKET

ASSEMBLY loader, 2.5 cubic meter (3.25 cubic yard), Includes: Ref. 1 - 5

1шт.

Bucket teeth are not supplied for the 3.25 cubic yard bucket.

1шт.

1

NSS

NOT SOLD SEPARAT

BUCKET - loader

1шт.

2

L127427

EDGE, CUTTING

EDGE - cutting, bucket, weld-on

1шт.

3

115620A1

EDGE

- cutting, bucket corner, weld-on

2шт.

4

131741A1

EDGE

- cutting, bucket side, weld-on

2шт.

5

131742A1

PLATE

- wear

1шт.

6

L127038

EDGE, CUTTING

EDGE - cutting, center, bolt-on 131739A1

1шт.

7

L127429

EDGE, CUTTING

bolt-on cutting edge 131739A1

2шт.

8

L127054

PLOW BOLT,#3, Dome Hd, 3/4" - 10 x 3", Gr 8

bolt-on cutting edge 131739A1

16шт.

9

429-1012

NUT,3/4"-10, G8

- hex, 3/4 inch NC, grade 8, bolt-on cutting edge 131739A1

16шт.

10

131994A1

PLATE

- wear, bolt-on cutting edge 131739A1

2шт.

11

426-1024

BOLT,Hex, 5/8" - 11 x 1-1/2", Gr 8

Bolt-on cutting edge 131739A1 Hex, 5/8"-11 x 1 1/2", G8, Full Thd

8шт.

12

T53567

BEARING WASHER,16.66mm ID x 33.33mm OD x 3.43mm Thk

WASHER - flat, special, hardened, bolt-on cutting edge 131739A1

8шт.

Выбрано товаров: 0