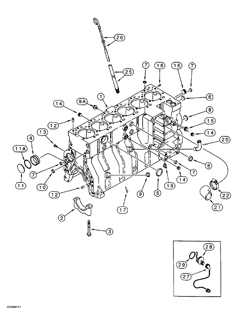
Запчасти Case 721B (2-36) - CYLINDER BLOCK, 6T-830 ENGINE, PRIOR TO LOADER P.I.N. JEE053200 (02) - ENGINE

Схема запчастей Case 721B - (2-36) - CYLINDER BLOCK, 6T-830 ENGINE, PRIOR TO LOADER P.I.N. JEE053200 (02) - ENGINE
7
7
5
11a
16
14
7
29
12
14
13
25
6
28
20
26
8
14
12
15
8
18
17
11
19
22
4
9a
3
10
7
9
27
2
1
21
FIT
1:1
100%

Артикул

Название

Примечание

Количество

1989010C3

ENGINE ASSEMBLY

ENGINE ASSY ENGINE ASSY, complete, 6T-830, includes all parts except starter, alternator, fan, fan belt, air cleaner, muffler and exhaust pipe, for service order basic engine below

1шт.

1989010C3R

REMAN-REPLACEMENT EN

Remanufactured

1шт.

6T-830C

CORE-REPLACEMENT ENG

Return Part Number, Complete

1шт.

1989098C4

BASIC ENGINE

Includes all parts except starter, alternator, fan,fan belt, air cleaner, muffler, exhaust manifold, flywheel and housing, oil fill and dipstick, fuel injection pump, injectors and lines, front pulley, belt tensioner and turbocharger; See Note

1шт.

47466038R

REMAN-BASIC ENGINE

Remanufactured Basic Engine Assembly, assembly includes short block assembly, cylinder head, valve cover, front cover, oil pan, water pump, thermostat and gasket kit to transfer trim parts

1шт.

47466038C

CORE-BASIC ENGINE

Return Part Number

1шт.

182129A2

BASIC ENGINE

includes all parts except starter, alternator, fan, fan belt, air cleaner, muffler, exhaust manifold, flywheel and housing, oil fill anad dipstick, fuel injection pump, injectors and lines, front pulley, belt tensioner and turbocharger; See Note

1шт.

182129A2R

REMAN-BASIC ENGINE

1шт.

182129A2C

CORE-BASIC ENGINE

Return Part Number, Basic Engine

1шт.

The short remanufactured block assembly engine serial number 44833938 and after is not available at this time.

1шт.

JR921843

ENGINE, EXCHANGE

1шт.

JC925187

CORE-SHORT ENGINE

Return Part Number, Use This Part Number To Return Short Block For Credit When Using a Remanufactured Assembly, Replaces JC921843

1шт.

J934597

SKELETON ENGINE

BLOCK ASSY, short, new, includes stripped block, pistons, connecting rods and bearings, crankshaft and bearings, Replaces J921843 and J926152 short block assembly

1шт.

Order Ref. 10 - 20 on figure 2-38 when ordering J934597 short block or J928964 stripped block.

1шт.

JR934597

ENGINE, EXCHANGE

Reman Short Engine

1шт.

JC934597

CORE-ENGINE

Return Number

1шт.

JR919934

BLOCK

Block Assy, Stripped, Remanufactured, Component Parts Shown On This Figure Do Not Apply To The Remanufactured Assembly, No Longer Available, Order J928964 Stripped Block Assembly

1шт.

Order Ref. 10 - 20 on figure 2-38 when ordering J934597 short block or J928964 stripped block.

1шт.

JC919374

CORE-ENGINE

Return Part Number, Use This Part Number To Return Stripped Core For Credit When Using a Remanufactured Assembly

1шт.

1

J928964

CRANKCASE

BLOCK ASSY, stripped engine, replaces J919934, J923289, J926145, and J929604 stripped block assembly, Includes: Ref. 2 - 4

1шт.

Order Ref. 10 - 20 on figure 2-38 when ordering J934597 short block or J928964 stripped block.

1шт.

2

J917313

BEARING CAP

CAP - bearing, main, main

7шт.

3

J916369

FLANGE BOLT,Hex, M14 x 2 x 128mm, Cl 10.9

SCREW, Hex Flg Hd, M14 x 128

14шт.

4

J901685

BUSHING

BUSHING - camshaft, see figure 2-34, Ref. 6

7шт.

A77716

BLOCK

KIT - block hardware, no longer available, order components separately, Includes: Ref. 5 - 20

1шт.

Order Ref. 10 - 20 on figure 2-38 when ordering J934597 short block or J928964 stripped block.

1шт.

5

A77782

PLUG

PLUG - expansion, 58 mm O.D.

1шт.

6

A77586

PLUG

PLUG - expansion, 28.9 mm O.D.

1шт.

7

A77506

PLUG

PLUG - expansion, 21 mm O.D.

4шт.

8

J905401

PLUG

PLUG - expansion, 35 mm O.D.

4шт.

9

A77439

PLUG

PLUG - expansion, 22 mm O.D. not used in this application

1шт.

9a

J929561

FLANGE BOLT,Hex, M10 x 1.5 x 16mm

BOLT - hex flange, special, 10 - 1.5 x 16 mm, located at single boss above oil fill tube on left-hand side of engine

1шт.

10

J920443

PLUG

PLUG - expansion, 30 mm O.D., Replaces A77530

2шт.

11

41-3044

PLUG,Exp, 2 3/4"

PLUG, , Replaces J901969 Exp, 2 3/4"

1шт.

11a

J926048

O-RING,0.07" Thk x 2.614" ID, -38, Cl 5, 75 Duro

O-RING - sealing, 66 mm ID

11шт.

12

J901846

PIN,12.01mm OD x 24mm L

PIN - dowel

4шт.

13

J906619

PLUG,1/8" - 27

PLUG - hex, 1/8 inch PT

6шт.

14

A77429

PLUG

PLUG - hex socket, 1/2 inch PT

5шт.

15

A77505

PLUG

PLUG - hex socket, 3/4 inch PT

2шт.

16

A77533

PLUG

PLUG - hex socket, 1 inch PT

1шт.

17

J928031

NOZZLE,8.5mm OD x 30mm L

NOZZLE - piston cooling, Replaces J919003

12шт.

18

J900257

PIN,10.01mm OD x 16mm L

PIN - dowel, 16 mm long

2шт.

19

217-103

COCK, DRAIN

VALVE - 1/4 inch PT, Replaces A77425

1шт.

20

J903744

PIPE FITTING,22.42 mm ID x 28 mm OD x 90.2, 64 mm L

TUBE - turbocharger oil drain

1шт.

21

J920762

ELBOW

HOSE - 79 mm (3-1/8 inch), elbow

1шт.

22

J918521

HOSE CLAMP,59mm - 83mm

CLAMP - adj., 1-13/16 - 2-3/4 inch diameter

1шт.

25

J905779

TUBE,9.52 mm OD x 228 mm L

TUBE - dipstick

1шт.

26

J908773

DIPSTICK,485.3mm L

DIPSTICK - oil gauge

1шт.

196804A1

KIT

KIT engine block heater, replaces A77595, Includes: Ref. 27 - 29

1шт.

27

196466A1

ELECTRIC CABLE

CABLE - engine block heater, Replaces J905113

1шт.

28

NSS

NOT SOLD SEPARAT

ELEMENT - heater, 120 volt, engine block

1шт.

29

J910517

O-RING

O-RING - heater sealing, engine block

1шт.

Выбрано товаров: 52