Запчасти Case 721B (2-39A) - CYLINDER BLOCK, 6T-830 EMISSIONS CERTIFIED ENGINE, LOADER P.I.N. JEE053200 AND AFTER (02) - ENGINE

Схема запчастей Case 721B - (2-39A) - CYLINDER BLOCK, 6T-830 EMISSIONS CERTIFIED ENGINE, LOADER P.I.N. JEE053200 AND AFTER (02) - ENGINE
15
13
14
6
8
16
8
18
21
14
4
7
7
7
29
11
19
9
17
28
20
12
1
14
3
27
26
9a
5
25
11a
2
10
12
7
22
FIT
1:1
100%

Артикул

Название

Примечание

Количество

224016A1

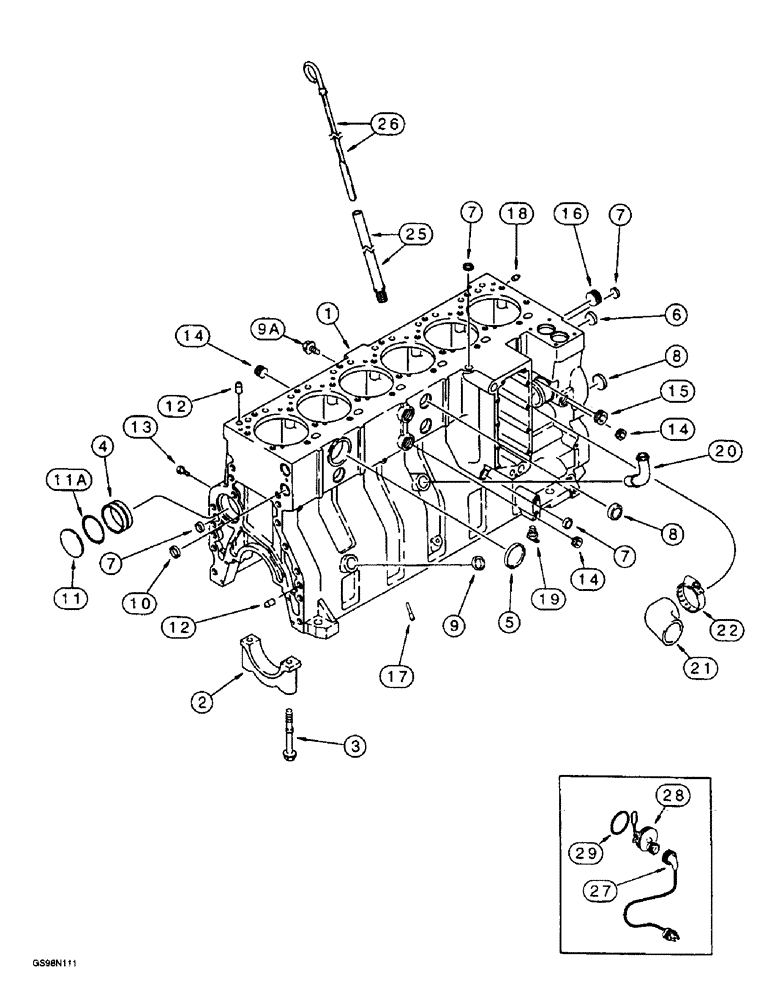
ENGINE ASSY - 6T-830 Emissions Certified, complete, for service order 199985A1 basic engine below, Includes: Ref. 2 - 20

1шт.

The engine part number is stamped on a metal tag which is mounted on the front gear cover.

1шт.

199985A1

BASIC ENGINE

ENGINE ASSY - basic, includes all parts except starter, alternator, fan, fan belt, air cleaner, muffler, exhaust manifold, flywheel & housing, oil fill & dipstick, fuel injection pump, injectors & lines, front pulley, belt tensioner, Includes: Ref. 2- 20

1шт.

199985A1R

REMAN-BASIC ENGINE

Engine Assy, remanufactured,component parts shown on this figure do not apply to the remanufactured assembly, Includes: Ref. 2 - 20; See Note

1шт.

199985A1C

CORE-BASIC ENGINE

Return Part Number, use this part number to return engine core for credit when using a remanufactured assembly, Includes: Ref. 2 -20

1шт.

JR931187

BLOCK

ASSY, short, remanufactured, N.A. only, component parts shown on this figure do not apply to the remanufactured assembly, no longer available, order JR934600 block assembly, Includes: Ref. 2 - 20

1шт.

JC931187

CORE-ENGINE

Return Part Number, use this part number to return block core for credit when using a remanufactured assembly, Includes: Ref. 2 - 20

1шт.

JR934600

ENGINE, EXCHANGE

BLOCK ASSY - short, remanufactured, N. A. only, component parts shown on this figure do not apply to the remanufactured assembly, Includes: Ref. 2 - 20

1шт.

6-830-SHBC

CORE

Return Part Number, use this part number to return short block for credit when using a remanufactured assembly, Includes: Ref. 2 - 20

1шт.

J934600

SKELETON ENGINE

BLOCK ASSY - short, new, includes stripped block, pistons, connecting rods and bearings, replaces J931187 block assembly, Includes: Ref. 2 - 20

1шт.

1

J934900

SHORT ENGINE

BLOCK ASSY - stripped, Includes: Ref. 2 - 20

1шт.

2

J917313

BEARING CAP

CAP - bearing, main

7шт.

3

J916369

FLANGE BOLT,Hex, M14 x 2 x 128mm, Cl 10.9

SCREW, , Bearing cap to block Hex Flg Hd, M14 x 128

14шт.

4

J945329

CAMSHAFT BEARING,60.08mm ID x 64.13mm OD x 25mm L

BUSHING - camshaft, see figure 2-35A, Ref. 6, Replaces J901685 and J943199

7шт.

5

A77782

PLUG

- expansion, 58 mm O.D.

1шт.

6

A77586

PLUG

- expansion, 28.9 mm O.D.

1шт.

7

A77506

PLUG

- expansion, 21 mm O.D.

4шт.

8

J905401

PLUG

- expansion, 35 mm O.D.

4шт.

9

J920706

PLUG

- expansion, 22 mm O.D., no longer used in this application

1шт.

9a

J929561

FLANGE BOLT,Hex, M10 x 1.5 x 16mm

BOLT - hex flange, special, 10 - 1.5 x 16 mm, located at single boss above oil fill tube on left-hand side of engine

1шт.

10

J920443

PLUG

- expansion, 30 mm O.D., Replaces A77530 plug, not used in this application

2шт.

11

41-3044

PLUG,Exp, 2 3/4"

1шт.

11a

J926048

O-RING,0.07" Thk x 2.614" ID, -38, Cl 5, 75 Duro

- sealing, 66 mm ID

1шт.

12

J901846

PIN,12.01mm OD x 24mm L

- dowel

4шт.

13

J906619

PLUG,1/8" - 27

- hex, 1/8 inch PT

6шт.

14

A77429

PLUG

- hex socket, 1/2 inch PT

4шт.

15

A77505

PLUG

- hex socket, 3/4 inch PT

2шт.

16

A77533

PLUG

- hex socket, 1 inch PT

1шт.

17

J928031

NOZZLE,8.5mm OD x 30mm L

- piston cooling

12шт.

18

J900257

PIN,10.01mm OD x 16mm L

- dowel, 16 mm long

2шт.

19

217-103

COCK, DRAIN

VALVE - 1/4 inch PT

1шт.

20

J903744

PIPE FITTING,22.42 mm ID x 28 mm OD x 90.2, 64 mm L

TUBE - turbocharger oil drain, not used in this application

1шт.

21

J920762

ELBOW

HOSE - 79 mm (3-1/8 inch) elbow, water

1шт.

22

J918521

HOSE CLAMP,59mm - 83mm

CLAMP - adj., 1-13/16 - 2-3/4 inch diameter, adjustable

1шт.

25

J905779

TUBE,9.52 mm OD x 228 mm L

- dipstick

1шт.

26

J908773

DIPSTICK,485.3mm L

- oil gauge

1шт.

196804A1

KIT

- engine block heater, Includes: Ref. 27 - 29

1шт.

27

196466A1

ELECTRIC CABLE

CABLE - engine block heater

1шт.

28

NSS

NOT SOLD SEPARAT

ELEMENT - heater, 120 volt, 1000 watt, engine block

1шт.

29

J910517

O-RING

- heater sealing, engine block

1шт.

30

A77885

PACKAGE, REPAIR

KIT - engine overhaul, prior to engine serial number 45636465, Includes: Ref. 31 - 38

1шт.

31

A77854

PACKAGE, REPAIR

KIT - piston and sleeve, engine, see figure 2-45A, overhaul

6шт.

32

A77563

BEARING SET

KIT - bearing, upper and lower, standard, see figure 2-45A, engine overhaul kit

6шт.

33

J901597

PIN

- piston, see figure 2-45A, engine overhaul kit

6шт.

34

A77711

BEARING LINER

BEARING - main, upper and lower set, standard, see figure 2-41A, engine overhaul kit

6шт.

35

A77843

BEARING LINER

BEARING - main thrust, upper and lower set, standard, see figure 2-41A, engine overhaul kit

1шт.

36

A77872

GASKET KIT

KIT - gasket, valve grind, engine overhaul

1шт.

37

J931019

GASKET

- cylinder head, standard, see figure 2-29A or 2-33C, engine overhaul kit

1шт.

38

A77679

GASKET KIT

KIT - gasket, oil pan, see figure 2-27A, engine overhaul

1шт.

39

A77913

PACKAGE, REPAIR

KIT - engine overhaul, engine serial number 45636466 and after, overhaul, Includes: Ref. 40 - 47

1шт.

40

A77912

PACKAGE, REPAIR

KIT - piston and sleeve, see figure 2-45A, engine overhaul

6шт.

41

A77563

BEARING SET

KIT - bearing, upper and lower, standard, see figure 2-45A, engine overhaul

6шт.

42

J901597

PIN

- piston, see figure 2-45A, engine overhaul kit

6шт.

43

A77711

BEARING LINER

BEARING - main, upper and lower set, see figure 2-41A, engine overhaul kit

6шт.

44

A77843

BEARING LINER

BEARING - main thrust, upper and lower set, standard, see figure 2-41A, engine overhaul kit

1шт.

45

A77872

GASKET KIT

KIT - gasket, valve grind, engine overhaul

1шт.

46

J931019

GASKET

- cylinder head, standard, see figure 2-29A or 2-33C, engine overhaul kit

1шт.

47

A77679

GASKET KIT

KIT - gasket, oil pan, see figure 2027A, engine overhaul kit

1шт.

Выбрано товаров: 58