Запчасти Case 821B (9-016) - REAR FRAME AND PIVOT (09) - CHASSIS/ATTACHMENTS

Схема запчастей Case 821B - (9-016) - REAR FRAME AND PIVOT (09) - CHASSIS/ATTACHMENTS
33
9
26
30
3
16
22
20
21
6
15
34
11
31
34
3
19
17
14
6
8
10
29
35
23
28
25
5
4
32
1
2
24
13
27
1a
18
7
12
FIT
1:1
100%

Артикул

Название

Примечание

Количество

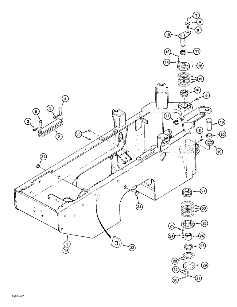
1

107725A1

CHASSIS

FRAME - rear, includes fuel tank, includes fuel tank, Serial Range: -JEE0050601

1шт.

1a

226601A2

CHASSIS

FRAME - rear, includes fuel tank, Start Serial: JEE0050601

1шт.

2

L125219

ROD

LINK - transport/service

1шт.

3

A30338

PIN

- lock

2шт.

4

L125221

LOCK PIN,31.75mm OD x 144.75mm L

PIN - lock, transport/service link, front

1шт.

5

A164277

PIN,31.75mm OD x 107.95mm L

- lock, transport/service link, rear

1шт.

6

219-55

LUBE NIPPLE,90 Degree Elbow, 1/8" - 27 NPTF

NIPPLE, LUBE, 90º, 1/8" NPT x .84" lg

2шт.

7

426-1024

BOLT,Hex, 5/8" - 11 x 1-1/2", Gr 8

- hex, 5/8 NC x 1-1/2 inch, grade 8

1шт.

8

496-81025

WASHER,21/32" x 2 1/2" x .188", HDN

1шт.

9

L125100

SPACER,17.48mm ID x 31.75mm OD x 14.3mm Thk

- 14.3 mm (9/16 inch)

1шт.

10

L125271

PIVOT PIN,63.49mm OD x 198mm L

PIN - upper pivot

1шт.

11

L125008

SEAL,63.5mm ID x 98.58mm OD x 11.89mm Thk

SEAL - upper articulation plate

1шт.

12

L125225

COLLAR

RETAINER - upper pivot

1шт.

13

426-1056

BOLT,Hex, 5/8" - 11 x 3-1/2", Gr 8

- hex, 5/8 NC x 3-1/2 inch, grade 8

4шт.

14

T53567

BEARING WASHER,16.66mm ID x 33.33mm OD x 3.43mm Thk

WASHER - flat, special, hardened; If Used

4шт.

14

496-21053

WASHER,17/32" x 1 1/16" x .134"

; If Used 17/32" x 1 1/16" x .134"

4шт.

15

L125231

SHIM,114mm ID x 195mm OD x 0.11mm Thk

- 0.1 mm thick, upper pivot

1шт.

15

L125232

SHIM,114mm ID x 195mm OD x 0.28mm Thk

- 0.25 mm thick, upper pivot

1шт.

15

L125233

SHIM,114mm ID x 195mm OD x 0.54mm Thk

- 0.5 mm thick, upper pivot

1шт.

16

L125006

BEARING ASSY,63.5mm ID x 112.71mm OD x 60.33mm W

BEARING - tapered roller, upper pivot

1шт.

17

L125561

SEAL,63.5mm ID x 98.58mm OD x 11.89mm Thk

- upper articulation plate

1шт.

18

L125226

PIVOT PIN,96mm OD x 197mm L

PIN - lower pivot

1шт.

19

L125009

SEAL,92.08mm ID x 123.98mm OD x 15.88mm Thk

SEAL - upper articulation plate

1шт.

20

L125227

SPACER

- lower pivot bearing

1шт.

21

L125007

BEARING ASSY,76.2mm ID x 139.99mm OD x 73.03mm W

BEARING - lower pivot

1шт.

22

L125234

SHIM,141mm ID x 215mm OD x 0.11mm Thk

- 0.1 mm thick, lower pivot

1шт.

22

L125235

SHIM,141mm ID x 215mm OD x 0.28mm Thk

- 0.25 mm thick, lower pivot

1шт.

22

L125236

SHIM,141mm ID x 215mm OD x 0.54mm Thk

- 0.5 mm thick, lower pivot

1шт.

23

L125228

COLLAR

RETAINER - lower pivot

1шт.

24

426-1072

BOLT,Hex, 5/8" - 11 x 4-1/2", Gr 8

- hex, 5/8 NC x 4-1/2 inch, G8

4шт.

25

T53567

BEARING WASHER,16.66mm ID x 33.33mm OD x 3.43mm Thk

WASHER - flat, special, hardened; If Used

4шт.

25

496-21053

WASHER,17/32" x 1 1/16" x .134"

; If Used 17/32" x 1 1/16" x .134"

4шт.

26

L125229

SPACER,76.22mm ID x 92.16mm OD x 64.52mm L

- lower pivot bearing

1шт.

27

L125562

SEAL,92.08mm ID x 123.98mm OD x 15.88mm Thk

SEAL - lower pivot

1шт.

28

L125237

SHIM,100mm ID x 178mm OD x 0.11mm Thk

- 0.1 mm thick, lower plate

1шт.

28

L125238

SHIM

- 0.25 mm thick, lower plate

1шт.

28

L125239

SHIM,100mm ID x 178mm OD x 0.54mm Thk

- 0.5 mm thick, lower plate

1шт.

28

L125970

SHIM,100mm ID x 178mm OD x 1.05mm Thk

- 1.0 mm thick, lower plate

1шт.

29

L125230

LARGE PLATE

PLATE - lower pin

1шт.

30

426-1028

BOLT,Hex, 5/8" - 11 x 1-3/4", Gr 8

- hex, 5/8 NC x 1-3/4 inch, grade 8

6шт.

31

426-1056

BOLT,Hex, 5/8" - 11 x 3-1/2", Gr 8

- hex, 5/8 NC x 3-1/2 inch, grade 8

3шт.

32

T53567

BEARING WASHER,16.66mm ID x 33.33mm OD x 3.43mm Thk

WASHER - flat, special, hardened

9шт.

33

NSS

NOT SOLD SEPARAT

BRACKET - lift and tie down, welded to rear frame

2шт.

34

353-417

PLUG,Dome, 2.000" hole, Nylon

- button, 2 inch, nylon, if used

2шт.

35

353-405

PLUG,Dome, .562" hole, Nylon

- button, 9/16 inch, nylon

2шт.

Выбрано товаров: 0