Запчасти Case 821B (9-074) - ROTARY WINDOW LOCK (09) - CHASSIS/ATTACHMENTS

Схема запчастей Case 821B - (9-074) - ROTARY WINDOW LOCK (09) - CHASSIS/ATTACHMENTS
8
6
5
3
10
7
9
2
11
11
1
4
10
FIT
1:1
100%

Артикул

Название

Примечание

Количество

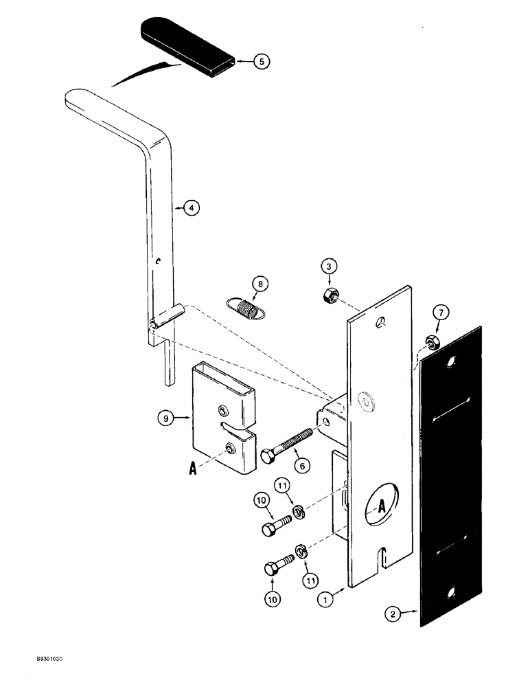
1

1339604C2

SUPPORT

BRACKET - lever mount

1шт.

2

1981892C1

SEAL

- bracket

1шт.

3

425-106

NUT,3/8"-16, Cl 5

2шт.

4

1340189C1

HANDLE

- release, open window retainer

1шт.

5

1339797C1

GRIP

- release handle

1шт.

6

426-432

BOLT,Hex, 1/4" - 20 x 2", Gr 8

- hex, 1/4 NC x 2 inch, grade 8

1шт.

7

425-104

NUT,1/4"-20, Cl 5

- hex, 1/4 inch NC

1шт.

8

A163012

SPRING

- return

1шт.

9

1340187C2

LATCH

CATCH - female, open window retainer, threaded mounting holes

1шт.

10

426-412

BOLT,Hex, 1/4" - 20 x 3/4", Gr 8

- hex, 1/4 NC x 3/4 inch, grade 8

2шт.

11

492-11025

LOCK WASHER,1/4"

WASHER, LOCK, 1/4"

2шт.

Выбрано товаров: 0