Запчасти Case 821B (2-25A) - OIL FILTER AND COOLER 6T-830 EMISSIONS CERTIFIED ENGINE TRACTOR P.I.N. JEE0050601 AND AFTER (02) - ENGINE

Схема запчастей Case 821B - (2-25A) - OIL FILTER AND COOLER 6T-830 EMISSIONS CERTIFIED ENGINE TRACTOR P.I.N. JEE0050601 AND AFTER (02) - ENGINE
3
10
7
9
14
8
5
15
12
18
16
4
11
13
20
19
1
6
2
17
FIT
1:1
100%

Артикул

Название

Примечание

Количество

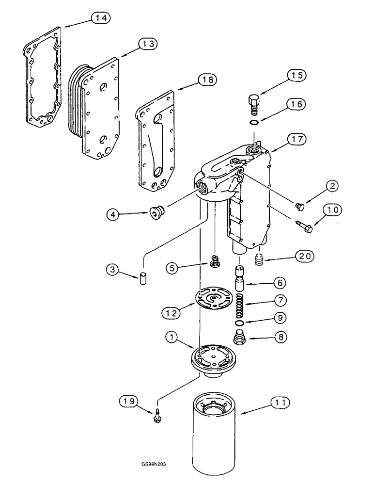
1

J918334

FILTER HEAD

HEAD, FILTER, Oil

1шт.

2

J906619

PLUG,1/8" - 27

- hex, 1/8 inch PT

2шт.

3

A77722

PIN,7.95mm OD x 12.83mm L

- dowel, locating

1шт.

4

A77505

PLUG

- hex socket, 3/4 inch PT, filter head

1шт.

5

J933615

VALVE

- relief, pressure, replaces J927622 valve

1шт.

6

J918532

PLUNGER

- regulator

1шт.

7

A77541

SPRING

BOLT - heavy hex flange, M6 - 1.0 x 30

1шт.

8

J919016

PLUG

- hex, special, 24 mm - 1.50, used with Ref. 17 only, if used, includes: Ref. 9

1шт.

9

238-5022

O-RING,0.07" Thk x 0.99" ID, -22, Cl 5, 75 Duro

-022, 70 Duro, .989" ID x .070" Thk, If used

1шт.

9a

J931084

PLUG

- hex, special, 24 mm - 1.50, used with Ref. 17A only, if used, not shown

1шт.

9b

J930911

O-RING,0.07" Thk x 0.8" ID

SEAL - O-ring, 3/4 ID x 1/16, if used, not shown

1шт.

10

845-8065

BOLT,Hvy Hex, M8 x 65mm, Cl 8.8

- heavy hex flange, 8 - 1.25 x 65 mm, oil filter head to cylinder block

11шт.

11

J919562

ENGINE OIL FILTER

FILTER - oil, cartridge, engine

1шт.

12

J921605

GASKET

- filter head

1шт.

13

J918175

CORE, RADIATOR

CORE - oil cooler

1шт.

14

J918174

GASKET,0.71mm Thk

- cooler core

1шт.

J934410

BY-PASS VALVE

THERMOSTAT ASSEMBLY - temperature, replaces J923477 thermostat assembly, includes: Ref. 15 and 16

1шт.

15

NSS

NOT SOLD SEPARAT

THERMOSTAT - temperature

1шт.

16

A77724

O-RING,3.05mm Thk x 23.62mm ID

- sealing

1шт.

17

J922882

COVER

- oil cooler, used with Ref. 8, J919016 plug and Ref. 9, 238-5022 O-ring only, if used

1шт.

17a

J931077

COVER

- oil cooler, used with Ref. 9A, J931084 plug and Ref. 9B, J930911 O-ring only, if used, not shown

1шт.

18

J929011

GASKET,1.19mm Thk

- cooler cover, oil

1шт.

19

J907860

FLANGE BOLT,Hex, M8 x 25mm, Spcl

BOLT - hex flange, special, 8 - 1.25 x 25 mm

4шт.

20

217-439

PLUG,Hex Soc, 1/2" - 14 NPTF

- hex socket headless, 1/2 inch PT, Water drain

1шт.

Выбрано товаров: 24