Запчасти Case 821B (2-27A) - OIL PUMP AND OIL PAN, 6T-830 EMISSIONS CERTIFIED ENGINE, TRACTOR P.I.N. JEE0050601 AND AFTER (02) - ENGINE

Схема запчастей Case 821B - (2-27A) - OIL PUMP AND OIL PAN, 6T-830 EMISSIONS CERTIFIED ENGINE, TRACTOR P.I.N. JEE0050601 AND AFTER (02) - ENGINE
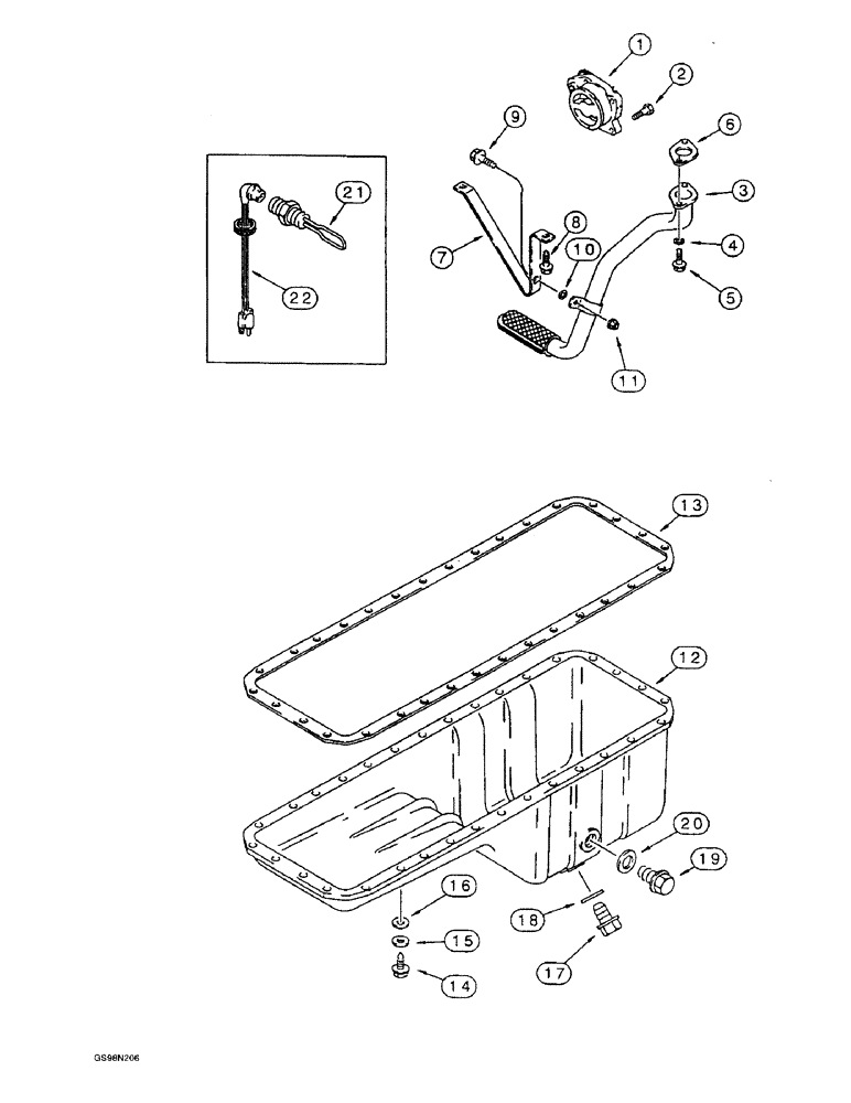
2
6
4
1
18
22
8
9
20
11
7
17
19
21
13
3
16
12
5
10
14
15
FIT
1:1
100%

Артикул

Название

Примечание

Количество

1

J930338

PUMP, ENGINE OIL

PUMP ASSEMBLY - oil, 24 teeth drive gear, replaces J926201 pump assembly

1шт.

JR930338

REMAN-ENG OIL PUMP

REMAN-ENGINE OIL PUMP Remanufactured Oil Pump, 24 teeth drive gear; For N.A. only; Replaces JR926201 pump assembly

1шт.

JC926201

CORE-ENGINE OIL PUMP

CORE-ENGINE OIL PUMP RETURN NUMBER - For N.A. only

1шт.

2

J900677

BOLT,Hex

BOLT, hex, full threads, M8 - 1.25 x 30, replaces 614-8030 bolt

4шт.

3

J910787

TUBE

TUBE - with screen, oil suction

1шт.

4

J926865

SPACER,6.9mm ID x 12.7mm OD x 14mm L

SPACER - mounting, replaces J908738 spacer

2шт.

5

845-6030

BOLT,Hvy Hex, M6 x 30mm, Cl 8.8

BOLT - heavy hex flange, M6 -1.0 x 30

2шт.

6

J914302

GASKET

GASKET - mounting, oil suction tube

1шт.

Part of Gasket Kit, P/N A77679

1шт.

7

J927611

BRACKET

BRACE - suction tube

1шт.

8

845-6015

BOLT,Hvy Hex, M6 x 15mm, Cl 8.8

BOLT, Hex Flg, M6 x 15, 8.8, Full Thd

2шт.

9

845-6020

BOLT,Hvy Hex, M6 x 20mm, Cl 8.8

BOLT - heavy hex flange, 6 - 1.0 x 20 mm

1шт.

10

J910960

WASHER

WASHER - flat, special, retaining

1шт.

11

J906216

FLANGE NUT

NUT - hex flange, special, M6 x 1.0

1шт.

12

J914013

PAN, ENGINE OIL

PAN, OIL PAN - oil

1шт.

13

NSS

NOT SOLD SEPARAT

Gasket - oil pan, order A777679 kit shown below

1шт.

Part of Gasket Kit, P/N A77679

1шт.

14

J920400

FLANGE BOLT,Hex, M8 x 1.25 x 21mm, Gr 8.8

SCREW - hex flange cap, special, M8 - 1.25 x 25

32шт.

15

J910266

LOCK WASHER

WASHER - spring, Belleville

32шт.

16

J908316

WASHER

WASHER - flat, special, M9 x 16 x 1

32шт.

17

J924147

PLUG,M18 x 1.5

PLUG - hex magnetic, special, M18, oil drain

1шт.

18

J920773

SEALING WASHER

WASHER - sealing, drain plug

1шт.

Part of Gasket Kit, P/N A77679

1шт.

19

J924148

PLUG,M22 x 1.5

PLUG - hex magnetic, special, M22 - 1.5, heater hole

1шт.

20

J902425

SEALING WASHER,22.2mm ID x 26.9mm OD x 1.75mm Thk

WASHER - sealing, plug, heater hole

1шт.

Part of Gasket Kit, P/N A77679

1шт.

A77679

GASKET KIT

KIT gasket, oil pan, includes Ref. 6, 13, 18 and 20

1шт.

A77580

SERVICE KIT

KIT - oil pan heater, engine oil

1шт.

When engine oil heater kit is ordered, Ref. 20, J902425 washer must be ordered also.

1шт.

21

NSS

NOT SOLD SEPARAT

ELEMENT - heater, 120 volt engine oil

1шт.

22

196466A1

ELECTRIC CABLE

CABLE - 1829 mm (72 in) engine oil heater, replaces J905113 cable

1шт.

Выбрано товаров: 31