Запчасти Case 821B (2-36) - CYLINDER BLOCK, 6T-830 ENGINE, PRIOR TO P.I.N. JEE0050601 (02) - ENGINE

Схема запчастей Case 821B - (2-36) - CYLINDER BLOCK, 6T-830 ENGINE, PRIOR TO P.I.N. JEE0050601 (02) - ENGINE
14
11
14
9
20
7
22
25
29
3
2
26
4
18
7
8
8
13
19
7
7
10
15
17
6
12
21
28
16
5
1
14
27
12
FIT
1:1
100%

Артикул

Название

Примечание

Количество

1989011C3

BASIC ENGINE

ENGINE ASSEMBLY - complete, 6T-830, includes all parts except starter, altenator, fan, fan belt, air cleaner, muffler and exhaust pipe, for service order basic engine below, includes: Ref. 2 - 29

1шт.

1989011C3R

REMAN-REPLACEMENT EN

1шт.

1989011C3C

CORE-REPLACEMENT ENG

Return Number

1шт.

47466038R

REMAN-BASIC ENGINE

Remanufactured Basic Engine Assembly, assembly includes short block assembly, cylinder head, valve cover, front cover, oil pan, water pump, thermostat and gasket kit to transfer trim parts

1шт.

47466038C

CORE-BASIC ENGINE

Return Part Number

1шт.

1989098C3

BASIC ENGINE

ENGINE ASSEMBLY - basic, includes all parts except starter, alternator, fan, fan belt, air cleaner, muffler, exhaust manifold, flywheel and housing, oil fill and dipstick, fuel injection pump, injectors and lines, front crank pully and belt tensioner

1шт.

182129A1

BASIC ENGINE

ENGINE ASSEMBLY - basic, includes all parts except starter, alternator, fan, fan belt, air cleaner, muffler, exhaust manifold, flywheel and housing, oil fill and dipstick, fuel injection pump, injectors and lines, front pulley.

1шт.

182129A2R

REMAN-BASIC ENGINE

1шт.

182129A2C

CORE-BASIC ENGINE

Return Part Number, Basic Engine

1шт.

Hose only 588 mm length per print, not 1520 mm per catalog

1шт.

JR921843

ENGINE, EXCHANGE

Engine (Exchange) Block Assembly, Short, Remanufactured, Component Parts Shown On This Figure Do Not Apply To The Remanufactured Assembly, Prior To Engine Serial Number 44833938, Includes: Ref. 2 - 29

1шт.

JC921843

CORE-SHORT ENGINE

Return Part Number, Use This Part Number To Return Short Block For Credit When Using a Remanufactured Assembly, Includes: Ref. 2 - 29

1шт.

J934597

SKELETON ENGINE

BLOCK ASSEMBLY - short, new, includes stripped block, pistons, connecting rods and bearnigs, crankshaft and bearings, replaces J921843 and J926152 stripped block assembly, includes: Ref. 2 - 29

1шт.

Hose only 588 mm length per print, not 1520 mm per catalog

1шт.

JR919934

BLOCK

Block Assembly, stripped, Remanufactured, Component Parts Shown On This Figure Do Not Apply To The Remanufactured Assembly, No Longer Available, Order J928694 Stripped Block Assembly, Includes: Ref. 2 - 29

1шт.

JC919374

CORE-ENGINE

Return Part Number, Use This Part Number To Return Stripped Core For Credit When Using a Remanufactured Assembly, includes: Ref. 2 - 29

1шт.

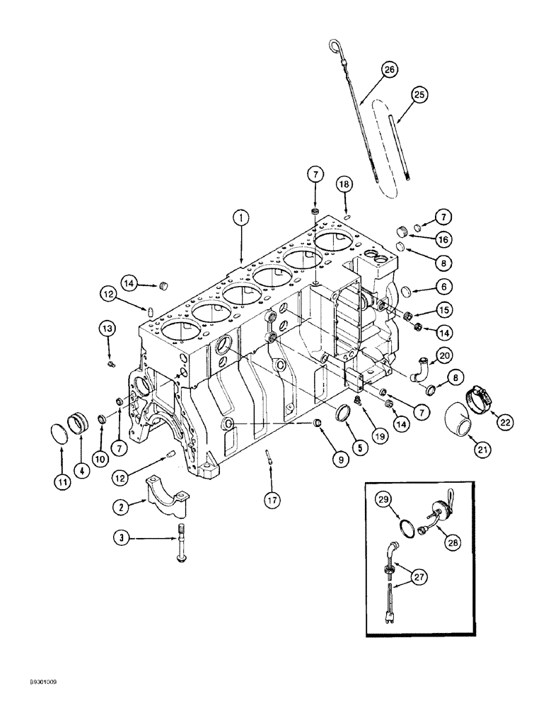
1

J928694

BLOCK ASSEMBLY - stripped engine, replaces J919934, J926145 and J929604 assemblies, includes: Ref. 2 - 29

1шт.

Hose only 588 mm length per print, not 1520 mm per catalog

1шт.

2

J917313

BEARING CAP

CAP - bearing, main

7шт.

3

J916369

FLANGE BOLT,Hex, M14 x 2 x 128mm, Cl 10.9

SCREW, Hex Flg Hd, M14 x 128

14шт.

4

J901685

BUSHING

BUSHING - camshaft, see Fig. 2-34, Ref. 6

7шт.

5

A77782

PLUG

PLUG - expansion, 58 mm OD

1шт.

6

A77586

PLUG

PLUG - expansion, 28.9 mm OD

1шт.

7

A77506

PLUG

PLUG - expansion, 21 mm O.D.

4шт.

8

J905401

PLUG

PLUG - expansion, 35 mm OD

4шт.

9

A77439

PLUG

PLUG - expansion, 22 mm OD, not used in this application

1шт.

A77716

BLOCK

KIT - block hardware, no longer available, order components separately

1шт.

Early basic engines are high mount engines. This model requires a low mount engine. To adapt 1989098C2 engine, remove the front timing gear cover and oil pan and replace it with ones from original engine or order new shown on figures 2-18 and 2-26.

1шт.

10

A77530

PLUG

PLUG - expansion, 30 mm OD

2шт.

11

41-3044

PLUG,Exp, 2 3/4"

PLUG, (70 mm) Replaces J901969 Exp, 2 3/4"

1шт.

12

J901846

PIN,12.01mm OD x 24mm L

PIN - dowel

4шт.

13

J906619

PLUG,1/8" - 27

PLUG - hex, 1/8 inch PT

6шт.

14

A77429

PLUG

PLUG - hex socket, 1/2 inch PT

5шт.

15

A77505

PLUG

PLUG - hex socket, 3/4 inch PT

2шт.

16

A77533

PLUG

PLUG - hex socket, 1 inch PT

1шт.

17

J919003

NOZZLE INJECTION

NOZZLE - piston cooling

12шт.

18

J900257

PIN,10.01mm OD x 16mm L

PIN - dowel, 16 mm long

2шт.

19

217-103

COCK, DRAIN

VALVE - 1/4 PT, coolant, replaces A77425 valve

1шт.

20

J903744

PIPE FITTING,22.42 mm ID x 28 mm OD x 90.2, 64 mm L

TUBE - turbocharger oil drain

1шт.

21

J920762

ELBOW

HOSE - 79 mm (3-1/8 inch), elbow

1шт.

22

J918521

HOSE CLAMP,59mm - 83mm

CLAMP - adj., 1-13/16 - 2-3/4 inch dia, to 2-3/4 inch

1шт.

25

J905779

TUBE,9.52 mm OD x 228 mm L

TUBE - dipstick

1шт.

26

J908773

DIPSTICK,485.3mm L

DIPSTICK - oil gauge

1шт.

196804A1

KIT

KIT - engine block heater, replaces A77595 kit, includes: Ref. 27 - 29

1шт.

27

196466A1

ELECTRIC CABLE

CABLE - engine block heater, replaces J905113

1шт.

28

NSS

NOT SOLD SEPARAT

ELEMENT - heater, 120 volt ENGINE BLOCK

1шт.

29

J910517

O-RING

O-RING - heater sealing ENGINE BLOCK

1шт.

Выбрано товаров: 47