Запчасти Case 821B (4-33A) - REAR HARNESS TO RELAY PANEL, P.I.N. JEE0040040 AND AFTER (04) - ELECTRICAL SYSTEMS

Схема запчастей Case 821B - (4-33A) - REAR HARNESS TO RELAY PANEL, P.I.N. JEE0040040 AND AFTER (04) - ELECTRICAL SYSTEMS
20
8
19
7
13
17
3
3
5
6
4
7
18
11
4
9
16
25
2
23
23
21
24
7
1
4
3
14
10
26
24
24
15
12
22
FIT
1:1
100%

Артикул

Название

Примечание

Количество

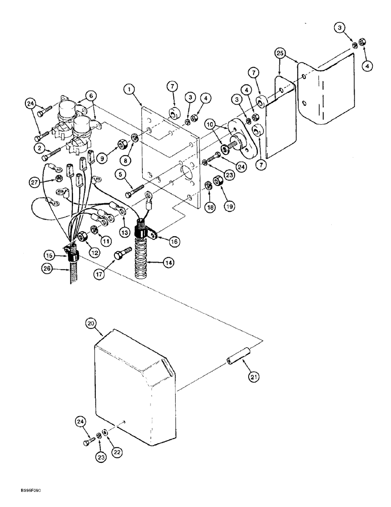
1

125058A1

LARGE PLATE

PANEL - relay mounting

1шт.

2

426-420

BOLT,Hex, 1/4" - 20 x 1-1/4", Gr 8

- hex, 1/4 NC x 1-1/4 inch, grade 8

2шт.

3

492-11025

LOCK WASHER,1/4"

WASHER, LOCK, 1/4"

6шт.

4

425-104

NUT,1/4"-20, Cl 5

- hex, 1/4 inch NC

6шт.

5

426-420

BOLT,Hex, 1/4" - 20 x 1-1/4", Gr 8

- hex, 1/4 NC x 1-1/4 inch, grade 8

2шт.

6

120398A1

RELAY

- 24 volt

2шт.

7

S77915

SPACER

- relay panel mounting

4шт.

8

492-11038

LOCK WASHER,3/8"

2шт.

9

425-106

NUT,3/8"-16, Cl 5

2шт.

L124085

CONNECTOR, ELEC

BLOCK - terminal, includes: Ref. 10 - 12

1шт.

10

NSS

NOT SOLD SEPARAT

BODY - terminal block, includes flat washer

1шт.

11

492-11038

LOCK WASHER,3/8"

1шт.

12

425-106

NUT,3/8"-16, Cl 5

1шт.

13

128785A1

ELECTRICAL WIRE

WIRE - jumper, Serial Range: block-relay

1шт.

14

128784A1

HARNESS

CABLE -, Serial Range: relay-starter

1шт.

15

515-23127

CLAMP,1/2", Insul, 3/8" Bolt

P-type 1/2", Insul, 3/8" Bolt

1шт.

16

515-23190

CLAMP,3/4", Insul, 3/8" Bolt

P-type 3/4", Insul, 3/8" Bolt

1шт.

17

426-616

BOLT,Hex, 3/8" - 16 x 1", Gr 8

2шт.

18

492-11038

LOCK WASHER,3/8"

2шт.

19

425-106

NUT,3/8"-16, Cl 5

2шт.

20

L114612

COVER

- relay panel

1шт.

21

L114195

SPACER

- relay cover

1шт.

22

495-21031

WASHER,1/4"

- flat, 5/16 x 3/4 x 1/16 inch

1шт.

23

492-11025

LOCK WASHER,1/4"

WASHER, LOCK, 1/4"

2шт.

24

426-412

BOLT,Hex, 1/4" - 20 x 3/4", Gr 8

- hex, 1/4 NC x 3/4 inch, grade 8

4шт.

25

L128055

SUPPORT

SHIELD - heat, terminal block, two used on models with auxiliary steering

1-2шт.

26

130404A1

HARNESS

- rear, see Fig. 4-29A, 4-30, 4-44, and 4-58 for continuation of the harness, Serial Range: JEE0040040-JEE0042309

1шт.

26

244237A1

HARNESS

- rear, see Fig. 4-29A, 4-30, 4-44, and 4-58 for continuation of the harness, replaces 192486A1 harness, Serial Range: JEE0042310-JEE0052700

1шт.

26

244237A1

HARNESS

- rear, see Fig. 4-29A, 4-30, 4-44, and 4-58 for continuation of the harness, Start Serial: JEE0052701

1шт.

27

829-1406

NUT,Hex, M6 x 1, Cl 10.9

4шт.

Выбрано товаров: 30