Запчасти Case 621C (08-002) - RESERVOIR (08) - HYDRAULICS

Схема запчастей Case 621C - (08-002) - RESERVOIR (08) - HYDRAULICS
8
37
25
27
9
22
11
5
10
17
2
18
15
1
13
28
3
34
24
16
36
7
26
12
17
6
4
12
33
20
35
37a
23
14
16
21
11
FIT
1:1
100%

Артикул

Название

Примечание

Количество

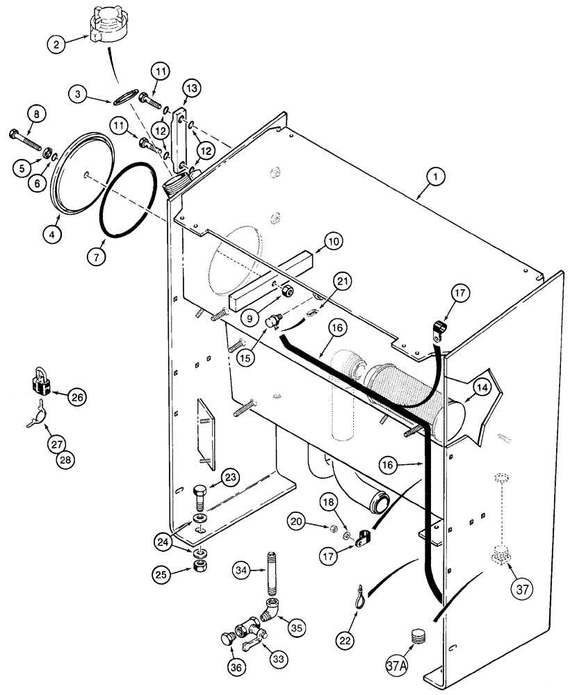
244889A1

TANK, HYDRAULIC OIL

Includes Refs. 1 - 10, no longer available, Order: P/N 244889A2

1шт.

244889A2

TANK, HYDRAULIC OIL

Includes Refs. 1 - 10, Replaces: P/N 244889A1

1шт.

1

NSS

NOT SOLD SEPARAT

RESERVOIR

1шт.

2

L128669

CAP

internal thread

1шт.

3

R46984

GASKET

1шт.

4

L128352

COVER

1шт.

5

L78045

WASHER

1шт.

6

238-5112

O-RING,0.103" Thk x 0.487" ID, -112, Cl 5, 75 Duro

1шт.

7

238-5442

O-RING,0.275" Thk x 7.22" ID, -442, Cl 5, 75 Duro

7-1/4 x 1/4

1шт.

8

113-2462

BOLT,Hex, 1/2" - 13 x 3", Gr 5

1/2 x 1

1шт.

9

131-510

LOCK NUT,1/2"-13

1шт.

10

L50741

BAR

1шт.

L116247

GAUGE

ASSY., sight, oil level, Includes: Refs. 11 - 13

1шт.

11

N13213

BOLT

BOLT

2шт.

12

238-7112

O-RING,0.103" Thk x 0.487" ID, -112, Cl 7, 75 Duro

4шт.

13

NSS

NOT SOLD SEPARAT

GAUGE

1шт.

14

196955A1

FILTER SCREEN

oil, suction

1шт.

15

235417A1

VENT

pressure relief

1шт.

16

31-2281

HOSE,9.5 mm ID x 1828.80 mm

drain, 72 in, (1829 mm), cut from 32-12X

1шт.

17

515-23159

CLAMP,5/8", Insul, 3/8" Bolt

2шт.

18

895-15010

WASHER,11mm ID x 24mm OD x 2mm Thk

2шт.

20

832-10410

NUT,M10 x 1.5, Cl 8

2шт.

21

214-1704

HOSE CLAMP,#04, 0.25" - 0.62", Type M Worm

1шт.

22

L18337

CABLE TIE,9.95"-12.1" lg

CABLE STRAP 15 in

1шт.

23

627-16050

BOLT,Hex, M16 x 2 x 50mm, Cl 10.9, Full Thd

4шт.

24

896-15016

WASHER,17.5mm ID x 34mm OD x 5mm Thk

8шт.

25

829-1416

NUT,M16, Cl 10

4шт.

26

D93753

PADLOCK

includes keys, Refs. 27, 28, if used

1шт.

27

D93751

SET OF 2 KEYS

for Yale padlock only, if used

2шт.

28

R29555

KEY

for Master padlock only, if used

2шт.

33

L124327

DRAIN VALVE

hydraulic reservoir

1шт.

34

221-1223

PIPE,Nipple, 3/4" NPT x 6"

1шт.

35

217-1020

90 ELBOW,3/4" - 14 Female x 3/4" - 14 Male

1шт.

36

217-415

PLUG,Hex Hd, 3/4" - 14 NPT

1шт.

37

217-532

DRAIN PLUG,Sq Hd, 1 1/4"-11 1/2 NPTF

No longer used, Order: P/N 217-445

1шт.

37a

217-445

PLUG,Hex Soc, 1-1/4" - 11-1/2 NPTF

Replaces 217-532

1шт.

Выбрано товаров: 36