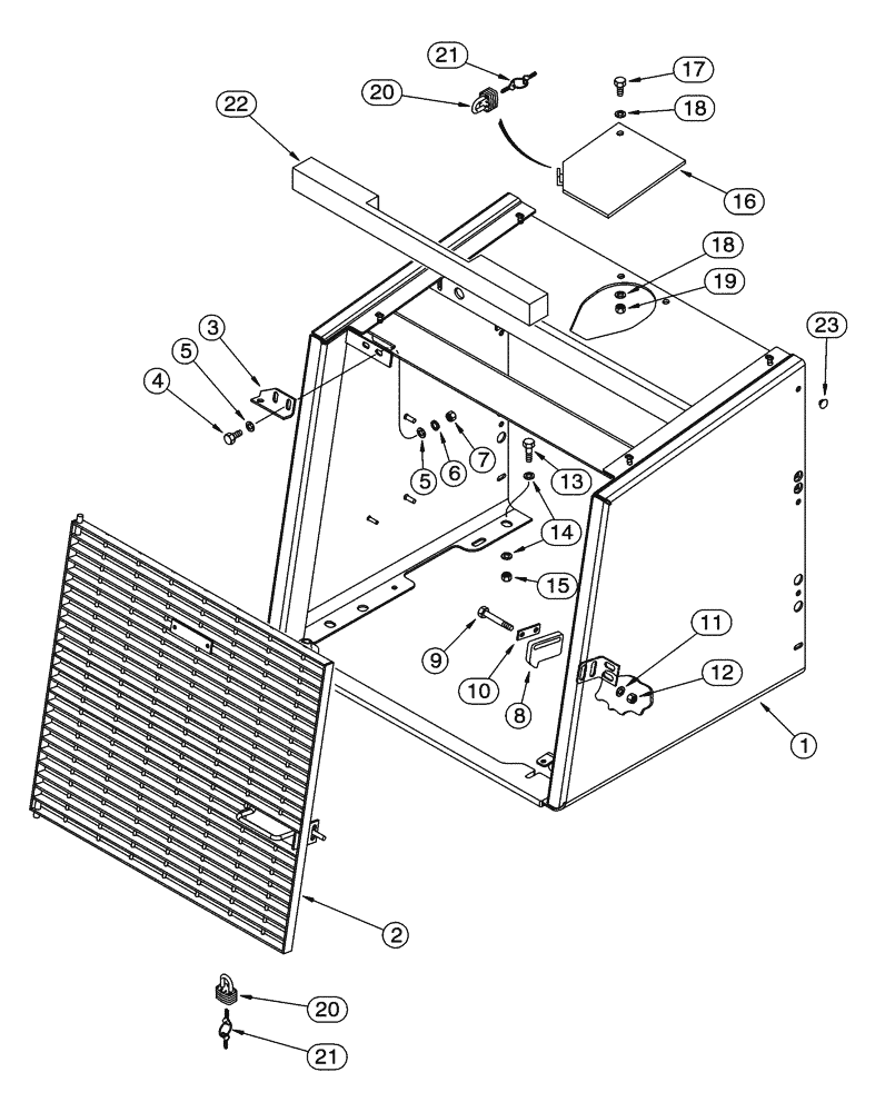
Запчасти Case 621C (09-018) - GUARD, RADIATOR GRILLE, NORTH AMERICA ONLY (09) - CHASSIS

Схема запчастей Case 621C - (09-018) - GUARD, RADIATOR GRILLE, NORTH AMERICA ONLY (09) - CHASSIS
5
11
20
15
4
8
12
3
10
17
13
18
7
20
16
1
9
2
14
21
21
22
6
19
18
23
5
FIT
1:1
100%

Артикул

Название

Примечание

Количество

1

284347A1

SHEET

GUARD radiator, no longer available, Order: P/N 284347A2

1шт.

1

284347A2

SHEET

GUARD radiator, Replaces: P/N 284347A1

1шт.

2

284745A1

GRILLE ASSY

1шт.

3

L118936

SUPPORT

grille

1шт.

4

627-10030

BOLT,Hex, M10 x 1.5 x 30mm, Cl 10.9, Full Thd

2шт.

5

895-15010

WASHER,11mm ID x 24mm OD x 2mm Thk

4шт.

6

892-11010

LOCK WASHER,M10

2шт.

7

829-1410

NUT,M10 x 1.5, Cl 10.9

2шт.

8

L126920

LATCH

GRILLE

1шт.

9

827-10040

BOLT,Hex, M10 x 1.5 x 40mm, Cl 10.9, Full Thd

2шт.

10

L126841

LARGE PLATE

PLATE, LARGE catch

1шт.

11

496-81003

WASHER,10.31mm ID x 26.98mm OD x 3.07mm Thk

2шт.

12

832-10410

NUT,M10 x 1.5, Cl 8

2шт.

13

627-16050

BOLT,Hex, M16 x 2 x 50mm, Cl 10.9, Full Thd

4шт.

14

896-15016

WASHER,17.5mm ID x 34mm OD x 5mm Thk

8шт.

15

832-10416

NUT,M16 x 2, Cl 8

4шт.

16

L126779

LARGE PLATE

PLATE, LARGE lockup, radiator

1шт.

17

627-10030

BOLT,Hex, M10 x 1.5 x 30mm, Cl 10.9, Full Thd

1шт.

18

895-15010

WASHER,11mm ID x 24mm OD x 2mm Thk

2-3шт.

19

832-10410

NUT,M10 x 1.5, Cl 8

1шт.

20

D93753

PADLOCK

includes keys, Includes: Ref. 21

2шт.

21

D93751

SET OF 2 KEYS

Yale lock, if used

2шт.

21

R29555

KEY

Master lock, if used

2шт.

22

L127462

SEAL

radiator guard to hood, 28-3/4 in, (730 mm)

1шт.

23

L126856

RIVET

rubber

6шт.

Выбрано товаров: 25