Запчасти Case 621C (09-071) - NUMBER PLATE, EUROPE ONLY (09) - CHASSIS

Схема запчастей Case 621C - (09-071) - NUMBER PLATE, EUROPE ONLY (09) - CHASSIS
1
2
4
5
3
FIT
1:1
100%

Артикул

Название

Примечание

Количество

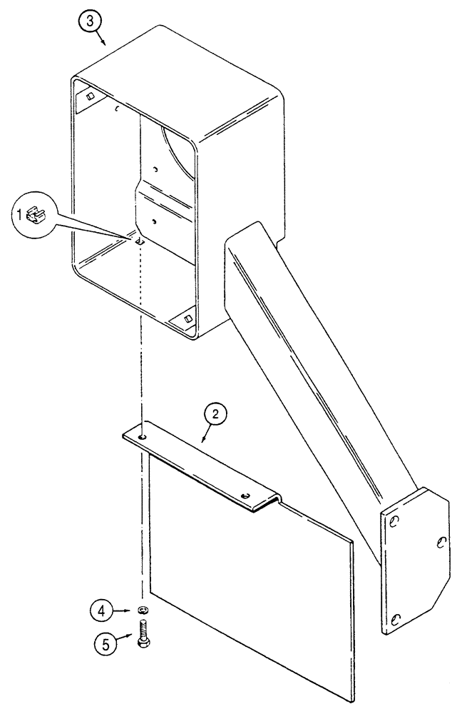
1

231-1445

NUT,5/16"-18, GB

2шт.

2

E134472

LARGE PLATE

PLATE, LARGE number

1шт.

3

E132216

SUPPORT

front lamp, left hand, no longer used, Order: P/N 349448A2

1шт.

3

349448A2

SUPPORT

front lamp, left hand, Replaces: P/N E132216, P/N 349448A1

1шт.

4

495-21038

WASHER,5/16"

(flat, 3/8 x 7/8 x 3/32")

2шт.

5

426-516

BOLT,Hex, 5/16" - 18 x 1", Gr 8

2шт.

Выбрано товаров: 6