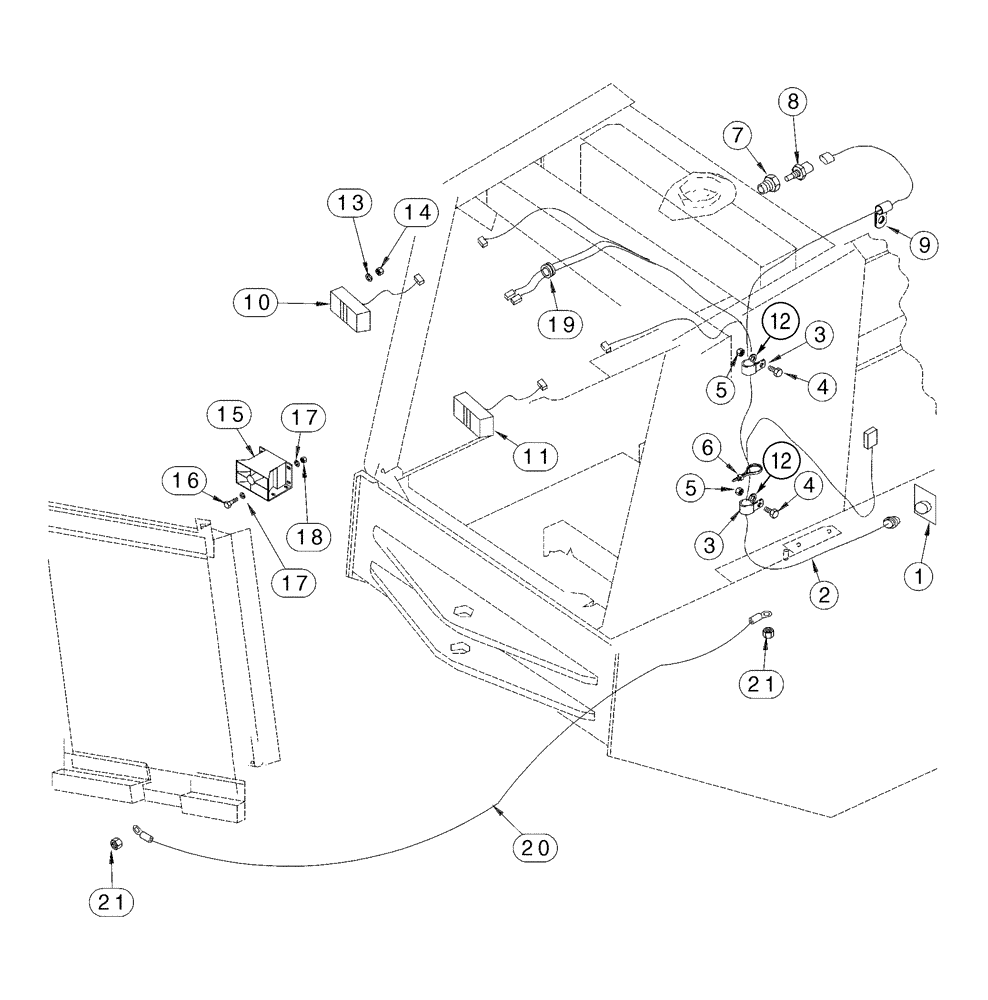
Запчасти Case 621C (04-072) - MOUNTING BACKUP ALARM AND REAR LAMP, NORTH AMERICA ONLY (04) - ELECTRICAL SYSTEMS

Схема запчастей Case 621C - (04-072) - MOUNTING BACKUP ALARM AND REAR LAMP, NORTH AMERICA ONLY (04) - ELECTRICAL SYSTEMS
7
4
21
16
12
8
12
2
6
17
4
3
18
'
10
17
1
5
11
20
15
3
5
19
14
21
9
FIT
1:1
100%

Артикул

Название

Примечание

Количество

1

284514A2

HARNESS

rear chassis

1шт.

2

284509A1

HARNESS

rear lamp

1шт.

3

515-23159

CLAMP,5/8", Insul, 3/8" Bolt

2шт.

4

627-10025

BOLT,Hex, M10 x 1.5 x 25mm, Cl 10.9, Full Thd

2шт.

5

832-10410

NUT,M10 x 1.5, Cl 8

5шт.

6

L11541

CABLE TIE,203.2mm L, Nylon

CABLE STRAP REDUCER

1шт.

7

217-41

REDUCER,3/8"-18 NPTF x 1/8"-27 Fem NPTF

1шт.

8

143417A2

SENSOR

coolant level

1шт.

9

515-2295

CLAMP,3/8", Insul, 5/16" Bolt

1шт.

10

A187962

LAMP, TAIL

LIGHT, TAIL LAMP ASSY., stop and tail, left hand, See figure 4-87

1шт.

11

A187961

LAMP, TAIL

LIGHT, TAIL LAMP ASSY., stop and tail, right hand, See figure 4-87

1шт.

12

895-18010

WASHER,10.5mm ID x 18mm OD x 1.6mm Thk

2шт.

13

892-11005

LOCK WASHER,M5

8шт.

14

825-1405

NUT,M5, Cl 8

8шт.

15

D121972

ALARM

backup

1шт.

16

627-6025

BOLT,Hex, M6 x 1 x 25mm, Cl 10.9, Full Thd

4шт.

17

495-11028

WASHER,1/4", SAE

(9/32 x 5/8 x 1/16")

8шт.

18

832-10406

NUT,M6 x 1, Cl 8

4шт.

19

248-2399

GROMMET,3/8" ID x 1" Groove Dia, Str Cut

1шт.

20

253186A2

HARNESS

ground

1шт.

21

253347A1

NUT,Hex, M10 x 1.5

special, brass, M10 - 1.5

2шт.

Выбрано товаров: 21