Запчасти Case 621C (05-008) - VALVE ASSEMBLY STEERING CONTROL (05) - STEERING

Схема запчастей Case 621C - (05-008) - VALVE ASSEMBLY STEERING CONTROL (05) - STEERING
13
20
11
15
24
6
18
23
17
10
2
7
3
5
9
8
12
1
16
14
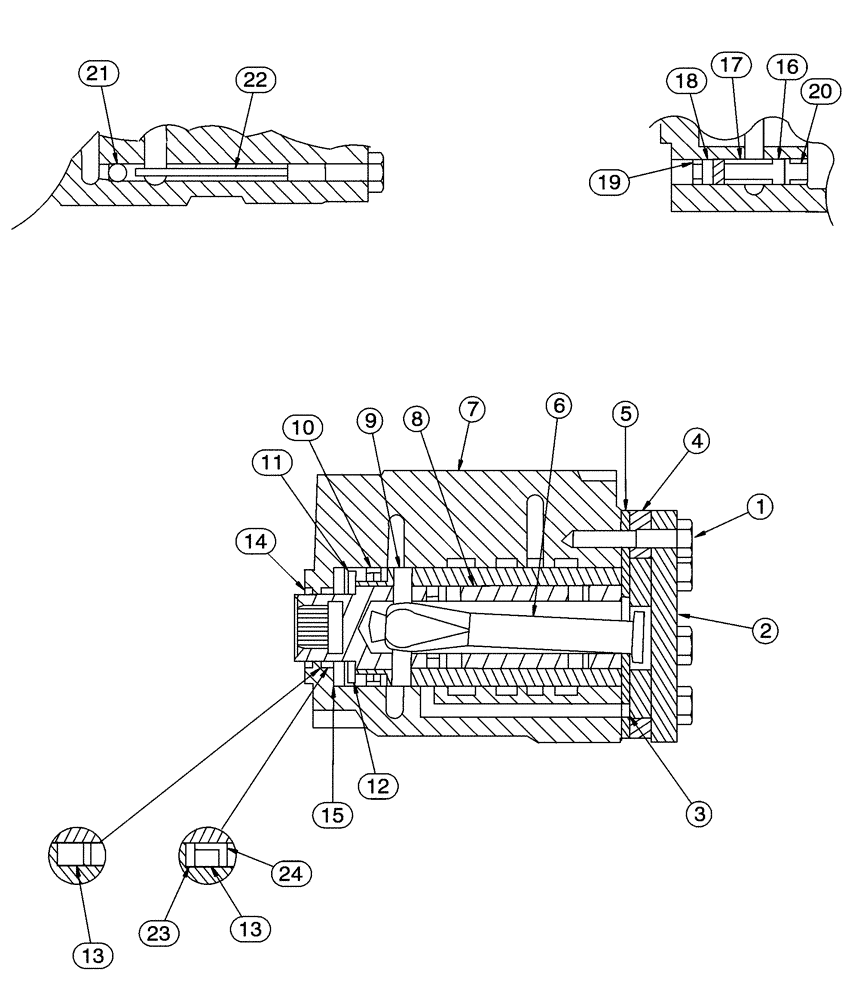
21
22
13
19
4
FIT
1:1
100%

Артикул

Название

Примечание

Количество

276368A1

VALVE, CONTROL

steering, includes steering column, Consists of: P/N 320121A1, Refs. 1-26, no longer used, Order: P/N 276368A2

1шт.

276368A2

VALVE, CONTROL

steering, includes steering column, Consists of: P/N 320121A2, Refs. 1-27, Replaces: P/N 276368A1

1шт.

320121A1

VALVE, CONTROL

steering, does not include steering column, Consists of: Refs. 1-24, 27, no longer used, Order: P/N 320121A2

1шт.

320121A2

VALVE, CONTROL

steering, does not include steering column, Consists of: Refs. 1-24, 27, Replaces: 320121A1

1шт.

1

320198A1

SCREW

7шт.

2

298585A1

CAP

1шт.

3

298587A1

SEAL

3шт.

4

320218A1

GEAR

1шт.

5

298589A1

SPACER

1шт.

6

320667A1

DRIVE

1шт.

7

NSS

NOT SOLD SEPARAT

HOUSING

1шт.

8

NSS

NOT SOLD SEPARAT

SLEEVE

1шт.

9

298591A1

PIN

1шт.

10

298592A1

SPRING

used with, P/N 276378A1

1шт.

10

399331A1

SPRING

used with, P/N 276378A2

1шт.

11

298593A1

NEEDLE BEARING

1шт.

12

298594A1

BEARING CUP

2шт.

13

238-5121

O-RING,0.103" Thk x 1.049" ID, -121, Cl 5, 75 Duro

1шт.

14

320196A1

SEAL

used with, P/N 276378A1

1шт.

14

400210A1

SEAL

used with, P/N 276378A2

1шт.

298612A1

SEAL KIT

PACKAGE seals, Consists of: Refs. 3, 13, 23, and 24, used with P/N 276368A1

1шт.

399334A1

SEAL KIT

PACKAGE seals, component parts not serviced separately, used with P/N 276368A2, not illustrated

1шт.

15

298595A1

RING

1шт.

16

320678A1

VALVE POPPET

2шт.

17

320677A1

SPRING

2шт.

18

320693A1

PLUG

2шт.

19

238-6011

O-RING,0.07" Thk x 0.301" ID, -11, Cl 6, 90 Duro

2шт.

20

320679A1

SEAT, VALVE

2шт.

21

298596A1

BALL

2шт.

22

298597A1

ROLL PIN

roll

2шт.

23

320195A1

BACK-UP RING

WASHER

1шт.

24

N13313

SEAL,25.1mm ID x 26.7mm OD x 2.6mm Thk

1шт.

25

S301818

CAP

COLUMN, includes Ref. 26, component parts not serviced separately, not illustrated

1шт.

26

380-2612

12 PT SCREW,Flg, 3/8" - 16 x 3/4", Full Thd

Special, Not Illustrated

2шт.

27

320680A1

RIVET

used with P/N 320121A2, not illustrated

2шт.

Выбрано товаров: 35