Запчасти Case 621C (05-026) - HYDRAULICS STEERING, RETURN LINE AND COOLER, EUROPE ONLY (05) - STEERING

Схема запчастей Case 621C - (05-026) - HYDRAULICS STEERING, RETURN LINE AND COOLER, EUROPE ONLY (05) - STEERING
15
11
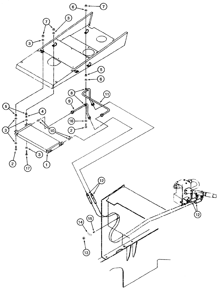
1
2
3
7
12
7
16
4
3
17
12
8
13
9
2
6
5
10
5
14
6
3
3
FIT
1:1
100%

Артикул

Название

Примечание

Количество

1

182649A1

COOLER, OIL

no longer available, Order: P/N L125999

1шт.

1

L125999

OIL COOLER

Replaces: P/N 182649A1

1шт.

2

827-10045

BOLT,Hex, M10 x 1.5 x 45mm, Cl 10.9

3шт.

3

895-15010

WASHER,11mm ID x 24mm OD x 2mm Thk

12шт.

4

143149A1

SPACER

2шт.

5

196504C1

BUSHING

5шт.

6

895-15010

WASHER,11mm ID x 24mm OD x 2mm Thk

2шт.

7

832-10410

NUT,M10 x 1.5, Cl 8

5шт.

8

515-23254

CLAMP,1", Insul, 3/8" Bolt

2шт.

9

313948A2

TUBE,25.4 mm OD, 426, 281 mm Length

1шт.

10

L128003

ADAPTER

1 PT x 1-5/16 or, Includes: P/N 237-6016

2шт.

237-6016

O-RING,0.116" Thk x 1.171" ID, -916, Cl 6, 90 Duro

1шт.

11

313925A2

TUBE

1шт.

12

279423A1

HOSE ASSY.

52-7/16 in, (1331 mm), attaches to P/N 277937A2 orifice valve block tube, See figures 8-15, 8-21

2шт.

13

832-10410

NUT,M10 x 1.5, Cl 8

1шт.

14

R34049

CLAMP

1шт.

15

A27328

SPACER

1шт.

16

895-11010

WASHER,11mm ID x 20mm OD x 2mm Thk

11 x 21 x 2 mm

1шт.

17

627-10065

BOLT,Hex, M10 x 1.5 x 65mm, Cl 10.9, Full Thd

Replaces P/N 827-10060

2шт.

Выбрано товаров: 19