Запчасти Case 721C (06-19) - TRANSMISSION - SENSOR, SPEED AND PUMP COVER (06) - POWER TRAIN

Схема запчастей Case 721C - (06-19) - TRANSMISSION - SENSOR, SPEED AND PUMP COVER (06) - POWER TRAIN
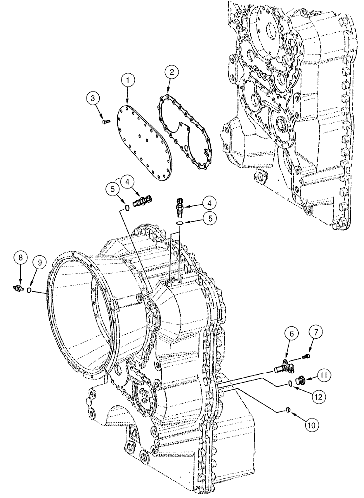
12
7
10
2
8
5
4
5
9
6
4
1
3
11
FIT
1:1
100%

Артикул

Название

Примечание

Количество

196173A1

REMAN-TRANSMISSION

Incl. See Figure 06-04, 06-20, 07-01

1шт.

196173A1R

REMAN-TRANSMISSION

721C CASE WHEEL LOADER

1шт.

196173A1C

CORE-TRANSMISSION

Return Number

1шт.

1

331307A1

COVER

Steering Pump

1шт.

2

331308A1

GASKET

1шт.

3

331309A1

CAPSCREW,M8 x 18mm

M8 x 18

23шт.

4

331324A1

SENSOR

Inductive Coupling

3шт.

5

S300495

O-RING,2mm Thk x 15mm ID

3шт.

6

331325A1

SENSOR

Speed

1шт.

7

331326A1

CAPSCREW,Flg, 5/16" - 18 x 2 3/4", Gr 8

1шт.

8

332207A1

SENSOR

Temperature, Incl. 9

1шт.

9

331332A1

O-RING

1шт.

10

641-3320

PLUG,M20, Conical

1шт.

11

129792A1

PLUG

18 x 1,5 mm, Incl. 12

1шт.

12

5300495

1шт.

Выбрано товаров: 15