Запчасти Case 721C (08-13) - HYDRAULICS - COUPLER LOCKING (08) - HYDRAULICS

Схема запчастей Case 721C - (08-13) - HYDRAULICS - COUPLER LOCKING (08) - HYDRAULICS
13
14
16
1
5
7
17
11
7
19
13
8
16
14b
13
21
4
14c
2
15
12
22
10
14a
6
13
9
20
23
18
3
FIT
1:1
100%

Артикул

Название

Примечание

Количество

Coupler Locking

1шт.

North America Only

1шт.

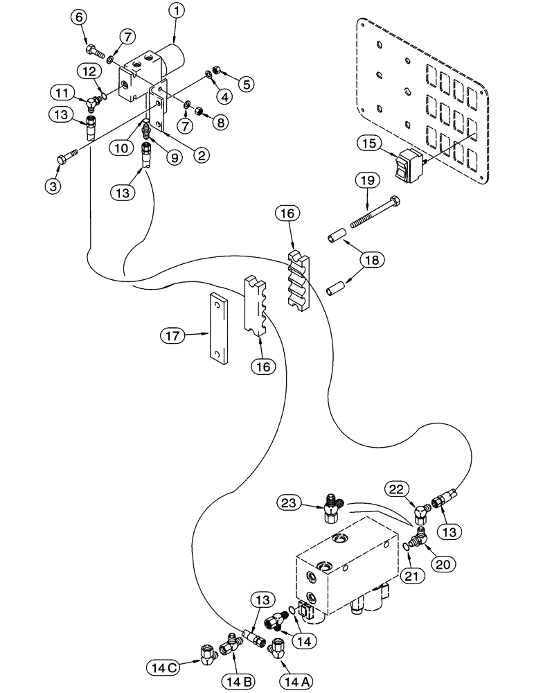
1

118857A1

VALVE

Coupler Locking, See Figure 08-36

1шт.

2

115784A1

BRACKET

1шт.

3

627-10035

BOLT,Hex, M10 x 1.5 x 35mm, Cl 10.9, Full Thd

Replaces 827-6030

2шт.

5

832-10410

NUT,M10 x 1.5, Cl 8

2шт.

6

827-6050

BOLT,Hex, M6 x 50mm, Cl 10.9

2шт.

7

895-11006

WASHER,6.6mm ID x 12mm OD x 1.6mm Thk

4шт.

8

832-10406

NUT,M6 x 1, Cl 8

2шт.

9

218-5057

HYD CONNECTOR,9/16" - 18 JIC x 9/16" - 18 ORB

Incl. 10

1шт.

11

218-5105

ELBOW,90 Degree Elbow, 9/16" - 18 Male JIC x 9/16" - 18 Male ORB

Incl. 12

1шт.

13

304514A1

HOSE ASSY.

2470 mm (97-1/4 in)

2шт.

14

218-5243

TEE,9/16" - 18 Male JIC x 9/16" - 18 Male JIC x 9/16" - 18 Male ORB

Incl. 237-6006

1шт.

14a

218-980

ELBOW,90 Degree, 9/16"-18, 37 Degree x 9/16"-18, 37 Degree Fem Sw

1шт.

14b

218-5222

TEE,37 Degree, 9/16"-18, x 9/16"-18, Fem Sw Run

1шт.

14c

218-980

ELBOW,90 Degree, 9/16"-18, 37 Degree x 9/16"-18, 37 Degree Fem Sw

1шт.

15

234208A1

SWITCH

Coupler, No Longer Available, Order 364444A1

1шт.

15

364444A1

SWITCH

Coupler, Replaces 234208A1

1шт.

16

L124271

FIXING BRACKET

4шт.

17

L124270

LARGE PLATE

PLATE, LARGE

2шт.

18

L126936

SPACER

4шт.

19

827-10130

BOLT,Hex, M10 x 1.5 x 130mm, Cl 10.9

Replaces 827-10120

4шт.

20

218-5105

ELBOW,90 Degree Elbow, 9/16" - 18 Male JIC x 9/16" - 18 Male ORB

Incl. 21

1шт.

22

218-980

ELBOW,90 Degree, 9/16"-18, 37 Degree x 9/16"-18, 37 Degree Fem Sw

1шт.

23

218-5222

TEE,37 Degree, 9/16"-18, x 9/16"-18, Fem Sw Run

Models with Coupler and Ride Control

1шт.

4

895-11010

WASHER,11mm ID x 20mm OD x 2mm Thk

11 x 21 x 2 mm

2шт.

10

237-6006

O-RING,0.078" Thk x 0.468" ID, -906, Cl 6, 90 Duro

1шт.

12

237-6006

O-RING,0.078" Thk x 0.468" ID, -906, Cl 6, 90 Duro

1шт.

21

237-6006

O-RING,0.078" Thk x 0.468" ID, -906, Cl 6, 90 Duro

1шт.

Выбрано товаров: 29