Запчасти Case 721C (08-27) - VALVE SECTION - LOADER BUCKET TILT (08) - HYDRAULICS

Схема запчастей Case 721C - (08-27) - VALVE SECTION - LOADER BUCKET TILT (08) - HYDRAULICS
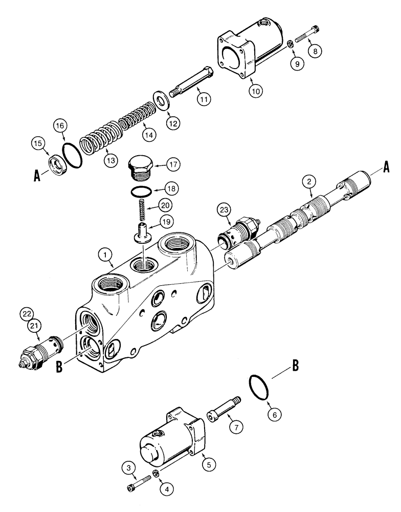
18
5
21
7
10
14
16
2
8
20
15
17
3
1
6
19
4
22
11
12
23
13
9
FIT
1:1
100%

Артикул

Название

Примечание

Количество

1978296C1

VALVE

Bucket Tilt, Incl. 1-23

1шт.

1

NSS

NOT SOLD SEPARAT

Housing

1шт.

2

NSS

NOT SOLD SEPARAT

Spool

1шт.

1978284C2

TAPPET

Spool Positioner, Spool End, Incl. 3 - 7, No Longer Available, Order 190016A1

1шт.

190016A1

TAPPET

Spool Positioner, Spool End, Incl. 3 - 7, Replaces 1978284C2

1шт.

3

326-424

BOLT,Hex, 1/4" - 20 x 1-1/2", Gr 8

4шт.

4

192-402

LOCK WASHER

1/4

4шт.

5

NSS

NOT SOLD SEPARAT

Cap

1шт.

6

238-5128

O-RING,0.103" Thk x 1.487" ID, -128, Cl 5, 75 Duro

1шт.

7

NSS

NOT SOLD SEPARAT

Bolt

1шт.

190017A1

TAPPET

Spool Positioner, Spring End, Incl. 8 - 16

1шт.

8

326-424

BOLT,Hex, 1/4" - 20 x 1-1/2", Gr 8

4шт.

9

192-402

LOCK WASHER

1/4

4шт.

10

NSS

NOT SOLD SEPARAT

Cap

1шт.

11

NSS

NOT SOLD SEPARAT

Bolt

1шт.

12

NSS

NOT SOLD SEPARAT

Spacer

1шт.

13

NSS

NOT SOLD SEPARAT

Spring

1шт.

14

NSS

NOT SOLD SEPARAT

Spring

1шт.

15

NSS

NOT SOLD SEPARAT

Spacer

1шт.

16

238-5128

O-RING,0.103" Thk x 1.487" ID, -128, Cl 5, 75 Duro

1шт.

102204A1

SET

Plug, Load Check, Incl. 17 - 20

1шт.

17

NSS

NOT SOLD SEPARAT

Plug

1шт.

18

237-6014

O-RING,0.116" Thk x 1.048" ID, -914, Cl 6, 90 Duro

1шт.

19

NSS

NOT SOLD SEPARAT

Poppet, Valve

1шт.

20

NSS

NOT SOLD SEPARAT

Spring

1шт.

21

102211A1

VALVE

Circuit Relief and Anticavitation, With Flat Screen on Poppet, Production Only, For Service Order 102210A1

1шт.

22

102210A1

VALVE

Circuit Relief and Anticavitation, With Flat Screen on Poppet, Service Replacement, See Figure 08-30, See Your Service Manual For Proper Pressure Setting

1шт.

23

1978297C2

VALVE

Circuit Relief, See Figure 08-31, No Longer Used, Order 121005A1

1шт.

23

121005A1

VALVE

Circuit Relief, See Figure 08-31, Replaces 1978297C2

1шт.

Выбрано товаров: 29