Запчасти Case 721C (09-18) - GUARD, RADIATOR - GRILLE (09) - CHASSIS

Схема запчастей Case 721C - (09-18) - GUARD, RADIATOR - GRILLE (09) - CHASSIS
20
4
15
1
14
21
16
21
7
18
22
10
19
18
5
3
2
23
13
5
6
20
17
9
11
12
8
FIT
1:1
100%

Артикул

Название

Примечание

Количество

North America Only

1шт.

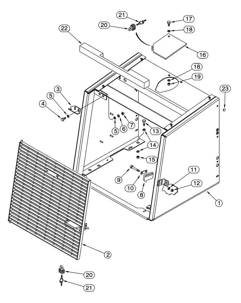
1

284347A1

SHEET

Radiator, No Longer Available, Order 284347A2

1шт.

1

284347A2

SHEET

Radiator, Replaces 284347A1

1шт.

2

284745A1

GRILLE ASSY

1шт.

3

L118936

SUPPORT

Grille Support

1шт.

6

892-11010

LOCK WASHER,M10

2шт.

7

829-1410

NUT,M10 x 1.5, Cl 10.9

2шт.

8

L126920

LATCH

Grille

1шт.

9

827-10040

BOLT,Hex, M10 x 1.5 x 40mm, Cl 10.9, Full Thd

2шт.

10

L126841

LARGE PLATE

PLATE, LARGE Catch

1шт.

11

496-81003

WASHER,10.31mm ID x 26.98mm OD x 3.07mm Thk

2шт.

12

832-10410

NUT,M10 x 1.5, Cl 8

2шт.

13

627-16050

BOLT,Hex, M16 x 2 x 50mm, Cl 10.9, Full Thd

4шт.

14

896-15016

WASHER,17.5mm ID x 34mm OD x 5mm Thk

8шт.

15

832-10416

NUT,M16 x 2, Cl 8

4шт.

16

L126779

LARGE PLATE

PLATE, LARGE Lockup, Radiator

1шт.

19

832-10410

NUT,M10 x 1.5, Cl 8

1шт.

20

D93753

PADLOCK

Incl. Keys, Incl. 21

2шт.

21

D93751

SET OF 2 KEYS

Yale Lock, If Used

2шт.

21

R29555

KEY

Master Lock, If Used

2шт.

22

L127462

SEAL

730 mm (28-3/4 in), Radiator Guard To Hood

1шт.

23

L126856

RIVET

Rubber

6шт.

4

627-10030

BOLT,Hex, M10 x 1.5 x 30mm, Cl 10.9, Full Thd

2шт.

17

627-10030

BOLT,Hex, M10 x 1.5 x 30mm, Cl 10.9, Full Thd

1шт.

5

895-15010

WASHER,11mm ID x 24mm OD x 2mm Thk

4шт.

18

895-15010

WASHER,11mm ID x 24mm OD x 2mm Thk

2-3шт.

Выбрано товаров: 26