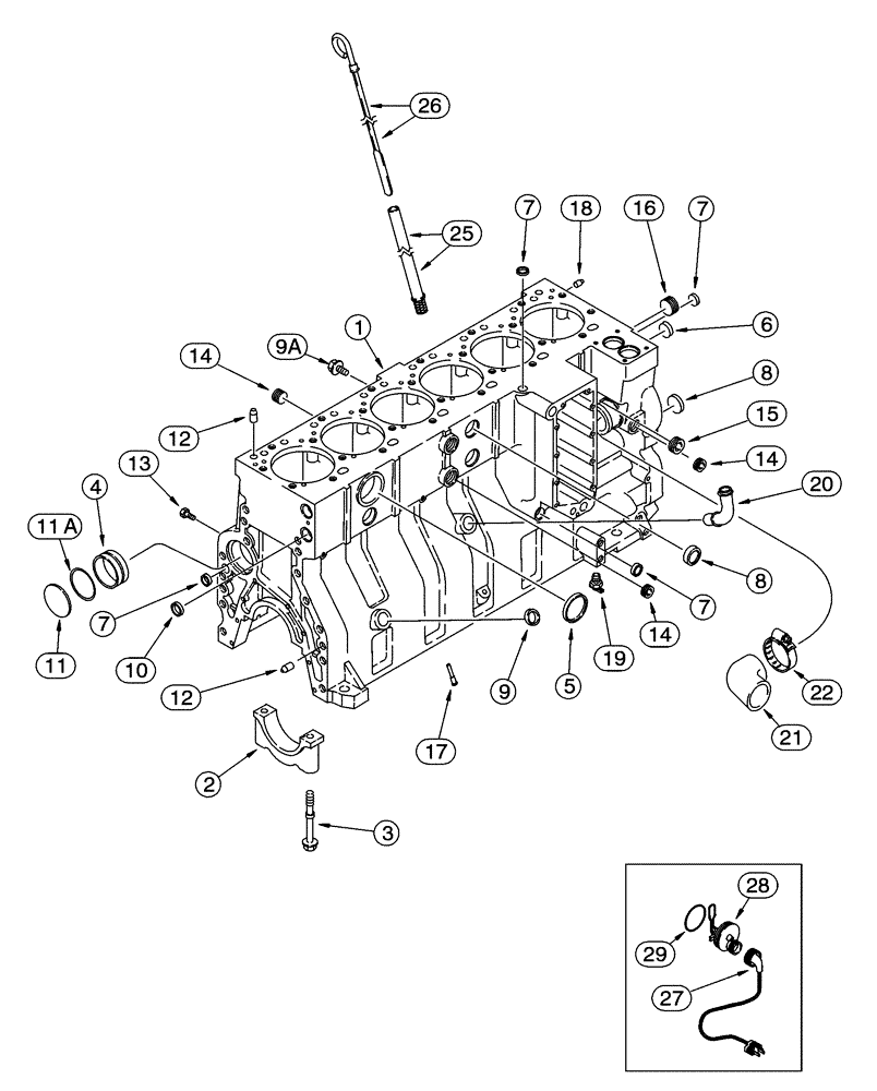
Запчасти Case 721C (02-22A) - CYLINDER BLOCK - 6T-830 EMISSIONS CERTIFIED ENGINE, EUROPE ONLY (02) - ENGINE

Схема запчастей Case 721C - (02-22A) - CYLINDER BLOCK - 6T-830 EMISSIONS CERTIFIED ENGINE, EUROPE ONLY (02) - ENGINE
9a
17
7
11a
7
20
27
29
9
11
2
8
8
18
19
10
3
6
16
14
13
7
22
4
28
21
12
7
26
25
12
5
1
15
14
14
FIT
1:1
100%

Артикул

Название

Примечание

Количество

296652A1

Engine Assy. Complete Engine Less: Starter, Alternator, Fan, Fan Belt, Air Cleaner, Muffler and Exhaust Pipe

1шт.

199985A1

BASIC ENGINE

Less: Starter, Alternator, Fan, Fan Belt, Air Cleaner, Muffler, Exhaust Manifold, Flywheel and Housing, Oil Fill and Dipstick, Fuel Injection Pump, Injectors and Lines, Front Pulley, Belt Tensioner, Turbocharger

1шт.

J934600

SKELETON ENGINE

Short, With: Stripped Block, Pistons, Connecting Rods and Bearings, Crankshaft and Bearings, Consists Of 1 - 19

1шт.

1

J934900

SHORT ENGINE

Stripped, Incl. 2 - 8

1шт.

2

J917313

BEARING CAP

7шт.

3

J916369

FLANGE BOLT,Hex, M14 x 2 x 128mm, Cl 10.9

14шт.

4

J943199

BUSHING

See Page(s) 2-59

7шт.

5

A77782

PLUG

58 mm

1шт.

6

A77586

PLUG

28.9 mm

1шт.

7

A77506

PLUG

21 mm

4шт.

8

J905401

PLUG

35 mm

4шт.

9

J920706

PLUG

22 mm, Not Used

1шт.

10

A77530

PLUG

30 mm, Not Used

2шт.

11

41-3044

PLUG,Exp, 2 3/4"

(70 mm)

1шт.

11a

J926048

O-RING,0.07" Thk x 2.614" ID, -38, Cl 5, 75 Duro

66 mm ID

1шт.

12

J901846

PIN,12.01mm OD x 24mm L

4шт.

13

J906619

PLUG,1/8" - 27

1/8 PT

6шт.

14

A77429

PLUG

1/2 PT

4шт.

15

A77505

PLUG

3/4 PT

2шт.

16

A77533

PLUG

1 PT

1шт.

17

J928031

NOZZLE,8.5mm OD x 30mm L

12шт.

18

J900257

PIN,10.01mm OD x 16mm L

16 mm

2шт.

19

217-103

COCK, DRAIN

1/4" PT

1шт.

20

J903744

PIPE FITTING,22.42 mm ID x 28 mm OD x 90.2, 64 mm L

Not Used

1шт.

21

J920762

ELBOW

79 mm (3-1/8 in)

1шт.

22

J918521

HOSE CLAMP,59mm - 83mm

1-13/16 - 2-3/4

1шт.

25

J905779

TUBE,9.52 mm OD x 228 mm L

1шт.

26

J908773

DIPSTICK,485.3mm L

Engine Block Heater

1шт.

A77665

SET OF PARTS

240V, Incl. 27- 29

1шт.

27

J913112

WIRE HARNESS

305 mm (12")

1шт.

28

NSS

NOT SOLD SEPARAT

Element

1шт.

29

J910517

O-RING

1шт.

A77913

PACKAGE, REPAIR

Engine Block, Not Illustrated, Incl. 30 - 37

1шт.

30

A77912

PACKAGE, REPAIR

See Figure 02-25

6шт.

31

A77563

BEARING SET

See Figure 02-25

6шт.

32

J901597

PIN

See Figure 02-25

6шт.

33

A77711

BEARING LINER

See Figure 02-23, No Longer Used, Order J945930

6шт.

33

J945930

BEARING SET

See Figure 02-23, Replaces A77711

6шт.

34

A77843

BEARING LINER

See Figure 02-23, No Longer Used, Order J945929

1шт.

34

J945929

THRUST BEARING

See Figure 02-23, Replaces A77843

1шт.

35

A77872

GASKET KIT

Order A77872

1шт.

36

J931019

GASKET

See Figure 02-18, No Longer Used, Order J935585

1шт.

36

J935585

GASKET

See Figure 02-18, Replaces J931019

1шт.

37

A77679

GASKET KIT

See Figure 02-16, No Longer Used, Order A77999

1шт.

37

A77999

GASKET KIT

See Figure 02-16

1шт.

Выбрано товаров: 45