Запчасти Case 821C (05-02) - VALVE ASSY STEERING CONTROL (05) - STEERING

Схема запчастей Case 821C - (05-02) - VALVE ASSY STEERING CONTROL (05) - STEERING
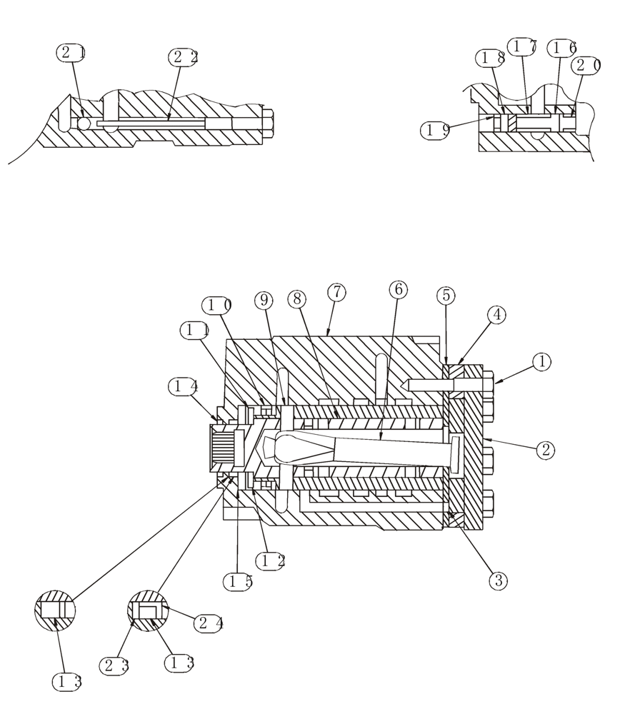
4
14
15
3
23
2
22
9
6
21
7
12
19
5
8
16
24
13
17
1
20
13
18
11
10
FIT
1:1
100%

Артикул

Название

Примечание

Количество

284103A1

VALVE, CONTROL

Steering, Includes Steering Column, Consists Of 320228A1, REF 1 - 26, No Longer Available, Order 284103A2

1шт.

284103A2

VALVE, CONTROL

Steering, Includes Steering Column, Consists Of 320228A2, REF 1 - 27

1шт.

320228A1

VALVE, CONTROL

Steering, Does Not Include Steering Column, Consists Of 1 - 24, No Longer Available, Order 320228A2

1шт.

320228A2

VALVE, CONTROL

Steering, Does Not Include Steering Column, Consists Of 1 - 24, 27

1шт.

1

298584A1

BOLT

7шт.

2

298585A1

CAP

1шт.

3

298587A1

SEAL

3шт.

4

298588A1

ROTOR

1шт.

5

298589A1

SPACER

1шт.

6

320667A1

DRIVE

1шт.

7

NSS

NOT SOLD SEPARAT

Housing

1шт.

8

NSS

NOT SOLD SEPARAT

Sleeve

1шт.

9

298591A1

PIN

1шт.

10

298592A1

SPRING

Used With 284103A1

1шт.

10

399331A1

SPRING

Used With 284103A2

1шт.

11

298593A1

NEEDLE BEARING

1шт.

12

298594A1

BEARING CUP

2шт.

13

238-5121

O-RING,0.103" Thk x 1.049" ID, -121, Cl 5, 75 Duro

1шт.

14

18-137

OIL SEAL

Replaces 320196A1, Used With 284103A1

1шт.

14

400210A1

SEAL

Used With 284103A2

1шт.

15

298595A1

RING

1шт.

16

320678A1

VALVE POPPET

2шт.

17

320677A1

SPRING

2шт.

18

320693A1

PLUG

2шт.

298612A1

SEAL KIT

Consists Of 3, 13, 23, 24, Used With 284103A1

1шт.

399334A1

SEAL KIT

Component Parts Not Serviced Separately, Used With 284103A2, Not Illustrated

1шт.

19

238-6011

O-RING,0.07" Thk x 0.301" ID, -11, Cl 6, 90 Duro

2шт.

20

320679A1

SEAT, VALVE

2шт.

21

298596A1

BALL

2шт.

22

298597A1

ROLL PIN

2шт.

23

50-2703T1

BACK-UP RING

Replaces 320195A1

1шт.

24

N13313

SEAL,25.1mm ID x 26.7mm OD x 2.6mm Thk

1шт.

25

S301818

CAP

Includes 26, Component Parts Not Serviced Separately, Used With 284103A1, Not Illustrated

1шт.

25

L100706

CAP

Includes 26, Component Parts Not Serviced Separately, Used With 284103A2, Not Illustrated

1шт.

26

380-2612

12 PT SCREW,Flg, 3/8" - 16 x 3/4", Full Thd

Not Illustrated

2шт.

27

320680A1

RIVET

Used With 284103A2, Not Illustrated

2шт.

298612A1

SEAL KIT

Consists Of 3, 13, 23, 24, Used With 284103A1

1шт.

399334A1

SEAL KIT

Component Parts Not Serviced Separately, Used With 284103A2, Not Illustrated

1шт.

Выбрано товаров: 38