Запчасти Case 821C (08-45) - HYDRAULICS LOADER CONTROL, REMOTE (08) - HYDRAULICS

Схема запчастей Case 821C - (08-45) - HYDRAULICS LOADER CONTROL, REMOTE (08) - HYDRAULICS
1
4
1a
2
5
10
9
5
10
11
12
9
5
4
7
6
8
5
4
11
2
FIT
1:1
100%

Артикул

Название

Примечание

Количество

.

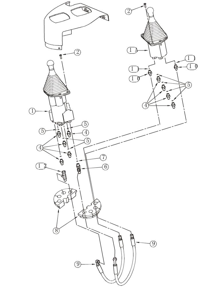
Dual Lever With Four Spool Valve

1шт.

.

If Used

1шт.

1

292085A1

VALVE

Single Lever Remote, Two Spool

1шт.

1a

299238A1

VALVE

Auxiliary, Single Lever Remote, Two Spool, See Page(s) 8-181

1шт.

2

840-1620

SCREW,Pan, M6 x 20mm, Cl 4.8

8шт.

4

218-5057

HYD CONNECTOR,9/16" - 18 JIC x 9/16" - 18 ORB

Incl. 5

9шт.

.

Note: See page 8-127 for a continuation of the circuit from the hose grommet to the loader valve

1шт.

.

Nota : Voir la page 8 -127 pour la suite du circuit du passe-fil de conduite à la soupape de charge.

1шт.

.

Nota: Consultar la página 8-127 para la continuación del circuito desde la junta de goma de la manguera hasta la válvula de carga.

1шт.

.

Note: See page 9-143 for the console cover

1шт.

.

Nota : Voir la page 9 - 143 pour le couvercle de la console.

1шт.

.

Nota: Consultar la página 9-143 para la cubierta de la consola.

1шт.

.

Dual Lever With Four Spool Valve

1шт.

6

218-5243

TEE,9/16" - 18 Male JIC x 9/16" - 18 Male JIC x 9/16" - 18 Male ORB

Includes 7

1шт.

8

232388A1

GROMMET

2шт.

9

300016A1

HOSE ASSY.

483 mm (19-1/16 in)

2шт.

10

218-5089

HYD CONNECTOR,7/16" - 20 Male JIC x 9/16" - 18 Male ORB

Incl. 11

2шт.

12

218-5222

TEE,37 Degree, 9/16"-18, x 9/16"-18, Fem Sw Run

1шт.

.

Note: See page 8-127 for a continuation of the circuit from the hose grommet to the loader valve

1шт.

.

Nota : Voir la page 8 -127 pour la suite du circuit du passe-fil de conduite à la soupape de charge.

1шт.

.

Nota: Consultar la página 8-127 para la continuación del circuito desde la junta de goma de la manguera hasta la válvula de carga.

1шт.

.

Note: See page 9-143 for the console cover

1шт.

.

Nota : Voir la page 9 - 143 pour le couvercle de la console.

1шт.

.

Nota: Consultar la página 9-143 para la cubierta de la consola.

1шт.

5

237-6006

O-RING,0.078" Thk x 0.468" ID, -906, Cl 6, 90 Duro

1шт.

7

237-6006

O-RING,0.078" Thk x 0.468" ID, -906, Cl 6, 90 Duro

1шт.

11

237-6006

O-RING,0.078" Thk x 0.468" ID, -906, Cl 6, 90 Duro

1шт.

Выбрано товаров: 27