Запчасти Case 821C (09-81) - NUMBER PLATE (09) - CHASSIS

Схема запчастей Case 821C - (09-81) - NUMBER PLATE (09) - CHASSIS
5
4
3
2
1
FIT
1:1
100%

Артикул

Название

Примечание

Количество

Europe Only

1шт.

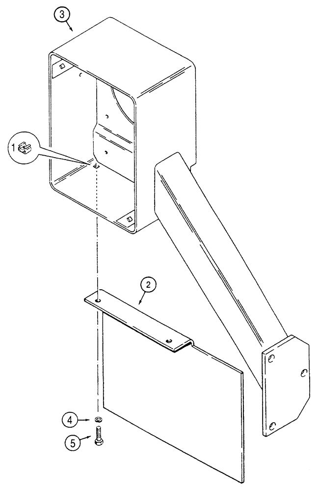
1

231-1445

NUT,5/16"-18, GB

2шт.

2

E134472

LARGE PLATE

PLATE, LARGE , Number Plate

1шт.

3

E132216

SUPPORT

Front Lamp, Left Hand, No Longer Used, Order 349448A2

1шт.

3

349448A2

SUPPORT

Front Lamp, Left Hand, Replaces E132216, 349448A1

1шт.

4

495-21038

WASHER,5/16"

(flat, 3/8 x 7/8 x 3/32")

2шт.

5

426-516

BOLT,Hex, 5/16" - 18 x 1", Gr 8

2шт.

Выбрано товаров: 7