Запчасти Case 821C (04-20) - ALTERNATOR MOUNTING (04) - ELECTRICAL SYSTEMS

Схема запчастей Case 821C - (04-20) - ALTERNATOR MOUNTING (04) - ELECTRICAL SYSTEMS
7
5
1
14
8
12
15
13
6
3
4
9
2
13
11
10
FIT
1:1
100%

Артикул

Название

Примечание

Количество

*

All North American Models

1шт.

*

European Models -JEE0126215

1шт.

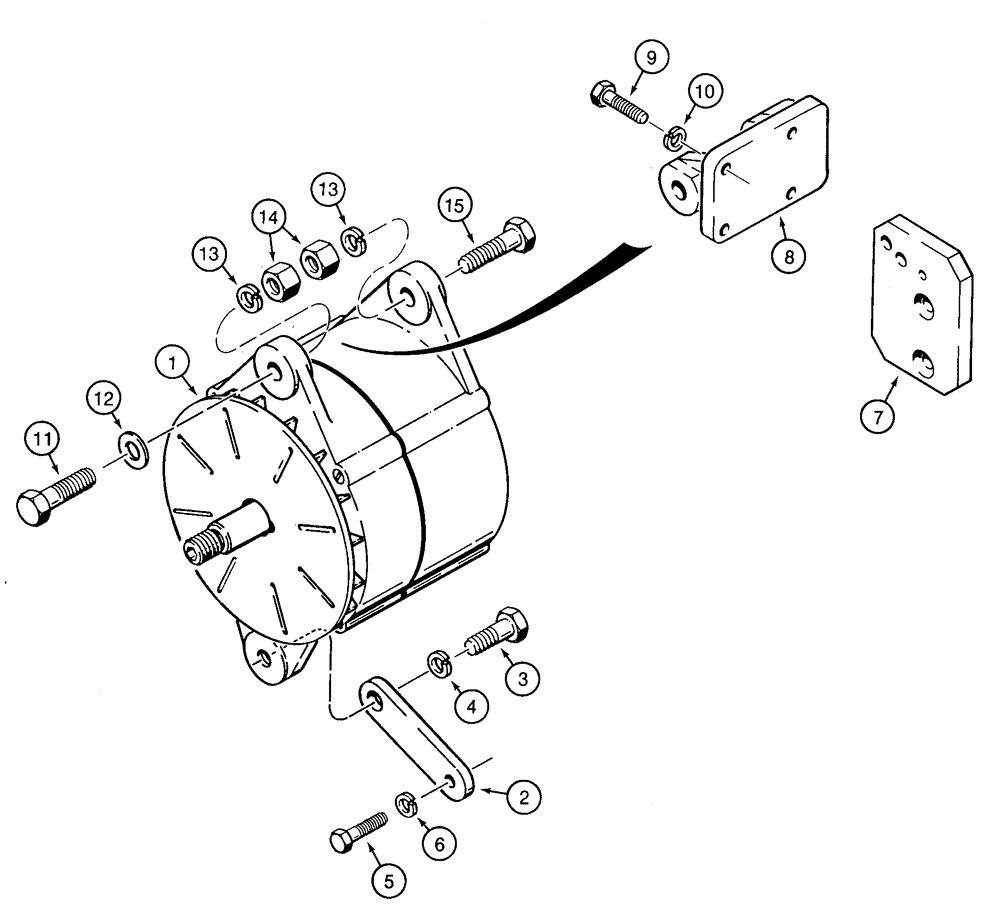
1

1964860C1

ALTERNATOR,24V, 60A, W/O Pulley

24V, 65 amp, See Page(s) 4-3

1шт.

1

1964860C1GV

ALTERNATOR

Value

1шт.

1

1964860C1R

REMAN-ALTERNATOR

821C CASE WHEEL LOADER (S/N JEE0155000 & BEFORE), 24V, 65 amp, ALTERNATOR MOUNTING

1шт.

1

1964860C1C

CORE-ALTERNATOR

Return Number

1шт.

2

90-8055T1

SUPPORT

Supplied With Engine

1шт.

3

426-820

BOLT,Hex, 1/2" - 13 x 1-1/4", Gr 8

1шт.

4

80679

LOCK WASHER,1/20.507 CST ZND

1шт.

5

614-8030

BOLT,Hex, M8 x 1.25 x 30mm, Cl 8.8, Full Thd

1шт.

6

892-11008

LOCK WASHER,8mm ID

1шт.

7

J925188

SUPPORT

Supplied With Engine

1шт.

8

J918544

SUPPORT

Supplied With Engine

1шт.

9

614-8030

BOLT,Hex, M8 x 1.25 x 30mm, Cl 8.8, Full Thd

Supplied with Engine

4шт.

10

892-11008

LOCK WASHER,8mm ID

Supplied with Engine

4шт.

11

814-12050

BOLT,Hex, M12 x 1.75 x 50mm, Cl 8.8

1шт.

12

895-11012

WASHER,13.5mm ID x 24mm OD x 2.5mm Thk

1шт.

13

892-11012

LOCK WASHER,M12

2шт.

14

829-1412

NUT,M12, Cl 10.9

Replaces 829-1412

2шт.

15

814-12070

BOLT,Hex, M12 x 1.75 x 70mm, Cl 8.8

1шт.

*

Note: See page 4-45 for plastic and rubber boots at alternato

1шт.

*

Nota : Voir les pages 4 - 45 pour les capuchons en caoutchouc et en plastique sur l'alternateur

1шт.

*

Nota: Ver página 4-45 para botas de goma o plástico en el alternador

1шт.

Выбрано товаров: 23