Запчасти Case 821C (08-10A) - HYDRAULICS - COUPLER LOCKING (08) - HYDRAULICS

Схема запчастей Case 821C - (08-10A) - HYDRAULICS - COUPLER LOCKING (08) - HYDRAULICS
13
19
14
12
8
7
9
10
21
7
14c
6
16
14b
1
13
14a
13
20
17
18
22
16
11
15
23
FIT
1:1
100%

Артикул

Название

Примечание

Количество

COUPLER LOCKING

1шт.

NORTH AMERICA ONLY

1шт.

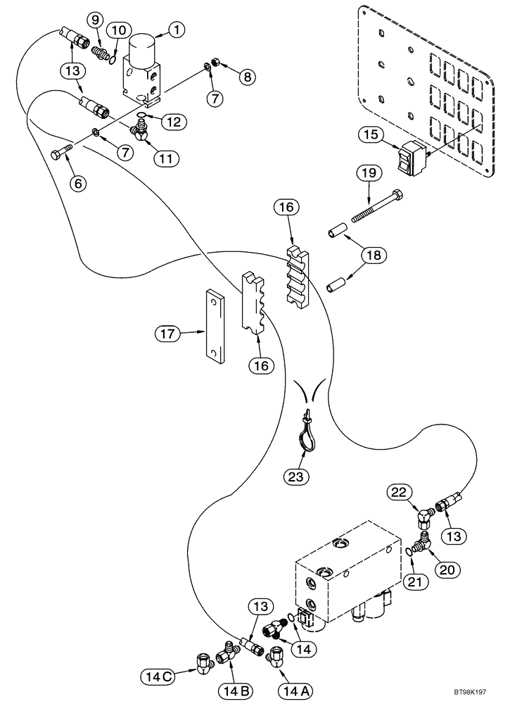
1

118857A1

VALVE

1шт.

Coupler Locking

1шт.

See Figure 08-11C

1шт.

6

827-6050

BOLT,Hex, M6 x 50mm, Cl 10.9

2шт.

7

895-11006

WASHER,6.6mm ID x 12mm OD x 1.6mm Thk

4шт.

8

832-10406

NUT,M6 x 1, Cl 8

2шт.

9

218-5057

HYD CONNECTOR,9/16" - 18 JIC x 9/16" - 18 ORB

1шт.

Incl. 10

1шт.

11

218-5105

ELBOW,90 Degree Elbow, 9/16" - 18 Male JIC x 9/16" - 18 Male ORB

9/16 fl x Or

1шт.

Incl. 12

1шт.

13

304514A1

HOSE ASSY.

2470 mm (97-1/4 in)

2шт.

14

218-5243

TEE,9/16" - 18 Male JIC x 9/16" - 18 Male JIC x 9/16" - 18 Male ORB

1шт.

Incl. 237-6006

1шт.

14a

218-980

ELBOW,90 Degree, 9/16"-18, 37 Degree x 9/16"-18, 37 Degree Fem Sw

1шт.

14b

218-5222

TEE,37 Degree, 9/16"-18, x 9/16"-18, Fem Sw Run

1шт.

14c

218-980

ELBOW,90 Degree, 9/16"-18, 37 Degree x 9/16"-18, 37 Degree Fem Sw

1шт.

15

364444A1

SWITCH

1шт.

Coupler

1шт.

16

L124271

FIXING BRACKET

4шт.

17

L124270

LARGE PLATE

PLATE, LARGE

2шт.

18

L126936

SPACER

4шт.

19

827-10130

BOLT,Hex, M10 x 1.5 x 130mm, Cl 10.9

4шт.

20

218-5105

ELBOW,90 Degree Elbow, 9/16" - 18 Male JIC x 9/16" - 18 Male ORB

9/16 fl x Or

1шт.

Incl. 21

1шт.

22

218-980

ELBOW,90 Degree, 9/16"-18, 37 Degree x 9/16"-18, 37 Degree Fem Sw

1шт.

23

L18337

CABLE TIE,9.95"-12.1" lg

CABLE STRAP 15 in

1шт.

10

237-6006

O-RING,0.078" Thk x 0.468" ID, -906, Cl 6, 90 Duro

1шт.

12

237-6006

O-RING,0.078" Thk x 0.468" ID, -906, Cl 6, 90 Duro

1шт.

21

237-6006

O-RING,0.078" Thk x 0.468" ID, -906, Cl 6, 90 Duro

1шт.

Выбрано товаров: 31