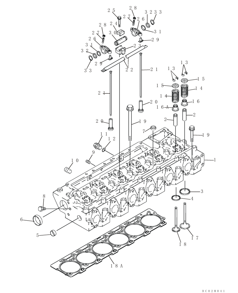
Запчасти Case 821C (02-18) - CYLINDER HEAD - VALVE MECHANISM (02) - ENGINE

Схема запчастей Case 821C - (02-18) - CYLINDER HEAD - VALVE MECHANISM (02) - ENGINE
2
21
16a
20
22
30
27
19
26
16
26
29
8
3
28
bc02m041
23
13
21
28
15
1
14
20
14
15
31
32
27
19
9
13
5
29
31
18
7
25
6
11
2
18a
10
33
33
17
32
12
4
24
FIT
1:1
100%

Артикул

Название

Примечание

Количество

REF

INSTRUCTION

6TAA-830 EMISSIONS CERTIFIED ENGINE

1шт.

86990822

HEAD

Cylinder; With Valves; Incl. 1 - 18

1шт.

84262945R

REMAN-CYLINDER HEAD

821C S/N JEE0155001 & After, Reman For New P/N 86990822

1шт.

84262945C

CORE-CYLINDER HEAD

Return Number

1шт.

86990827

REMAN-CYLINDER HEAD

Cylinder; With Valves; Remanufactured

1шт.

86990828

CORE-CYLINDER HEAD

Cylinder; With Valves; Return Number

1шт.

1

J936180

HEAD ASSY.

Cylinder; Without Valves; Incl. 2 - 7

1шт.

2

J923564

VALVE GUIDE

12шт.

3

J924582

INSERT

Intake

6шт.

3

J925468

SEAT, VALVE

Intake; Oversize 0,25 mm

6шт.

3

J925470

SEAT, VALVE

Intake; Oversize 0,50 mm

6шт.

4

J929005

INSERT

Exhaust

6шт.

4

J929006

INSERT

Exhaust; Oversize 0,25 mm

6шт.

4

J929007

INSERT

Exhaust; Oversize 0,50 mm

6шт.

5

J920443

PLUG

30 mm

1шт.

6

A77782

PLUG

58 mm

2шт.

7

41-1616

PLUG,Cup, 1", Stainless

5шт.

8

A77534

PLUG

1/16 PT; If Used

1шт.

8

217-426

PLUG,Hex Soc, 1/16" - 27 NPTF

If Used

1шт.

9

217-432

PLUG,Hex Soc, 1/4" - 18 NPTF

1шт.

10

217-438

PLUG,Hex Soc, 1/2" - 14 NPTF

1шт.

11

J924148

PLUG,M22 x 1.5

M22

2шт.

12

J902425

SEALING WASHER,22.2mm ID x 26.9mm OD x 1.75mm Thk

2шт.

13

J901177

VALVE

24шт.

14

J906412

VALVE SPRING

12шт.

15

J912976

RETAINER

12шт.

16

J915707

SEAL

Valve; If Used

6шт.

16a

J927642

SEAL

Exhaust; Valve

6-12шт.

17

J924492

STD INLET VALVE

STD ENGINE INLET VALVE

6шт.

18

J921444

STD EXHAUST VALVE

STD ENGINE EXHAUST VALVE

6шт.

18a

J938267

CYLINDER HEAD GASKET,2.01mm Thk

See Figure 02-15, REF 8

1шт.

19

J917728

BOLT

160 mm

14шт.

19

J917729

BOLT,Flng, M14 x 80mm

80 mm

12шт.

20

J931623

TAPPET

12шт.

21

J905194

PUSH ROD

12шт.

22

J919677

TUBE

1шт.

J934921

ROCKER ARM

Incl. 23 - 33

6шт.

23

J905870

SUPPORT

1шт.

24

J901693

CLAMP

1шт.

25

868-10065

12 PT SCREW,M10 x 65mm, Cl 12.9

2шт.

26

J901717

ROCKER

Incl. 27 - 29

2шт.

27

J934086

ADJUSTMENT SCREW,3/8" - 24 x 29.85mm

1шт.

28

A77902

NUT

3/8 - 24 NF

1шт.

29

NSS

NOT SOLD SEPARAT

Insert

1шт.

30

J919435

SHAFT

1шт.

31

J906100

SPRING CUP

2шт.

32

J907206

WASHER,22.5mm ID x 30mm OD x 1mm Thk

2шт.

33

100-1187

SNAP RING,#87, Ext

2шт.

Выбрано товаров: 48